GM Service Manual Online
For 1990-2009 cars only
Makes
🢒
Buick
🢒
1999
🢒
LeSabre
🢒
Steering
🢒
Steering Wheel and Column - Tilt
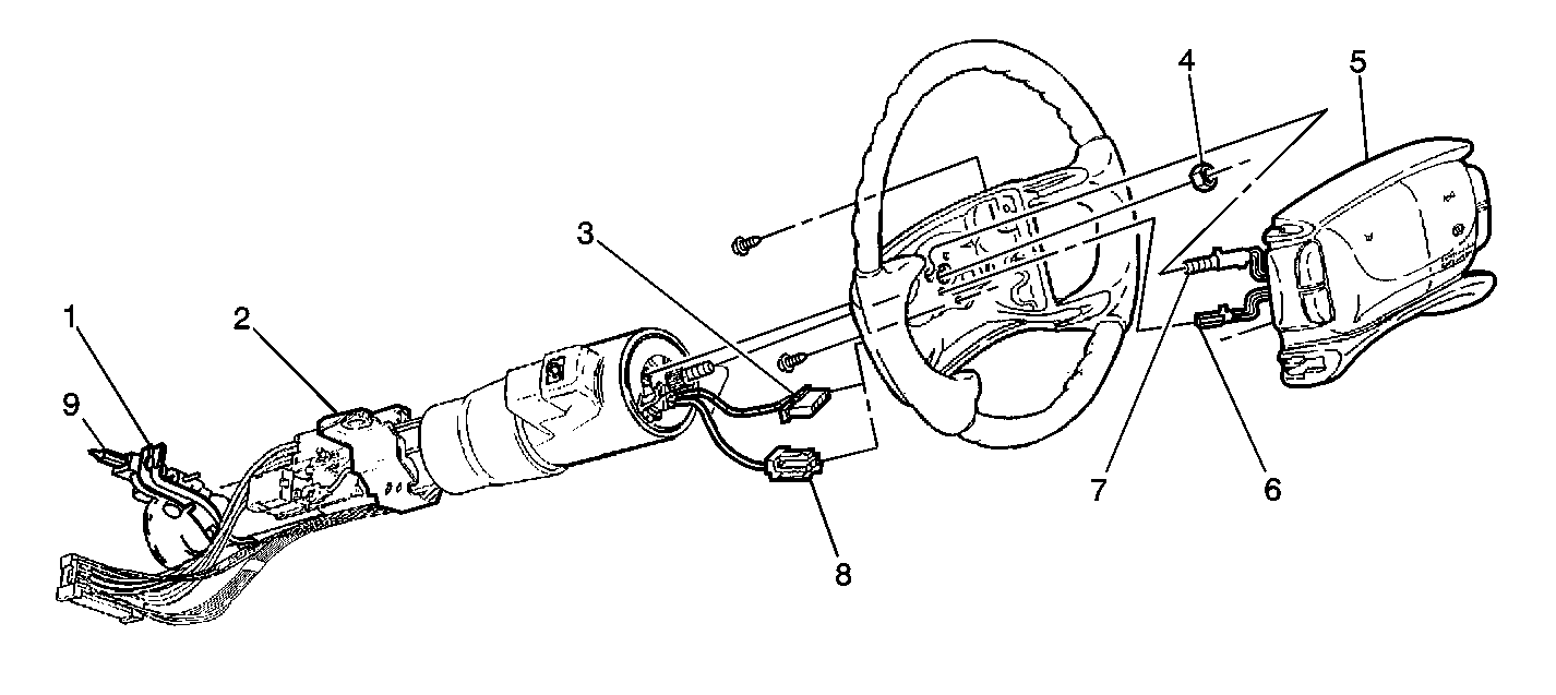
🢒 Steering Wheel and Column Description
The steering wheel and column contain the following primary components:
•
Steering wheel
•
Inflator module (5)
•
Steering wheel control switches
•
Steering column
•
Brackets