GM Service Manual Online
For 1990-2009 cars only

    Object Number: 331068  Size: SH
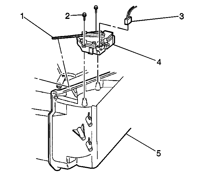
  1. Remove the temperature valve link rod (1) from the temperature valve by snapping the rod out of the valve.
  2. Start the vehicle. Make the following settings:
  3. • Set the fan to position IIII (HIGH).
    • Set the temperature to full hot.
  4. Allow 45 seconds minimum for the A/C temperature valve actuator (4) to move to the full hot position.
  5. Move the temperature valve to the full hot position.
  6. Snap the temperature valve link rod into the temperature valve.