GM Service Manual Online
For 1990-2009 cars only

    Object Number: 204694  Size: SH
  1. Turn the steering wheel in order to ensure that the vehicle's wheels point straight ahead.
  2. Turn the ignition switch to the OFF position.
  3. Remove the key from the ignition switch.
  4. Important: With the AIR BAG Fuse removed and the ignition switch in the RUN position, the AIR BAG warning lamp illuminates. This is normal operation, and does not indicate an SIR system malfunction.

  5. Remove the AIR BAG Fuse from the IP fuse block.
  6. Remove the left sound insulator. Refer to Instrument Panel Insulator Panel Replacement - Left Side in Instrument Panel, Gauges and Console.

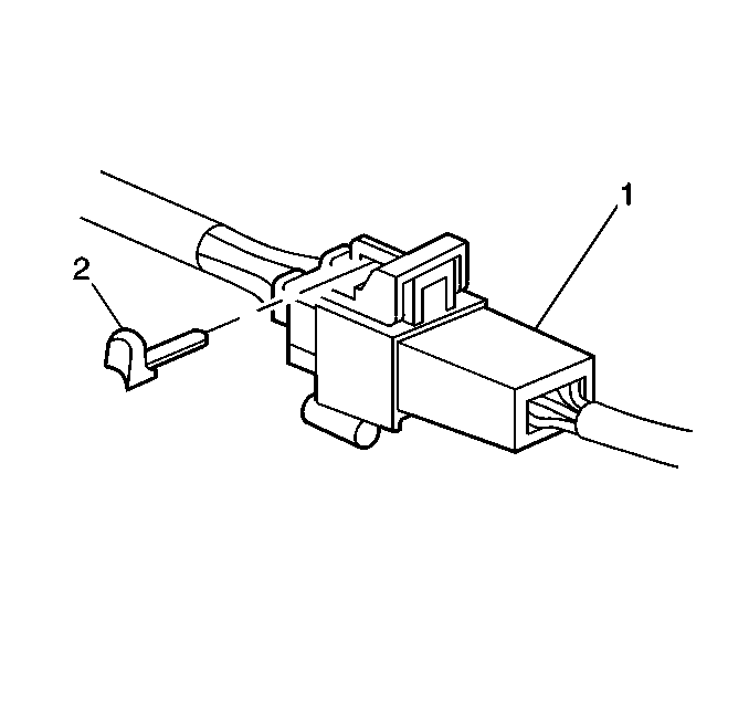
  7. Object Number: 204604  Size: SH
  8. Remove the connector position assurance (CPA) (3) from the inflatable restraint steering wheel yellow 2-way connector (1). The 2-way connector is located at the base of the steering column.

  9. Object Number: 204605  Size: SH
  10. Disconnect the inflatable restraint steering wheel yellow 2-way connector (1,3). This connector is located at the base of the steering column.

  11. Object Number: 204656  Size: SH
  12. Remove the right sound insulator (3). Refer to Instrument Panel Insulator Panel Replacement - Right Side in Instrument Panel, Gauges and Console.
  13. Locate the inflatable restraint IP module yellow 2-way connector (2) (Pontiac).

  14. Object Number: 204653  Size: SH
  15. Locate the inflatable restraint IP module yellow 2-way connector (2) (Buick).

  16. Object Number: 204657  Size: SH
  17. Locate the inflatable restraint IP module yellow 2-way connector (3) (Oldsmobile).

  18. Object Number: 142202  Size: SH
  19. Remove the connector position assurance (CPA) (2) from the inflatable restraint IP module yellow 2-way connector (1). The connector is located above the right sound insulator.

  20. Object Number: 215549  Size: SH
  21. Disconnect the inflatable restraint IP module yellow 2-way connector (2) from the harness connector (1). The connector is located above the right sound insulator.