GM Service Manual Online
For 1990-2009 cars only

Disassembly Procedure

Tools Required

J 23653-SIR Lock Plate Compressor

  1. Remove the SIR coil assembly. Refer to Inflatable Restraint Steering Wheel Module Coil Disassemble - Off Vehicle .

  2. Object Number: 343722  Size: SH
  3. Remove the wave washer.

  4. Object Number: 343728  Size: SH
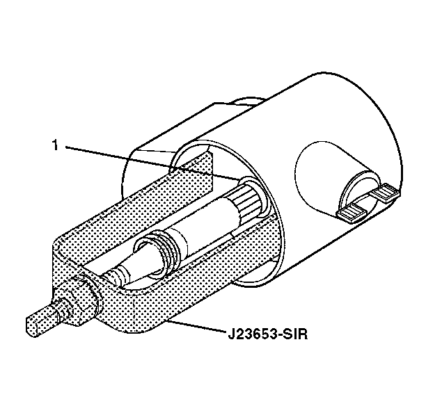
  5. Compress the shaft lock using J 23653-SIR .
  6. Remove and discard the bearing retainer (1) using J 23653-SIR .
  7. Remove J 23653-SIR from the steering shaft assembly.

  8. Object Number: 344003  Size: SH
  9. Remove the shaft lock (1).
  10. Remove the turn signal cancel cam assembly (2).
  11. Remove the upper bearing spring (3).

  12. Object Number: 344004  Size: SH
  13. Remove the upper bearing inner race seat (1).
  14. Remove the inner race (2).