GM Service Manual Online
For 1990-2009 cars only
Makes
🢒
Buick
🢒
1999
🢒
LeSabre
🢒
Body and Accessories
🢒
Data Link Communications
🢒 Automatic Level Control Component Views
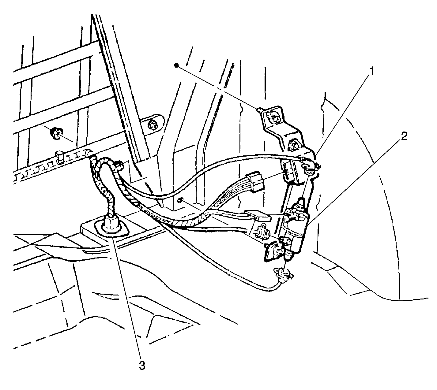
Figure
1:
Below RH Rear of Vehicle
(1)
RH Rear Rail
(2)
Automatic Level Control Sensor
(3)
Automatic Level Control Compressor
Figure
2:
Rear Compartment, Right Side (Pontiac)
(1)
Automatic Level Control Relay
(2)
Inflator Air Solenoid Valve
(3)
P403