GM Service Manual Online
For 1990-2009 cars only

Removal Procedure

  1. Raise and support the vehicle. Refer to Lifting and Jacking the Vehicle in General Information.
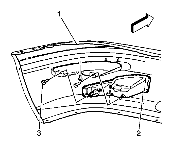
  2. Remove the bulb/sockets from the lamp.

  3. Object Number: 299519  Size: SH
  4. Remove the screws (3) that retain the lamp to the front bumper fascia (1).
  5. Remove the front park/side marker lamp (2) from the fascia (1).

Installation Procedure


    Object Number: 299519  Size: SH
  1. Install the front park/side marker lamp (2) to the front bumper fascia (1).
  2. Install the screws (3) in order to retain the lamp to the fascia (1).
  3. Install the bulb/sockets to the lamp.
  4. Lower the vehicle.