GM Service Manual Online
For 1990-2009 cars only

Tail Lamp Replacement LeSabre

Removal Procedure

  1. Remove the rear compartment sill panel trim. Refer to Rear Compartment Sill Trim Plate Replacement .

  2. Object Number: 299728  Size: SH
  3. Remove the nuts (1) that retain the taillamp (2).
  4. Disconnect the lamp harness electrical connector.
  5. Remove the taillamp (2).

Installation Procedure


    Object Number: 299728  Size: SH
  1. Install the taillamp (2).
  2. Connect the lamp harness electrical connector.
  3. Notice: Use the correct fastener in the correct location. Replacement fasteners must be the correct part number for that application. Fasteners requiring replacement or fasteners requiring the use of thread locking compound or sealant are identified in the service procedure. Do not use paints, lubricants, or corrosion inhibitors on fasteners or fastener joint surfaces unless specified. These coatings affect fastener torque and joint clamping force and may damage the fastener. Use the correct tightening sequence and specifications when installing fasteners in order to avoid damage to parts and systems.

    Important: Do not rework or alter the reflective surface of the taillamps (2).

  4. Install the nuts (1) in order to retain the taillamp (2).
  5. Tighten
    Tighten the nuts (1) to 6 N·m (53 lb in).

  6. Install the rear compartment sill panel trim. Refer to Rear Compartment Sill Trim Plate Replacement .

Tail Lamp Replacement Oldsmobile

Removal Procedure

  1. Remove the rear compartment trim. Refer to Rear Compartment Trim Panel Replacement .

  2. Object Number: 385422  Size: SH
  3. Remove the nuts (3) that retain the taillamp (1).
  4. Disconnect the connector (2).
  5. Remove the taillamp (1).

Installation Procedure


    Object Number: 299765  Size: SH
  1. Install the taillamp (1).
  2. Connect the connector (2) to the taillamp (1).
  3. Notice: Use the correct fastener in the correct location. Replacement fasteners must be the correct part number for that application. Fasteners requiring replacement or fasteners requiring the use of thread locking compound or sealant are identified in the service procedure. Do not use paints, lubricants, or corrosion inhibitors on fasteners or fastener joint surfaces unless specified. These coatings affect fastener torque and joint clamping force and may damage the fastener. Use the correct tightening sequence and specifications when installing fasteners in order to avoid damage to parts and systems.

    Important: Do not rework or alter the reflective surface of the taillamps (1).

  4. Install the nuts (3) in order to retain the taillamp (1).
  5. Tighten
    Tighten the nuts (3) to 5 N·m (44 lb in). Tighten the nuts in the proper sequence shown in the illustration.

  6. Install the rear compartment trim. Refer to Rear Compartment Trim Panel Replacement .

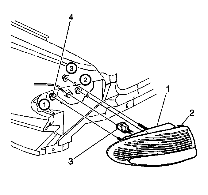
Tail Lamp Replacement Pontiac

Removal Procedure

  1. Remove the rear compartment sill panel trim. Refer to Rear Compartment Sill Trim Plate Replacement .

  2. Object Number: 299784  Size: SH
  3. Remove the nuts (4) that retain the taillamp (1).
  4. Disconnect the lamp harness connector (3).
  5. Remove the taillamp (1).

Installation Procedure


    Object Number: 299784  Size: SH
  1. Install the taillamp (1).
  2. Connect the lamp harness connector (3).
  3. Notice: Use the correct fastener in the correct location. Replacement fasteners must be the correct part number for that application. Fasteners requiring replacement or fasteners requiring the use of thread locking compound or sealant are identified in the service procedure. Do not use paints, lubricants, or corrosion inhibitors on fasteners or fastener joint surfaces unless specified. These coatings affect fastener torque and joint clamping force and may damage the fastener. Use the correct tightening sequence and specifications when installing fasteners in order to avoid damage to parts and systems.

    Important: Do not rework or alter the reflective surface of the taillamps (1).


    Object Number: 385425  Size: SH
  4. Install the nuts in order to retain the taillamp.
  5. Tighten
    Tighten the nuts  to 5 N·m (44 lb in). Tighten the nuts in the sequence shown in the illustration.

  6. Install the rear compartment sill panel trim. Refer to Rear Compartment Sill Trim Plate Replacement .