GM Service Manual Online
For 1990-2009 cars only

Horn Replacement A Note

Removal Procedure


    Object Number: 371791  Size: SH
  1. Remove the coolant recovery reservoir. Refer to Coolant Recovery Reservoir Replacement .
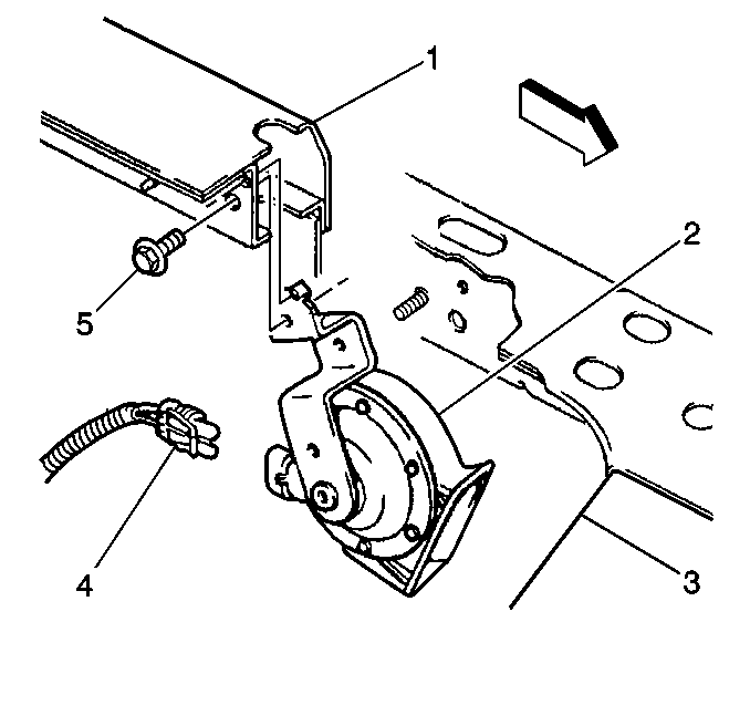
  2. Remove the horn stud from the right front fender.
  3. Remove the horn.
  4. Disconnect the connector from the horn.

Installation Procedure


    Object Number: 371791  Size: SH
  1. Install the horn connector to the horn.
  2. Install the horn to the front fender.
  3. Notice: Use the correct fastener in the correct location. Replacement fasteners must be the correct part number for that application. Fasteners requiring replacement or fasteners requiring the use of thread locking compound or sealant are identified in the service procedure. Do not use paints, lubricants, or corrosion inhibitors on fasteners or fastener joint surfaces unless specified. These coatings affect fastener torque and joint clamping force and may damage the fastener. Use the correct tightening sequence and specifications when installing fasteners in order to avoid damage to parts and systems.

  4. Install the horn stud to the front fender.
  5. Tighten
    Tighten the horn stud to 15 N·m (11 lb ft).

  6. Install the coolant recovery container. Refer to Coolant Recovery Reservoir Replacement .

Horn Replacement F Note

Removal Procedure

  1. Remove the air cleaner assembly.
  2. Remove the PCM.

  3. Object Number: 307532  Size: SH
  4. Remove the horn bolt from the left front fender.
  5. Remove the horn.
  6. Disconnect the connector from the horn.

Installation Procedure


    Object Number: 307532  Size: SH
  1. Connect the horn connector to the horn.
  2. Install the horn to the front fender.
  3. Notice: Use the correct fastener in the correct location. Replacement fasteners must be the correct part number for that application. Fasteners requiring replacement or fasteners requiring the use of thread locking compound or sealant are identified in the service procedure. Do not use paints, lubricants, or corrosion inhibitors on fasteners or fastener joint surfaces unless specified. These coatings affect fastener torque and joint clamping force and may damage the fastener. Use the correct tightening sequence and specifications when installing fasteners in order to avoid damage to parts and systems.

  4. Install the horn bolt to the front fender.
  5. Tighten
    Tighten the horn bolt to 15 N·m (11 lb ft).