GM Service Manual Online
For 1990-2009 cars only

Rear Window Replacement Long Method

Removal Procedure

Tools Required

J 24402-A Cold Knife Glass Sealant Remover

  1. Mark the center of the window.
  2. Remove the upper interior quarter trim. Refer to Rear Quarter Trim Panel Replacement in Interior Trim.

  3. Object Number: 315340  Size: LH
  4. Disconnect the rear window defogger connectors (1,2,3).

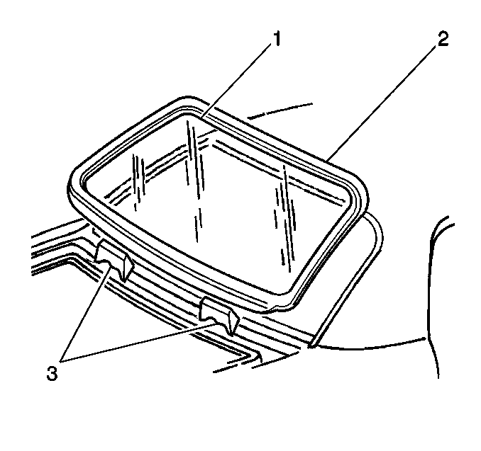
  5. Object Number: 315332  Size: MH
  6. Pull the reveal molding (1) from the rear window. Refer to Rear Window Reveal Molding Replacement .

  7. Object Number: 387090  Size: SH

    Caution: When working with any type of glass or sheet metal with exposed or rough edges, wear approved safety glasses and gloves in order to reduce the chance of personal injury.

    Important: Use a short blade on the cold knife to avoid cutting the defroster wires.

  8. Working outside of the vehicle, cut out the window.
  9. Use a J 24402-A .


    Object Number: 416917  Size: SH
  10. With the aid of an assistant, remove the rear window.
  11. If you reuse the original window, use a razor knife in order to remove any existing urethane adhesive from the window edge and from the body surface.
  12. Caution: Failure to prep the area prior to the application of primer may cause insufficient bonding of urethane adhesive. Insufficient bonding of urethane adhesive may allow unrestrained occupants to be ejected from the vehicle resulting in personal injury.

  13. Clean the surface of the window which new urethane adhesive contacts. Clean around the edge of the inside surface of the window.
  14. Use one of the following cleaners:

    • A clean isopropyl alcohol dampened cloth
    • GM Window Cleaner P/M 1050427 or the equivalent

Inspection Procedure

  1. The following components may reveal the causes of a broken window:
  2. • The flange of the window opening
    • The window reveal molding
    • The window
  3. Inspect for any of the following conditions in order to prevent future breakage of the window:
  4. • High welds
    • Solder spots
    • Hardened spot weld sealer
    • Any obstruction or irregularity in the pinchweld flange.
  5. Inspect the condition of the window opening and the adhesive bead. Refer to Adhesive Service Kit Description .

Installation Procedure

Tools Required

J 24811 Urethane Adhesive Dispensing Gun


    Object Number: 416917  Size: SH

    Caution: When working with any type of glass or sheet metal with exposed or rough edges, wear approved safety glasses and gloves in order to reduce the chance of personal injury.

  1. With the aid of an assistant, dry fit the window (2) in the opening in order to determine the correct position. Fit the window by completing the following steps:
  2. 1.1. Position the window in the opening.
    1.2. Use masking tape in order to mark the location of the window in the opening.
    1.3. Slit the masking tape at the window edge. During installation, the tape on the window aligns with the tape on the body.
    1.4. Remove the window from the opening.

    Place the window inside up on a clean protected surface.


    Object Number: 315332  Size: MH
  3. Position the reveal molding (1) to the edge of the window.
  4. Press the reveal molding onto the window.
  5. Start at the center of the of the window.

    Work outward.


    Object Number: 264806  Size: MH

    Caution: Failure to prep the area prior to the application of primer may cause insufficient bonding of urethane adhesive. Insufficient bonding of urethane adhesive may allow unrestrained occupants to be ejected from the vehicle resulting in personal injury.

    Important: Prevent the Window Prep 1 (clear) from running into the vision area of the window.

    This primer dries almost instantly. This primer may stain the window if not applied evenly.

  6. Use a new dauber in order to apply Window Prep 1 (clear) to the edges of the window.
  7. Immediately wipe the primed area with a clean cloth.
  8. Shake the Window Primer 2 (black) well.
  9. Use a new dauber in order to apply the primer 2 (black) over the previously applied clear primer.
  10. Allow approximately 6-10 minutes the Window Primer to dry 2.


    Object Number: 105247  Size: SH

    Caution: When replacing stationary windows, use Urethane Adhesive Kit GM P/N 12346392 (Canadian P/N 10952983), or a urethane adhesive system meeting GM Specification GM3651G, to maintain original installation integrity. Failure to use the urethane adhesive kit will result in poor retention of the window which may allow unrestrained occupants to be ejected from the vehicle resulting in personal injury.

  11. Apply a 14 mm (5/16 in) high and 8 mm (5/16 in) wide bead of urethane adhesive (3) to the window.
  12. Use a J 24811 .


    Object Number: 315339  Size: SH
  13. With the aid of a helper, install the window (1) in the opening.
  14. Align the tape lines on the window and the body surface.
  15. Press firmly the window into place.

  16. Object Number: 330793  Size: SH
  17. Tape the window to the body in order to minimize movement.
  18. Clean any excess urethane from the body with a lint free cloth.
  19. Important: DO NOT direct a hard stream of high pressure water at the fresh urethane adhesive.

  20. Watertest the window immediately using a soft spray.
  21. Use warm or hot water in order to accelerate the cure of the adhesive. Refer to Water Hose Test in Waterleaks.

  22. If you find a leak, use a plastic paddle in order to apply extra urethane adhesive at the leak point.

  23. Object Number: 315340  Size: LH
  24. Connect the rear window defogger connectors (1,2,3).
  25. Install the upper interior quarter trim. Refer to Rear Quarter Trim Panel Replacement
  26. Important: 

       • Partially lower a door window in order to prevent pressure build up when closing the doors prior to the urethane adhesive cure.
       • DO NOT DRIVE THE VEHICLE until the urethane adhesive is cured.
       • DO NOT USE COMPRESSED AIR in order to dry the urethane adhesive.

  27. Allow 6 hours at room temperature, 22°C (72°F), at 30 percent relative humidity for curing the urethane adhesive.

Rear Window Replacement ShortMethod

Removal Procedure

    Caution: When replacing stationary windows, use Urethane Adhesive Kit GM P/N 12346392 (Canadian P/N 10952983), or a urethane adhesive system meeting GM Specification GM3651G, to maintain original installation integrity. Failure to use the urethane adhesive kit will result in poor retention of the window which may allow unrestrained occupants to be ejected from the vehicle resulting in personal injury.

  1. Use masking tape in order to protect the painted surface around the rear window.
  2. Remove the reveal molding. Refer to Rear Window Reveal Molding Replacement .
  3. Remove the rear quarter trim panels. Refer to Rear Quarter Trim Panel Replacement in Interior Trim.
  4. Disconnect the electrical connector to the rear defogger grid and antenna (if applicable).
  5. Caution: When working with any type of glass or sheet metal with exposed or rough edges, wear approved safety glasses and gloves in order to reduce the chance of personal injury.

  6. Cut the urethane with a cold knife from the exterior of the back glass.

  7. Object Number: 416917  Size: SH
  8. With the aid from an assistant, remove the back glass.
  9. Remove any excessive urethane from the pinch weld area.
  10. Clean the pinch weld area.

Installation Procedure

  1. Apply pinch weld primer.
  2. Clean the new rear window.
  3. Apply the two-part primer to the sealing edge of the new glass.
  4. Install the new reveal molding to the rear window.
  5. Apply urethane to the pinch weld area.

  6. Object Number: 416917  Size: SH
  7. With the aid from an assistant, install the new rear window.

  8. Object Number: 330793  Size: SH
  9. Apply masking tape in order to hold the rear window in place until the urethane has cured.
  10. Connect the electrical connector to the rear defogger grid and antenna (if applicable).
  11. Install the rear quarter trim panels. Rear Quarter Trim Panel Replacement in Interior Trim.
  12. Remove the masking tape from the painted surface.
  13. Clean the new rear window and surrounding area.
  14. Water test the urethane seal for leaks.