GM Service Manual Online
For 1990-2009 cars only
Makes
🢒
Buick
🢒
1999
🢒
LeSabre
🢒
Body and Accessories
🢒
Body Front End
🢒 Filler Panel Replacement - Upper
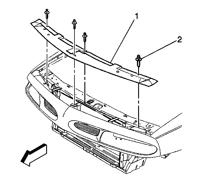
Filler Panel Replacement - Upper 88/LSS
Removal Procedure
Remove the push-in retainers (2) from the filler panel (1).
Remove the upper filler panel (1).
Installation Procedure
Install the upper filler panel (1).
Install the push-in retainers (2) .