GM Service Manual Online
For 1990-2009 cars only

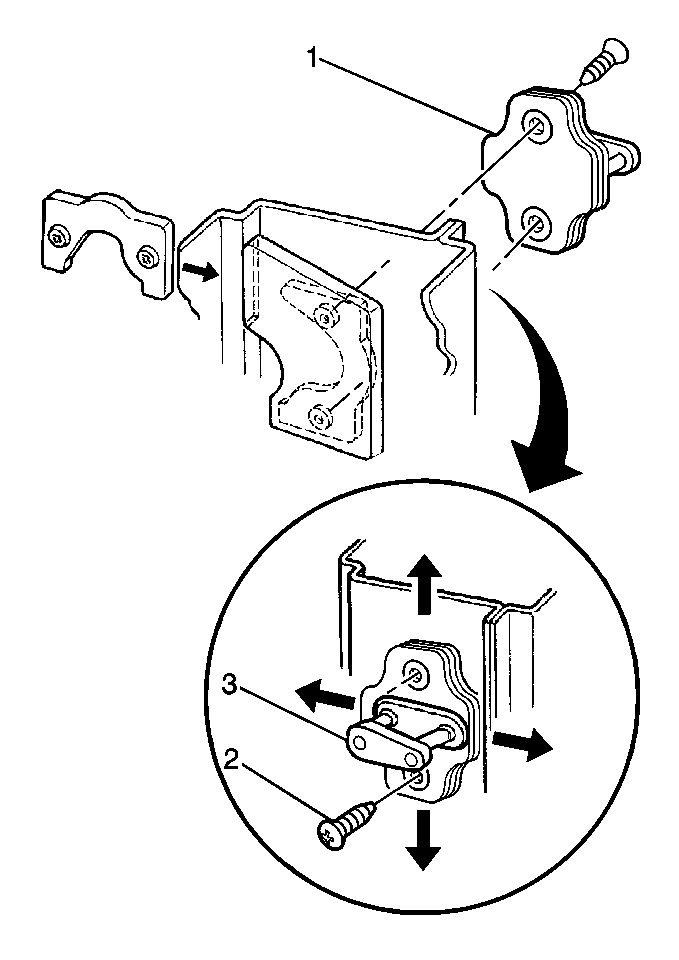
Removal Procedure


    Object Number: 323087  Size: MH
  1. Loosen the striker fasteners (2).
  2. Remove the striker (3).

Installation Procedure


Object Number: 323087  Size: MH

Caution: Striker alignment is crucial for proper operation of the door systems. Do not hit the striker with a hammer or force alignment in any other way. Failure to properly adjust striker will result in excessive door efforts or extensive damage to door system operation which could result in personal injury.

Notice: Use the correct fastener in the correct location. Replacement fasteners must be the correct part number for that application. Fasteners requiring replacement or fasteners requiring the use of thread locking compound or sealant are identified in the service procedure. Do not use paints, lubricants, or corrosion inhibitors on fasteners or fastener joint surfaces unless specified. These coatings affect fastener torque and joint clamping force and may damage the fastener. Use the correct tightening sequence and specifications when installing fasteners in order to avoid damage to parts and systems.

Align the striker. Refer to Door Lock Striker Adjustment .

Tighten
Tighten the 2 striker bolts (2) to 24 N·m (18 lb ft).