GM Service Manual Online
For 1990-2009 cars only
Figure 1:

Cell 130: Door Locks without Keyless Entry, Power Distribution


Object Number: 342979  Size: FS
Cell 10: CHIME Fuse
Cell 10: CHIME Fuse
Cell 10: A/C FEEDBACK, DR LKS, HORN, and RAC/TRUNK REL Fuses
Cell 10: A/C FEEDBACK, DR LKS, HORN, and RAC/TRUNK REL Fuses
Power Door Systems Connector End Views
Cell 10: BRK/HZRD LPS, FOG LPS, CTSY LP/PWR MIR, and PARKLPS/INT LPS Fuses
Handling ESD Sensitive Parts Notice
Power Door Systems Components
Power Door Locks Circuit Description
Cell 130: Door Locks Without Keyless Entry, Door Lock Switches
Cell 14: G201 (2 of 2)
Cell 14: G201 (2 of 2)
Cell 14: G201 (1 of 2)
Figure 2:

Cell 130: Door Locks Without Keyless Entry, Door Lock Switches


Object Number: 342982  Size: FS
Cell 10: VATS, T/SIG/BU LP/BTSI, AIR BAG, IP AUX OUTLET, and AIR BAG/VATS Fuses
Cell 10: VATS, T/SIG/BU LP/BTSI, AIR BAG, IP AUX OUTLET, and AIR BAG/VATS Fuses
Power Door Systems Connector End Views
Cell 138
Handling ESD Sensitive Parts Notice
Cell 117: Instrument Cluster and Front Door Incandescent Dimming
Cell 14: G202
Power Door Systems Components
Power Door Locks Circuit Description
Cell 130: Door Locks Without Keyless Entry, Door Lock Actuators
Cell 130: Door Locks without Keyless Entry, Power Distribution
Cell 14: G202 Continued
Cell 14: G202 Continued
Cell 14: G202 Continued
Cell 117: Instrument Cluster and Front Door Incandescent Dimming
Figure 3:

Cell 130: Door Locks Without Keyless Entry, Door Lock Actuators


Object Number: 342983  Size: FS
Power Door Systems Connector End Views
Handling ESD Sensitive Parts Notice
Power Door Systems Components
Power Door Locks Circuit Description
Cell 130: Door Locks without Keyless Entry, Power Distribution
Cell 130: Door Locks Without Keyless Entry, Door Lock Switches
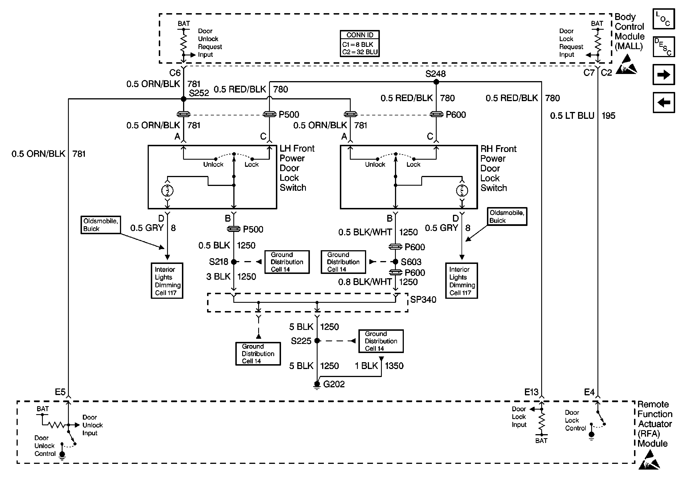
Figure 4:

Cell 130: Door Locks With Keyless Entry - Buick, Oldsmobile


Object Number: 342987  Size: FS
Power Door Systems Connector End Views
Cell 117: Instrument Cluster and Front Door Incandescent Dimming
Cell 14: G202
Cell 117: Instrument Cluster and Front Door Incandescent Dimming
Handling ESD Sensitive Parts Notice
Handling ESD Sensitive Parts Notice
Power Door Systems Components
Power Door Locks Circuit Description
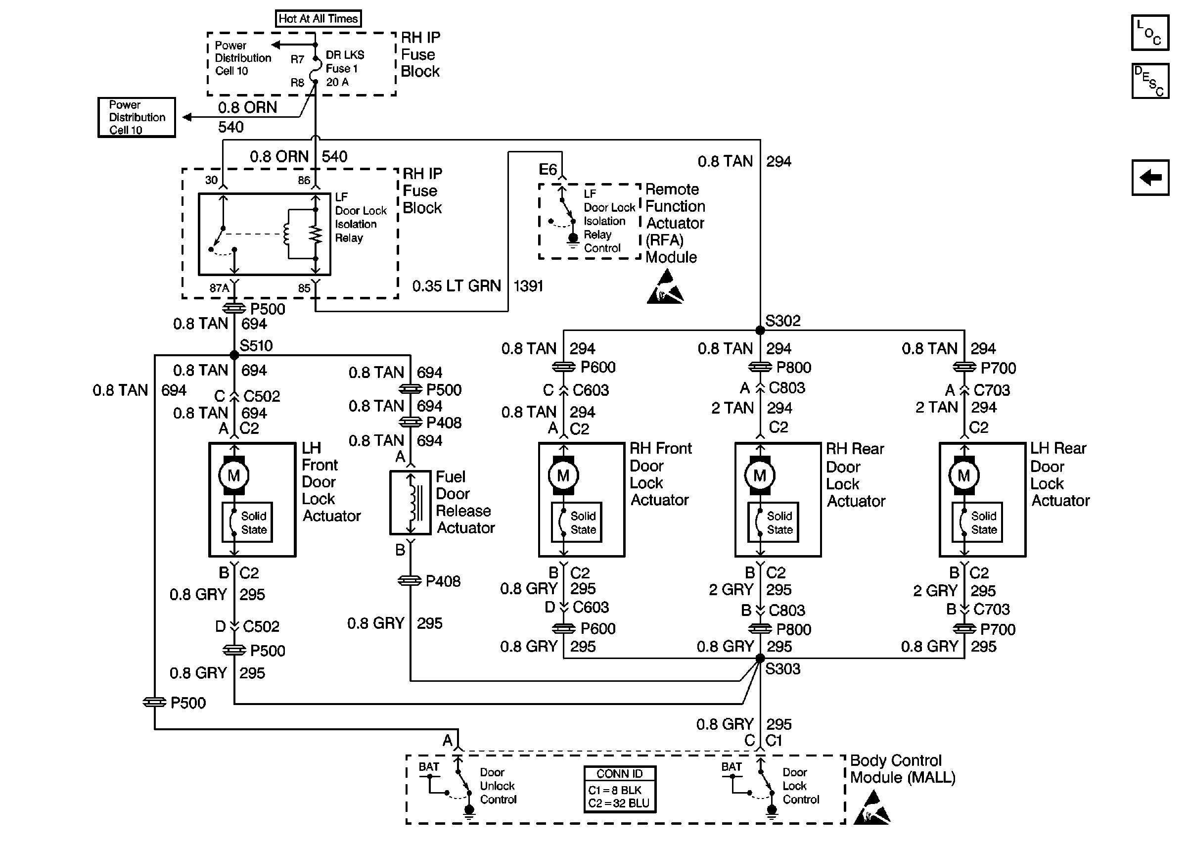
Cell 130: Door Locks With Keyless Entry - Buick, Oldsmobile, Pontiac Without UA6
Cell 130: Door Locks Without Keyless Entry, Door Lock Actuators
Cell 14: G202 Continued
Cell 14: G202 Continued
Cell 14: G202 Continued
Cell 14: G202 Continued
Figure 5:

Cell 130: Door Locks With Keyless Entry - Buick, Oldsmobile, Pontiac Without UA6


Object Number: 342989  Size: FS
Cell 10: A/C FEEDBACK, DR LKS, HORN, and RAC/TRUNK REL Fuses
Cell 10: A/C FEEDBACK, DR LKS, HORN, and RAC/TRUNK REL Fuses
Handling ESD Sensitive Parts Notice
Handling ESD Sensitive Parts Notice
Power Door Systems Components
Power Door Locks Circuit Description
Cell 130: Door Locks With Keyless Entry - Pontiac With UA6
Cell 130: Door Locks With Keyless Entry - Buick, Oldsmobile
Figure 6:

Cell 130: Door Locks With Keyless Entry - Pontiac With UA6


Object Number: 342993  Size: FS
Cell 10: A/C FEEDBACK, DR LKS, HORN, and RAC/TRUNK REL Fuses
Cell 10: A/C FEEDBACK, DR LKS, HORN, and RAC/TRUNK REL Fuses
Handling ESD Sensitive Parts Notice
Power Door Systems Components
Power Door Locks Circuit Description
Cell 130: Door Locks With Keyless Entry - Buick, Oldsmobile, Pontiac Without UA6
Handling ESD Sensitive Parts Notice