GM Service Manual Online
For 1990-2009 cars only

Front Side Door Trim Panel Replacement Pontiac

Removal Procedure

Tools Required

J 38778 Door Trim Pad and Garnish Clip Remover

  1. Remove the switch plate. Refer to Door Lock and Side Window Switch Replacement .

  2. Object Number: 387305  Size: SH
  3. Remove the courtesy lamp. Refer to Door Lamp Replacement in Lighting Systems.

  4. Object Number: 323011  Size: SH
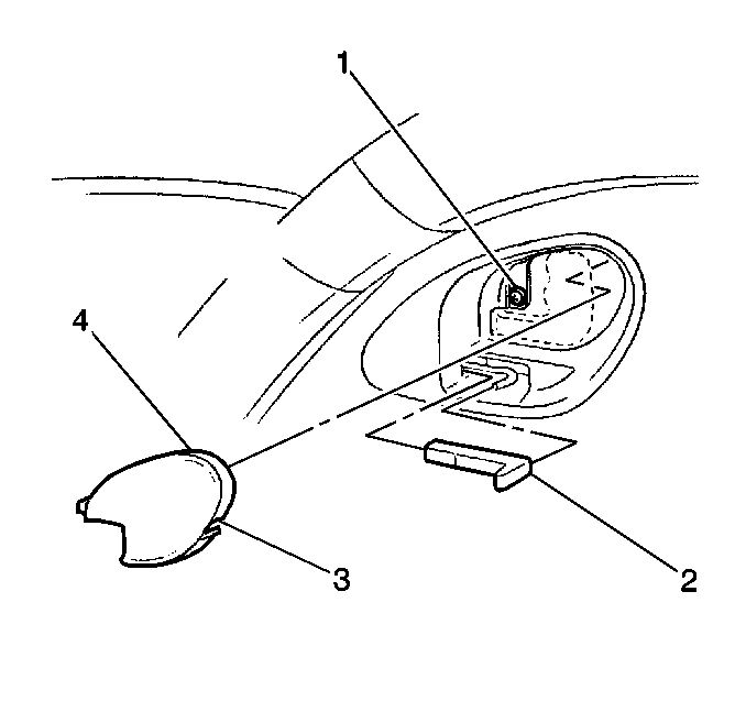
  5. Remove the lock rod knob.
  6. Pull the knob straight out from the lock rod (2).

  7. Gently pry in the notch of the handle cup in order to remove.
  8. Remove the handle cup from the handle bezel.
  9. Remove the fastener from the handle bezel.
  10. Remove the handle bezel from the door trim panel.
  11. Gently pry the rear edge of the handle bezel from the door trim panel.


    Object Number: 387148  Size: SH
  12. Remove the armrest applique.
  13. Insert a small, thin-bladed tool at the front of the applique in order to release the retaining clip.

  14. On the left front side door, disconnect the electrical connectors.

  15. Object Number: 387117  Size: SH
  16. Remove the fasteners through the courtesy lamp opening.
  17. Remove the fastener at the top of the armrest handle.
  18. Remove the trim panel from the door.
  19. Insert the J 38778 between the trim panel out edges and the door in order to disengage the trim panel retaining fasteners.

  20. Disconnect the speaker connectors, as necessary.
  21. Disconnect the deck lid release connector, as necessary.
  22. Remove the door trim panel.

Installation Procedure


    Object Number: 387117  Size: SH
  1. Connect the deck lid release connector, as necessary.
  2. Connect the speaker connectors, as necessary.
  3. Align the trim panel fasteners and the inner sealing strip.
  4. Install the trim panel to the door.
  5. Push on the outer edges of the trim panel.

    Notice: Use the correct fastener in the correct location. Replacement fasteners must be the correct part number for that application. Fasteners requiring replacement or fasteners requiring the use of thread locking compound or sealant are identified in the service procedure. Do not use paints, lubricants, or corrosion inhibitors on fasteners or fastener joint surfaces unless specified. These coatings affect fastener torque and joint clamping force and may damage the fastener. Use the correct tightening sequence and specifications when installing fasteners in order to avoid damage to parts and systems.

  6. Install the fastener at the top of the armrest.
  7. Tighten
    Tighten the fastener to 1.8 N·m (16 lb in).

  8. Install the fasteners through the opening of the courtesy lamp.
  9. Tighten
    Tighten the fastener to 1.8 N·m (16 lb in).


    Object Number: 387148  Size: SH
  10. Connect the electrical connectors.
  11. Install the armrest applique.

  12. Object Number: 323011  Size: SH
  13. Install the inside handle bezel.
  14. Install the fastener that fastens the inside handle bezel.
  15. Tighten
    Tighten the fastener to 1.8 N·m (16 lb in).

  16. Install the inside handle cup.
  17. Install the lock rod knob (2).

  18. Object Number: 387305  Size: SH
  19. Install the courtesy lamp. Refer to Door Lamp Replacement in Lighting Systems.
  20. Install the switch plate. Refer to Door Lock and Side Window Switch Replacement .

Front Side Door Trim Panel Replacement Oldsmobile

Removal Procedure

Tools Required

J 38778 Door Trim Pad and Garnish Clip Remover


    Object Number: 387132  Size: SH

    Caution: Unless directed otherwise, the ignition and start switch must be in the OFF or LOCK position, and all electrical loads must be OFF before servicing any electrical component. Disconnect the negative battery cable to prevent an electrical spark should a tool or equipment come in contact with an exposed electrical terminal. Failure to follow these precautions may result in personal injury and/or damage to the vehicle or its components.

  1. Disconnect the negative battery cable.
  2. Remove the power window switch. Refer to Front Side Door Window Switch Replacement .
  3. Remove the trim panel insert. Refer to Front Side Door Trim Panel Insert Replacement .
  4. Release the trim panel retainers between the door and the trim panel.
  5. Use the J 38778 .

  6. Lift upward the trim panel.
  7. Disconnect the electrical connectors.
  8. Remove the door trim panel.

Installation Procedure


    Object Number: 387132  Size: SH
  1. Align the trim panel to the door.
  2. Connect the elctrical connectors.
  3. Install the trim panel to the door.
  4. Push on the outer edges of the trim panel to secure.
  5. Install the trim panel insert. Refer to Front Side Door Trim Panel Insert Replacement .
  6. Install the power window switch. Refer to Front Side Door Window Switch Replacement .
  7. Connect the negative battery cable.

Front Side Door Trim Panel Replacement Buick

Removal Procedure

Tools Required

J 38778 Door Trim Pad and Garnish Clip Remover

  1. Remove the arm rest bezel switch plate. Refer to Front Side Door Window Switch Replacement .
  2. Use a small, flat-bladed tool.
  3. Release the retaining tab on the courtesy lamp.
  4. Remove the courtesy lamp. Refer to Door Lamp Replacement
  5. Disconnect the electrical connector.

  6. Object Number: 387130  Size: SH
  7. Remove the retaining fastener from the rear of the trim panel.
  8. Remove the door lock switch bezel. Refer to Door Lock Switch Replacement .
  9. Release the trim panel retainers.
  10. Insert the J 38778 between the outer edges of the door trim panel and the door.

  11. Lift upward the trim panel.
  12. Disconnect the wiring harness from the trim panel.
  13. Disconnect the speaker connector, (as necessary).

Installation Procedure

  1. Connect the speaker connector, (as necessary).

  2. Object Number: 387130  Size: SH
  3. Install the wiring harness to the trim panel.
  4. Install the trim panel to the door.
  5. Push on the outer edges of the trim panel.

  6. Install the door lock switch bezel. Refer to Door Lock Switch Replacement .
  7. Notice: Use the correct fastener in the correct location. Replacement fasteners must be the correct part number for that application. Fasteners requiring replacement or fasteners requiring the use of thread locking compound or sealant are identified in the service procedure. Do not use paints, lubricants, or corrosion inhibitors on fasteners or fastener joint surfaces unless specified. These coatings affect fastener torque and joint clamping force and may damage the fastener. Use the correct tightening sequence and specifications when installing fasteners in order to avoid damage to parts and systems.

  8. Install the retaining fastener to the rear of the trim panel.
  9. Tighten
    Tighten the fastener to .8 N·m (7 lb in).

  10. Connect the courtesy lamp connector.
  11. Install the courtesy lamp to the trim panel.
  12. Install the 2 retaining fasteners through the switch plate opening.
  13. Tighten
    Tighten the two fasteners to 1.8 N·m (16 lb in).

  14. Install the switch plate. Refer to Front Side Door Window Switch Replacement .