GM Service Manual Online
For 1990-2009 cars only

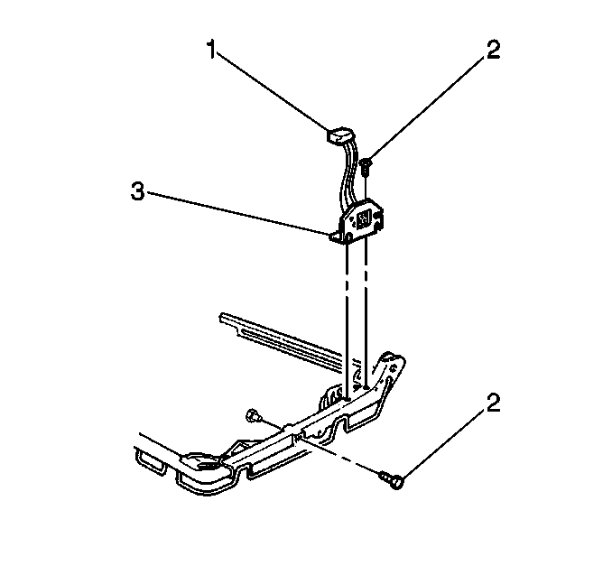
Removal Procedure


    Object Number: 380895  Size: SH
  1. Remove the fasteners (2) attaching the seat switch bezel to the seat.
  2. Partially remove the switch bezel (1).
  3. Disconnect the electrical connector.
  4. Remove the seat switch. Refer to one of the following procedures:
  5. •  Power Seat Switch Replacement in Doors.
    •  Console Front Trim Plate Replacement in Instrument Panel, Gauges and Console.

Installation Procedure


    Object Number: 380895  Size: SH
  1. Install the seat switch. Refer to one of the following procedures:
  2. •  Console Front Trim Plate Replacement in Instrument Panel, Gauges and Console.
    •  Power Seat Switch Replacement in Doors.
  3. Connect the electrical connectors.
  4. Install the switch bezel to the seat.
  5. Install the fasteners (2).
  6. Verify that the seat operates correctly.