GM Service Manual Online
For 1990-2009 cars only

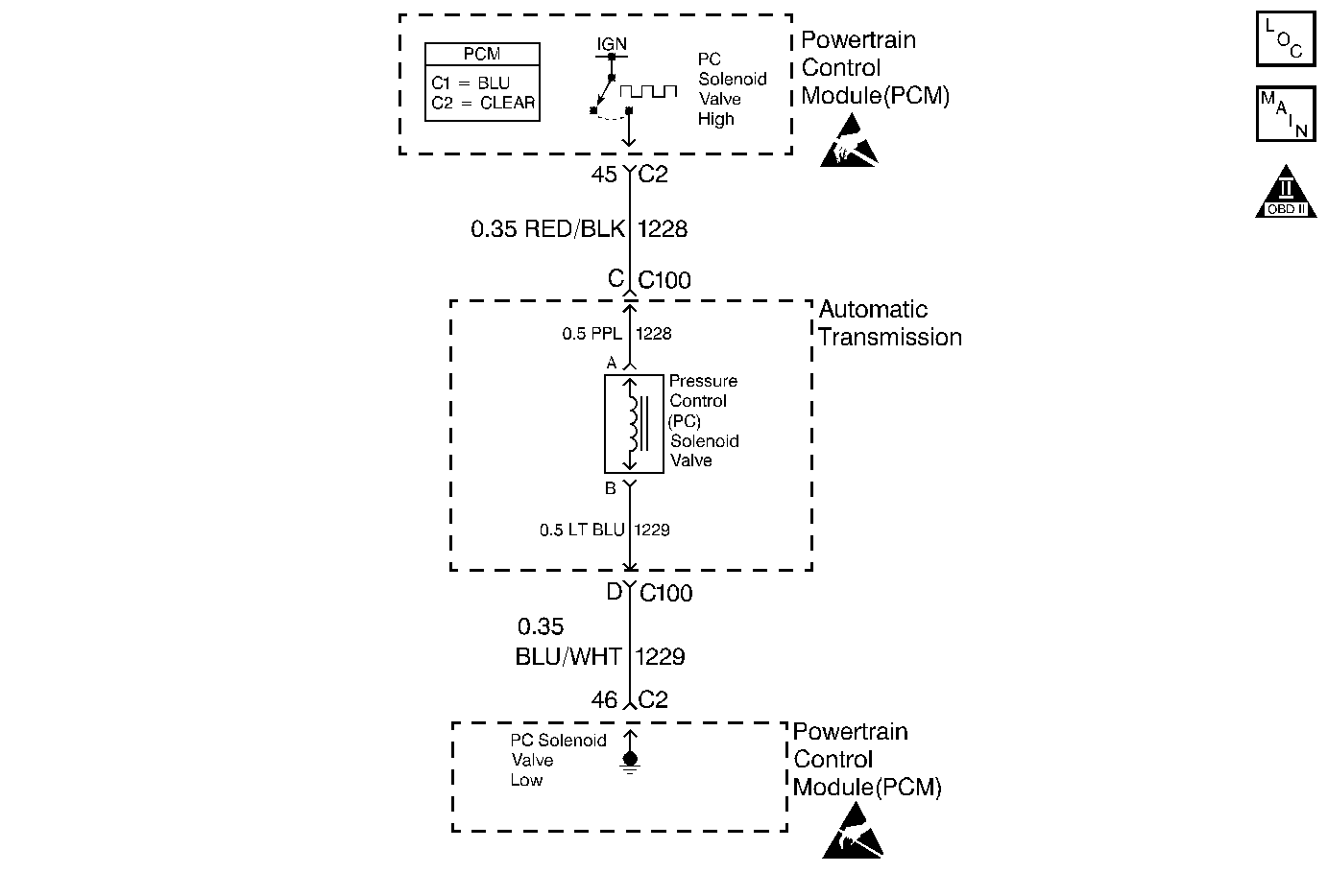
Object Number: 347026  Size: MF
Automatic Transmission Components
Automatic Transmission Controls Schematics
OBD II Symbol Description Notice
Handling ESD Sensitive Parts Notice
Handling ESD Sensitive Parts Notice

Circuit Description

The pressure control (PC) solenoid valve regulates actuator feed fluid passing through the solenoid into torque signal pressure. The PCM uses a pulse width modulated signal in order to control the torque signal pressure. The PCM compares various inputs in order to determine the appropriate pressure for a given load. The PCM varies the current to the PC solenoid valve from 0.1-1.1 amp. An internal current monitor within the PCM provides feedback in order to determine actual PC solenoid valve current draw.

If the PCM detects a commanded current draw that differs from the actual current draw by more than a calibrated value, then DTC P0748 sets. DTC P0748 is a Type D DTC.

Conditions for Running the DTC

    • The PC solenoid valve is enabled.
    • The system voltage is:
       - Greater than 11 volts at a low temperature -40°C (-40°F).
       - Greater than 13 volts at a high temperature 151°C (304°F).

Conditions for Setting the DTC

DTC P0748 sets when one of the following conditions occurs for 0.2 seconds:

    • The PCM commands the PC solenoid valve ON and the circuit voltage remains high (B+).
    • The PCM commands the PC solenoid valve OFF and the circuit voltage remains low (0 volts).

Action Taken When the DTC Sets

    • The PCM does not illuminate the malfunction indicator lamp (MIL).
    • The PCM enters PC solenoid valve diagnostic retest mode. The retest mode conducts the following diagnostic routine:
        1. The PCM de-energizes the PC solenoid valve and DTC P0748 is set.
        2. After being de-energized for 2 seconds, the PCM commands the PC solenoid valve ON at 0.1 amp for the retest period of 5 seconds.
       - If no circuit faults are detected during the 5 second retest period, then the PC solenoid valve is returned to normal operation and DTC P0748 diagnostic is passed.
       - If 3 circuit faults are detected after returning to normal operation, then the PCM de-energizes the PC solenoid valve for the remainder of that ignition cycle.
       - If a circuit fault is detected during the 5 second retest period, then the PCM de-energizes the PC solenoid valve for 2 seconds before reentering the retest mode.
       - If a circuit fault is detected 5 times without returning to normal operation, then the PC solenoid valve is de-energized for the remainder of that ignition cycle.
    • The PCM freezes shift adapts.
    • The PCM stores DTC P0748 in PCM history.

Conditions for Clearing the DTC

    • A scan tool clears the DTC from PCM history.
    • The PCM clears the DTC from PCM history if the vehicle completes 40 consecutive warm-up cycles without a non-emission-related diagnostic fault occurring.
    • The PCM cancels the DTC default actions when the fault no longer exists and the ignition switch is OFF long enough in order to power down the PCM.

Diagnostic Aids

    • Inspect the wiring at the PCM, the transmission 20-way connector, the PC solenoid valve connector and all other circuit connecting points for the following conditions:
       - A backed out terminal
       - A damaged terminal
       - Reduced terminal tension
       - A chafed wire
       - A broken wire inside the insulation
       - Moisture intrusion
       - Corrosion
    • When diagnosing for an intermittent short or open, massage the wiring harness while watching the test equipment for a change.
    • Extended cranking with a low battery could set DTC P0748.

Test Description

The numbers below refer to the step numbers on the diagnostic table.

  1. This step verifies the ability of the PCM to command the PC solenoid valve.

  2. This step verifies that the automatic transmission (A/T) wiring harness assembly and the PC solenoid valve have correct resistance.

  3. This step tests for a short to ground inside the transmission.

  4. This step tests circuits 1228 (PPL) and 1229 (LT BLU) of the A/T wiring harness assembly for a short to ground.

  5. This step tests circuits 1228 (PPL) and 1229 (LT BLU/WHT) from the engine 20-way connector to the PCM for an open or short to ground.

DTC P0748 PC Solenoid Circuit Electrical

Step

Action

Value(s)

Yes

No

1

Was the Powertrain On-Board Diagnostic (OBD) System Check performed?

--

Go to Step 2

Go to Powertrain On Board Diagnostic (OBD) System Check in Engine Controls

2

  1. Install the Scan Tool .
  2. Start the engine.
  3. Important: Before clearing the DTCs, use the scan tool in order to record the Failure Records for reference. Using the Clear Info function will erase the stored Failure Records from the PCM.

  4. Record the Failure Records.
  5. Clear the DTCs.
  6. Using the scan tool, apply several settings from 0.1 amp through 1.1 amp and observe the scan tool display.

Does the PC solenoid actual current reading differ from the PC solenoid reference current reading by less than the specified amount?

0.16 amp

Go to Diagnostic Aids

Go to Step 3

3

  1. Turn the ignition switch to the OFF position.
  2. Disconnect the transmission 20-way connector.
  3. Connect the J 39775 jumper harness to the transmission side of the 20-way connector.
  4. Using the J 35616-A connector test adapter kit, connect a J 39200 digital multimeter (DMM), set to measure ohms, from terminal C to terminal D of the J 39775 jumper harness.
  5. Refer to the Automatic Transmission Inline Harness Connector End View .

Is the resistance within the specified range?

3-5 ohms at 20°C (68°F)

5-6 ohms at 88°C (190°F)

Go to Step 5

Go to Step 4

4

  1. Disconnect the automatic transmission wiring harness assembly connector from the PC solenoid valve.
  2. Inspect circuits 1228 (PPL) and 1229 (LT BLU) of the automatic transmission wiring harness assembly for an open or short.

Refer to General Electrical Diagnosis in Wiring Systems.

Was a condition found?

--

Go to Step 10

Go to Step 9

5

Connect the J 39200 DMM, set to measure ohms, from terminal D of the J 39775 jumper harness to a good ground.

Is the resistance greater than the specified value?

1000 K ohms

Go to Step 7

Go to Step 6

6

Inspect circuits 1228 (PPL) and 1229 (LT BLU) of the automatic transmission wiring harness assembly for a short to ground.

Refer to General Electrical Diagnosis in Wiring Systems.

Was a condition found?

--

Go to Step 10

Go to Step 9

7

  1. Disconnect PCM connector C2.
  2. Inspect circuits 1228 (RED/BLK) and 1229 (LT BLU/WHT) of the engine wiring harness for an open or short to ground.
  3. Refer to General Electrical Diagnosis in Wiring Systems.

Was a condition found?

10 ohms

Go to Step 8

Go to Step 11

8

Repair the circuit(s) as necessary.

Refer to Wiring Repairs in Wiring Systems.

Is the repair complete?

--

Go to Step 12

--

9

Replace the pressure control solenoid valve.

Refer to Pressure Control Solenoid Valve Replacement .

Is the replacement complete?

--

Go to Step 12

--

10

Replace the automatic transmission wiring harness assembly.

Refer to Solenoids and Wiring Harness Replacement .

Is the replacement complete?

--

Go to Step 12

--

11

Replace the PCM.

Refer to Powertrain Control Module Replacement/Programming in Engine Controls.

Is the replacement complete?

--

Go to Step 12

--

12

Perform the following procedure in order to verify the repair:

  1. Select DTC.
  2. Select Clear Info.
  3. Road test the vehicle.
  4. Monitor PC solenoid actual current on the scan tool. Ensure that the PC solenoid valve actual current varies between 0.1 and 1.1 amp.
  5. Select Specific DTC.
  6. Enter DTC P0748.

Has the test run and passed?

--

System OK

Go to Step 1