GM Service Manual Online
For 1990-2009 cars only

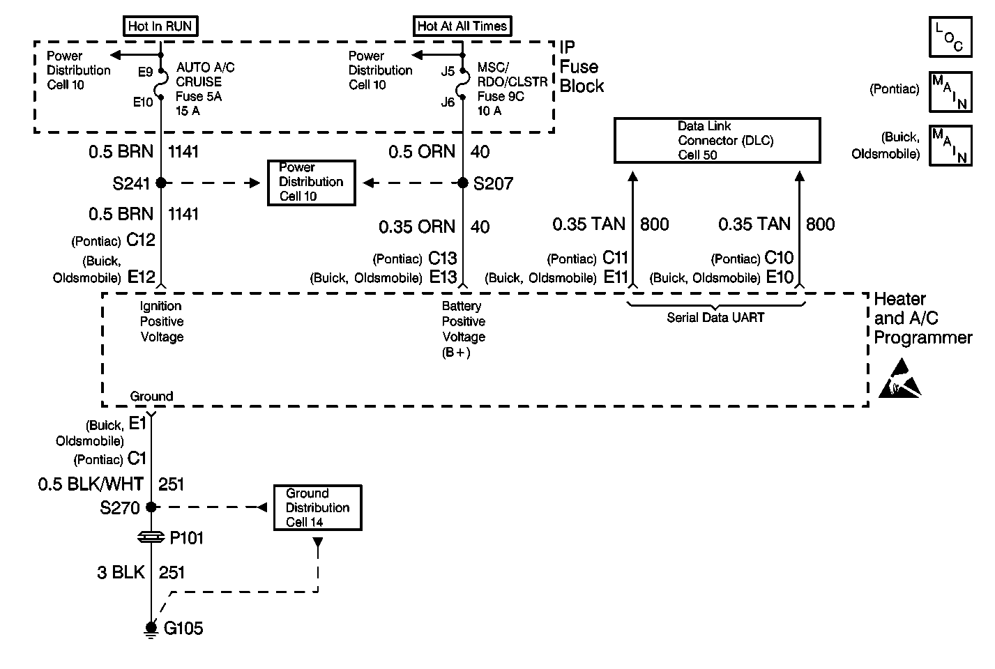
Object Number: 387867  Size: MF
HVAC Components
HVAC Air Delivery Schematics (Cell 68: IP Fuse Block, DLC - Pontiac)
HVAC Air Delivery Schematics (Cell 68: IP Fuse Block, DLC - Buick)
Handling ESD Sensitive Parts Notice

Circuit Description

UART-based communication systems have a master of the serial data line and remote transceivers. The master controls the message trafficon the serial data line by polling the HVAC progrommer. The master then waits for the proper response.

Conditions for Setting the DTC

    • The ignition is on.
    • The circuit is open or shorted.

Action Taken When the DTC Sets

Code 036 is set.

Conditions for Clearing the MIL/DTC

Using a Scan Tool .

Test Description

  1. Determines if the DTC was set in error or if the HVAC programmer is the fault.

Step

Action

Value(s)

Yes

No

1

  1. Turn the ignition switch to the RUN position.
  2. Connect a Scan Tool .
  3. Attempt to establish communications on CKT 800.

Did the Scan Tool establish communication?

--

Go to Step 2

Go to Data Link Communications System Check in Data Link Communications

2

  1. Verify that the Scan Tool is still connected.
  2. Attempt to establish communications with the HVAC system (Non-E and C).

Did the Scan Tool establish communication?

--

Go to Step 4

Go to Step 3

3

  1. Turn the ignition switch to the OFF position.
  2. Disconnect the HVAC programmer.
  3. Use the J-38125 .
  4. Disconnect the following terminals from the HVAC programmer harness connector:
  5. • For Oldsmobile and Buick, remove terminal E10 and terminal E11.
    • For Pontiac, remove terminal C10 and terminal C11.
  6. Reconnect the HVAC programmer.
  7. Turn the ignition switch to the RUN position.
  8. Measure the voltage between DLC terminal 4 and the following terminals:
  9. Refer to Measuring Voltage in Wiring Systems.

    7.1. For Oldsmobile and Buick, measure to the HVAC programmer terminal cavity E10.
    7.2. For Pontiac, measure to the HVAC programmer terminal cavity C10.
  10. Measure the voltage between DLC terminal 4 and the following terminals:
  11. Refer to Measuring Voltage in Wiring Systems.

    8.1. For Oldsmobile and Buick, measure to the HVAC programmer terminal cavity E11.
    8.2. For Pontiac, measure to the HVAC programmer terminal cavity C11.

Does the voltage approximately equal the specified value at each cavity?

5 V

Go to Step 6

Go to Step 7

4

  1. Use the Scan Tool .
  2. Turn the ignition switch to the OFF position.
  3. Turn the ignition switch to the RUN position.

Does DTC 038 reset?

--

Go to Step 5

System OK

5

Replace the HVAC programmer. Refer to Programmer Replacement .

Is the repair complete?

--

System OK

--

6

  1. Inspect the following HVAC programmer harness connector terminals for proper terminal contact:
  2. Refer to Intermittents and Poor Connections Diagnosis in Wiring Systems.

    • Terminal C7 and terminal C8 of the heater and A/C programmer harness connector
    • For Oldsmobile and Buick, inspect terminals E10 and E11.
    • For Pontiac, inspect terminals C10 and C11.
  3. Inspect CKT 800 for opens.
  4. If all of the terminals and CKT 800 are in proper condition, replace the HVAC programmer. Refer to Programmer Replacement .

Is the repair complete?

--

System OK

--

7

Replace the HVAC programmer. Refer to Programmer Replacement .

Is the repair complete?

--

System OK

--