 
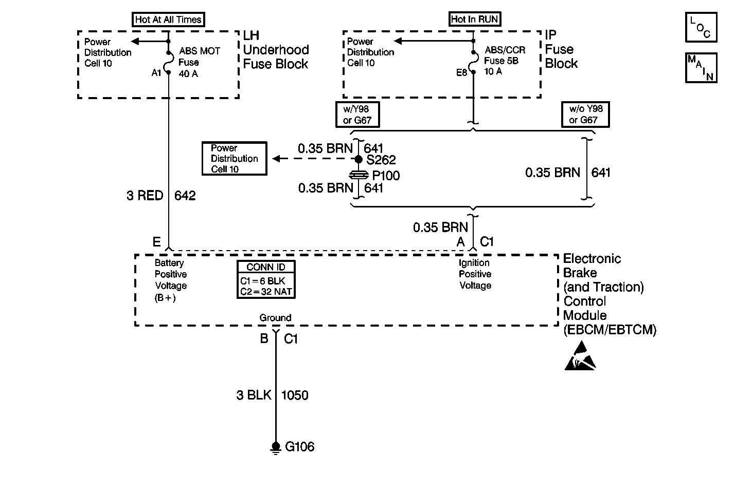
The solenoid valve relay supplies power to the solenoid valves. The solenoid valve relay activates when the ignition is ON and when no DTCs are present. Power is supplied to the valve solenoids through the solenoid valve relay via CKT 342. Power is supplied to the pump motor via CKT 642. The ignition input is supplied via CKT 641.
| • | The ignition voltage is greater than 10.5 volts. | 
| • | The solenoid relay is commanded ON. | 
| • | The solenoid relay voltage is less than 8.0 volts. | 
| • | A malfunction DTC is stored. | 
| • | The ABS/TCS is disabled. | 
| • | The ABS indicator isturned ON. | 
| • | The TRACTION OFF indicator is turned ON. | 
| • | The condition for the DTC is no longer present and you used the scan tool Clear DTC function. | 
| • | The EBCM/EBTCM does not detect the DTC in 50 drive cycles. | 
| • | It is very important that a thorough inspection of the wiring and connectors be performed. Failure to carefully and fully inspect wiring and connectors may result in misdiagnosis, causing part replacement with reappearance of the malfunction. | 
| • | An intermittent malfunction can be caused by poor connections, broken insulation, or a wire that is broken inside the insulation. | 
| • | If an intermittent malfunction exists, refer to Intermittents and Poor Connections Diagnosis in Wiring Systems. | 
| • | The relays are integral to the EBTCM and are not serviceable. | 
| • | Possible causes of this DTC are the following conditions: | 
| - | A problem in the power distribution system that results in no battery voltage to the power circuit. | 
| - | An open fuse. | 
| - | The power circuit has a wiring problem, corrosion, or faulty connections. | 
| - | An internal malfunction in the EBCM/EBTCM or BPMV. | 
| - | The solenoid valve relay is faulty. | 
The numbers below refer to the step numbers on the diagnostic table.
This step checks for a short to ground in CKT 642.
This step checks for an internal short in the BPMV.
This step checks for an open in CKT 642.
| Step | Action | Value(s) | Yes | No | 
|---|---|---|---|---|
| 1 | Did you perform the ABS Diagnostic System Check? | -- | Go to Step 2 | |
| 2 | Inspect the ABS MOT fuse in the LH underhood fuse block. Is the fuse OK? | -- | Go to Step 7 | Go to Step 3 | 
| 3 | 
 Is the fuse OK? | -- | Go to Step 4 | |
| 
 Does the resistance equal the specified value? | OL (infinite) | Go to Step 5 | Go to Step 10 | |
| 
 Does the resistance equal the specified value? | OL (infinite) | Go to Step 9 | Go to Step 6 | |
| 6 | Replace the BPMV. Refer to Brake Pressure Modulator Valve Replacement . Did you complete the repair? | -- | -- | |
| 7 | 
 Is the voltage within the specified range? | Battery Voltage | Go to Step 8 | Go to Wiring Repairs in Wiring Systems | 
| 
 Is the voltage within the specified range? | Battery Voltage | Go to Step 9 | Go to Step 11 | |
| 9 | Replace the EBCM/EBTCM. Refer to Electronic Brake Control Module Replacement . Did you complete the repair? | -- | -- | |
| 10 | Repair the short to ground in CKT 642 (RED). Refer to Wiring Repairs in Wiring Systems. Did you complete the repair? | -- | -- | |
| 11 | Repair the open or high resistance in CKT 642 (RED). Refer to Wiring Repairs in Wiring Systems. Did you complete the repair? | -- | -- |