 
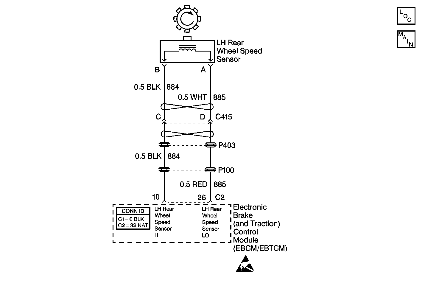
The wheel speed sensor used on this vehicle is a single point magnetic pickup. This sensor produces an AC signal. The EBCM/EBTCM uses the frequency of the AC signal to calculate the wheel speed.
The DTC sets if all of the following occur:
| • | The brake pedal is not depressed. | 
| • | No wheel speed sensor hardware DTCs are present. | 
| • | The EBCM/EBTCM detects a rapid variation of the wheel speed. | 
| • | A malfunction DTC is stored. | 
| • | The ABS/TCS is disabled. | 
| • | The ABS indicator isturned ON. | 
| • | The TRACTION OFF indicator is turned ON. | 
| • | The condition for the DTC is no longer present and you used the scan tool Clear DTC function. | 
| • | The EBCM/EBTCM does not detect the DTC in 50 drive cycles. | 
| • | It is very important that a thorough inspection of the wiring and connectors be performed. Failure to carefully and fully inspect wiring and connectors may result in misdiagnosis, causing part replacement with reappearance of the malfunction. | 
| • | An intermittent malfunction can be caused by poor connections, broken insulation, or a wire that is broken inside the insulation. | 
| • | If an intermittent malfunction exists, refer to Intermittents and Poor Connections Diagnosis in Wiring Systems. | 
The numbers below refer to step numbers on the diagnostic table.
This step checks the resistance of the wheel speed sensor (WSS).
This step checks if the WSS circuits are shorted together.
| Step | Action | Value(s) | Yes | No | 
|---|---|---|---|---|
| 1 | Did you perform the ABS Diagnostic System Check? | -- | ||
| 2 | 
 Is physical damage of sensor evident? | -- | Go to Step 7 | Go to Step 3 | 
| 
 Is the resistance within the specified range? | 850-1350 ohms | Go to Step 4 | Go to Step 7 | |
| 4 | 
 Is the AC voltage above the specified value? | 100 mV | Go to Step 5 | Go to Step 7 | 
| 
 Does the resistance equal the specified value? | OL (Infinite) | Go to Step 6 | Go to Step 8 | |
| 6 | 
 Does DTC reset as a current DTC? | -- | Go to Step 9 | |
| 7 | Replace the LH rear wheel speed sensor. Refer to Rear Wheel Speed Sensor Replacement . Did you complete the repair? | -- | Go to Step 10 | -- | 
| 8 | Repair short between CKT 884 and CKT 885. Refer to Wiring Repairs in Wiring Systems. Did you complete the repair? | -- | Go to Step 10 | -- | 
| 9 | Replace the EBCM/EBTCM. Refer to Electronic Brake Control Module Replacement . Did you complete the repair? | -- | Go to Step 10 | -- | 
| 10 | Carefully test drive vehicle above 24 Km/h (15 mph) while monitoring a scan tool for at least 30 seconds. Does the DTC set as a current DTC? | -- | Go to Step 2 |