GM Service Manual Online
For 1990-2009 cars only
  1. Remove the caliper anchor bracket. Refer to Brake Caliper Bracket Replacement .

  2. Object Number: 661837  Size: SH
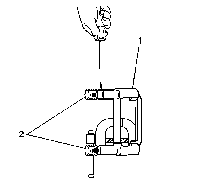
  3. Mount the anchor bracket (1) in a vise.
  4. Remove the Pin bolt boots (2) from caliper anchor bracket (1).

  5. Object Number: 105270  Size: SH
  6. Remove the bushings (2) from the anchor bracket mounting bores. Use a screwdriver or punch to bend the bushings inward and extract bushings with needle nose pliers.
  7. Important: 

       • Clean all parts with clean denatured alcohol. Dry with unlubricated compressed air.
       • Inspect the caliper anchor bracket for cracks. If cracked, replace bracket.

  8. Lubricate and install new bushings into bracket mounting bores.
  9. Lubricate and install new pin bolt boots onto the anchor bracket.
  10. Install the anchor bracket onto the vehicle. Refer to Brake Caliper Bracket Replacement .