GM Service Manual Online
For 1990-2009 cars only

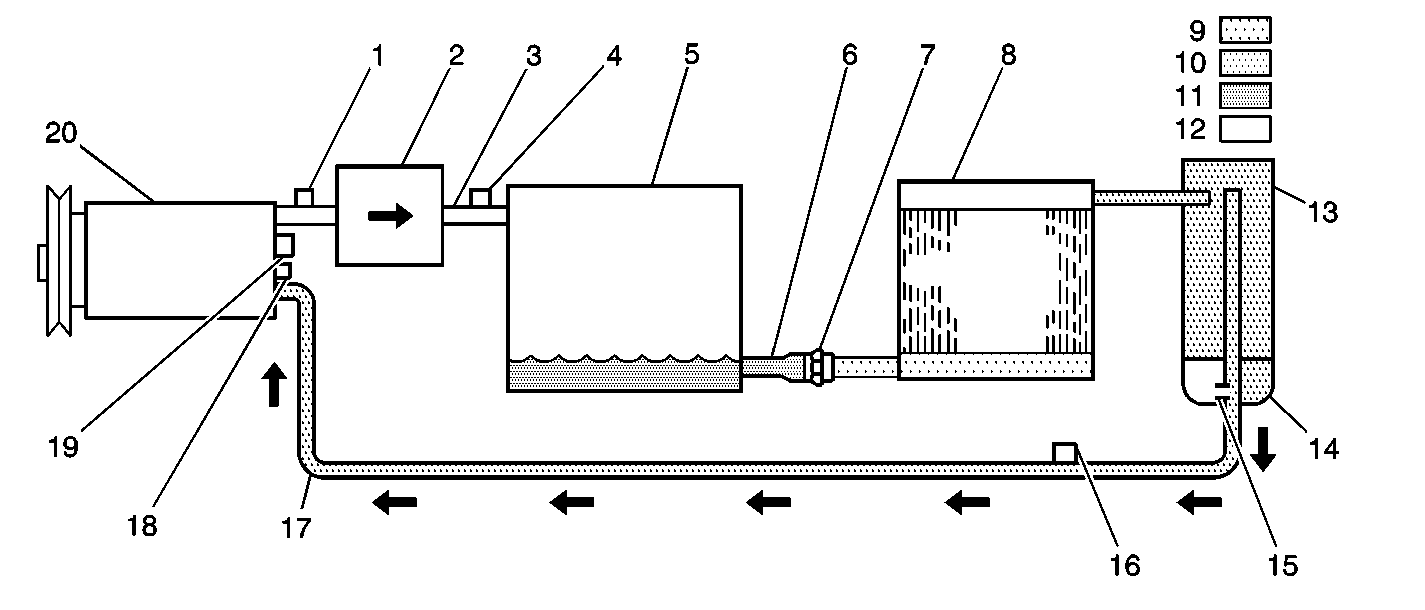
VDOT Refrigeration System


Object Number: 263825  Size: SF
(1)A/C Pressure Sensor
(2)Muffler
(3)High-Side (Discharge) Line
(4)High-Side Service Port
(5)Condenser
(6)Liquid Line
(7)Expansion (Orifice) Tube
(8)Evaporator
(9)Low Pressure Liquid
(10)Low Pressure Vapor
(11)High Pressure Liquid
(12)High Pressure Vapor
(13)Accumulator
(14)Desiccant
(15)Oil Bleed Hole
(16)Low-Side Service Port
(17)Low-Side (Suction) Line
(18)High Pressure Cut Out Switch
(19)High Pressure Relief Valve
(20)Compressor

The Variable Displacement Orifice Tube (VDOT) refrigeration system is comprised of a variable displacement compressor and a fixed expansion (orifice) tube. This system can match the air conditioning demands under all conditions without cycling.

Depending on engine usage, the compressor is cut off. Following are some examples of conditions resulting in compressor cutoff:

    • Wide open throttle
    • High engine RPMs
    • Low idle speed
    • Low outside air temperature
    • High P/S loads
    • High compressor pressure
    • Low battery voltage
    • High coolant temperature

When the engine is turned to OFF, after the A/C system has been running, the refrigerant in the system will flow from the high pressure side of the evaporator tube orifice to the low pressure side until the pressure is equalized. This may be detected as a faint hissing sound for 30-60 seconds and is a normal condition.