GM Service Manual Online
For 1990-2009 cars only

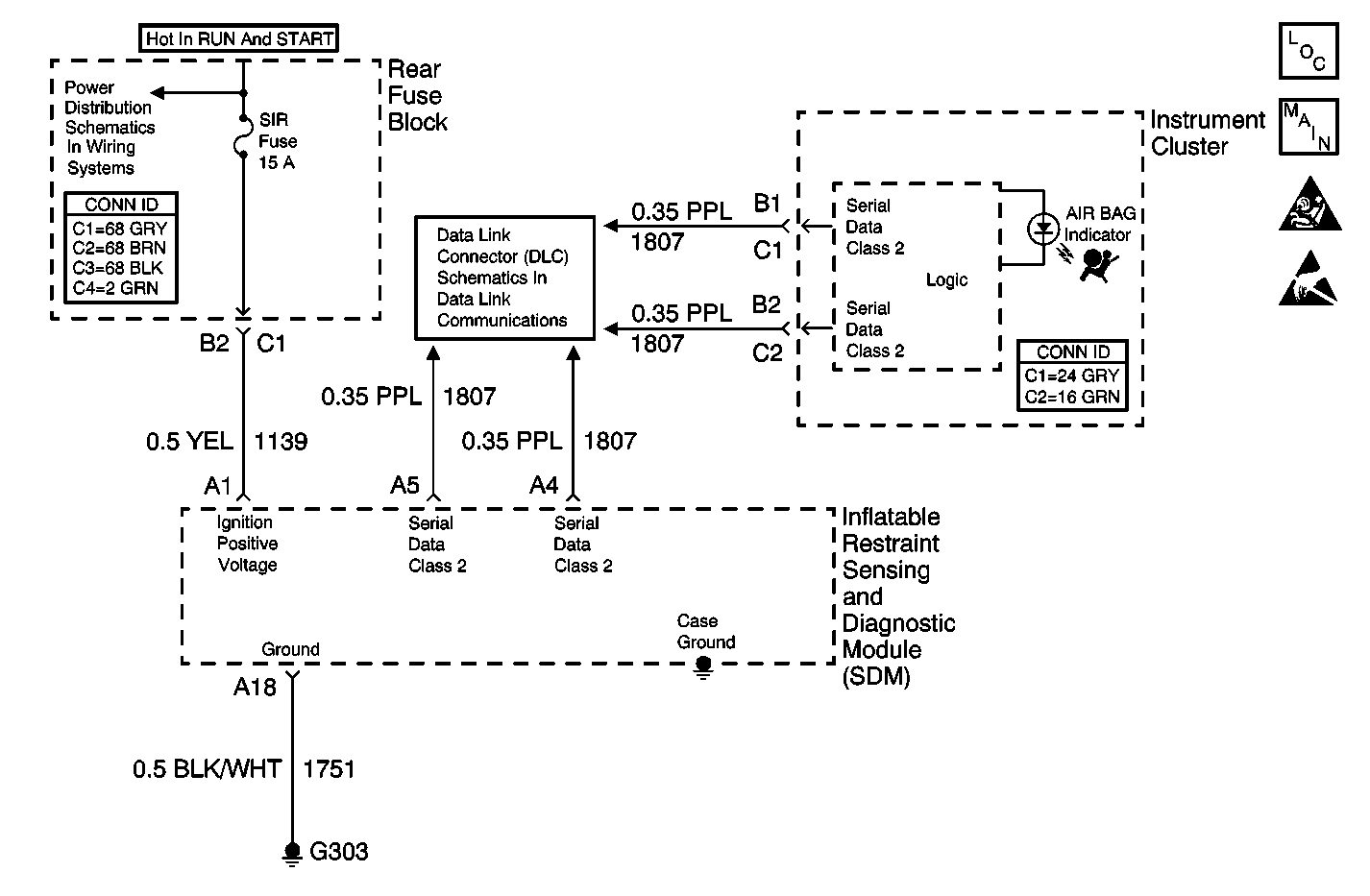
Object Number: 465518  Size: MF
SIR Components
SIR Schematics
SIR Handling Caution
Handling ESD Sensitive Parts Notice
IGN-1, VENT SOL and SIR Fuse (Rear Fuse Block)
Data Link Connector Schematics
Instrument Cluster: Analog Schematics

Circuit Description

The ignition switch supplies Ignition voltage to the Inflatable Restraint Sensing and Diagnostic Module (SDM) at terminal A1 using the SIR (Air Bag) Fuse. The ignition switch also supplies Ignition 1 voltage to the instrument panel cluster (IPC). The AIR BAG warning lamp is controlled by the SDM via Class 2 serial data. When the ignition switch is first turned ON, the SDM responds by performing tests on the SIR system and then commanding the AIR BAG warning lamp OFF after it has flashed seven times if no DTCs are present.

Diagnostic Aids

If battery voltage is outside of the normal operating voltage range (9 volts-16 volts), the AIR BAG warning lamp will come ON solid with no DTCs set.

Step

Action

Value(s)

Yes

No

DEFINITION: AIR BAG Warning Indicator Circuit Malfunction, No DTCs set.

1

Did you perform the Diagnostic System Check?

--

Go to Step 2

Go to Diagnostic System Check - SIR

2

  1. Using a scan tool, establish communication with the inflable restraint sensing and diagnostic module (SDM).
  2. Use the scan tool to request the SIR data list display.
  3. Using the scan tool, observe the ignition voltage parameter in the SIR data list.

Does the scan tool indicate that the ignition voltage is within the specified range?

9.6-16 V

Go to Step 3

Go to Diagnostic System Check - Engine Electrical in Engine Electrical

3

  1. Using the scan tool pull up Special Functions in Instrument Panel Cluster.
  2. Go to WOW Instrument Cluster in Output Control.
  3. In the WOW mode you can turn ON or OFF the instrument panel indicators.
  4. All indicators will turn ON when commanded on.

Does scan tool command the AIR BAG Warning Indicator ON then OFF?

--

Go to Step 4

Go to Step 5

4

Replace the SDM. Refer to Inflatable Restraint Sensing and Diagnostic Module Replacement .

Did you complete the replacement?

--

Go to Diagnostic System Check - SIR

--

5

The AIR BAG warning lamp is not serviceable separately. The instrument panel cluster (IPC) must be service as a complete unit. Refer to Instrument Cluster Replacement in Instrument Panel, Gauges, and Console.

Did you complete the repair?

--

Go to Diagnostic System Check - SIR

--