GM Service Manual Online
For 1990-2009 cars only
Makes
🢒
Buick
🢒
2000
🢒
LeSabre
🢒
Body and Accessories
🢒
Garage Door Opener
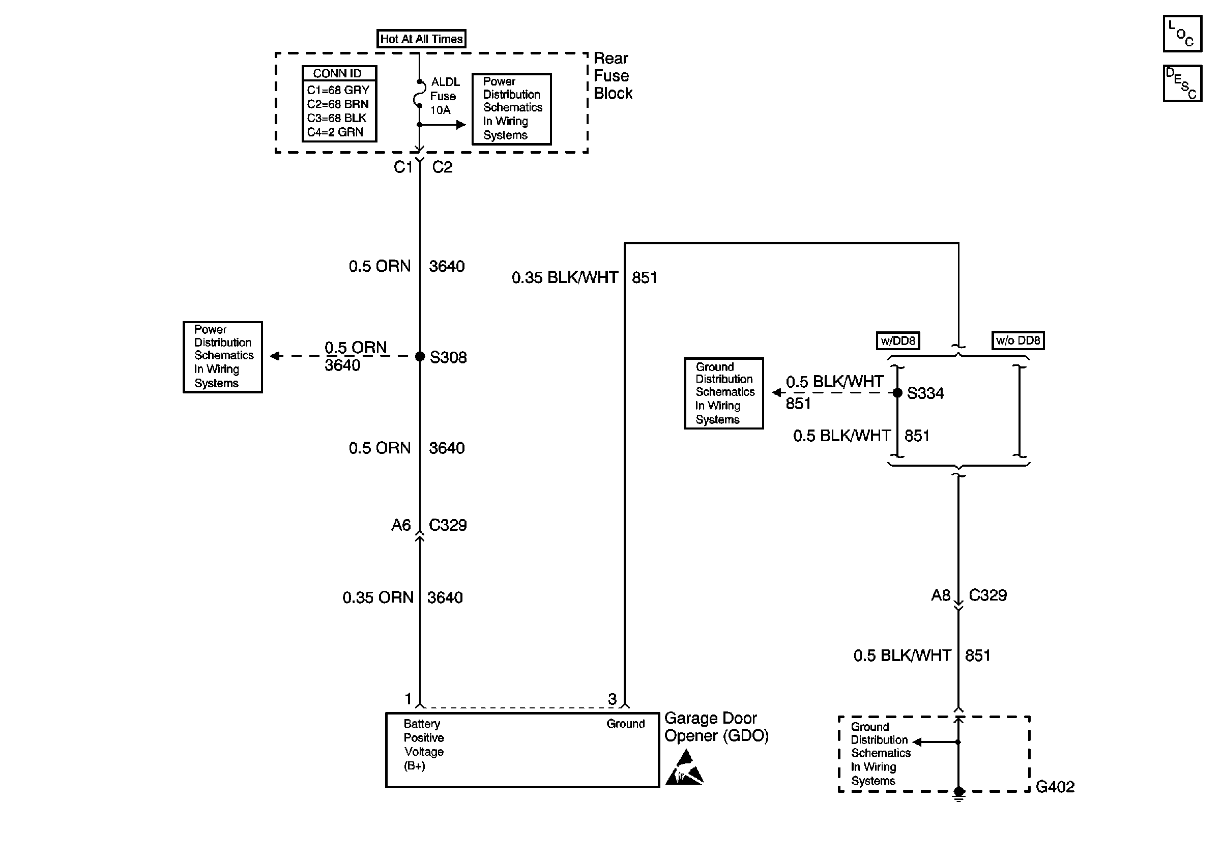
🢒 Garage Door Opener Schematics
Garage Door Opener Component Views
Garage Door Opener Description
ELC, TRK/REL, and REAR DEFOG Relays, ELC, REAR DEFOG and ALDL Fuses(Rear Fuse Block)
G402
G402
Handling ESD Sensitive Parts Notice
ELC, TRK/REL, and REAR DEFOG Relays, ELC, REAR DEFOG and ALDL Fuses(Rear Fuse Block)