GM Service Manual Online
For 1990-2009 cars only
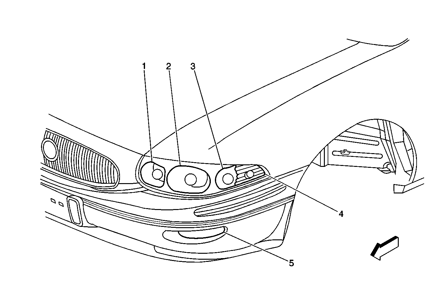
Figure 1:

Front Exterior Lighting Views


Object Number: 491498  Size: MF
(1)LH Low Beam Headlamp (RH Similar)
(2)LH High Beam Headlamp (RH Similar)
(3)LH Cornering Lamp (RH Similar)
(4)LH Front Side Marker Lamp (RH Similar)
(5)LH Park/Turn Signal Lamp (RH Similar)
Figure 2:

Underhood Lamp


Object Number: 491763  Size: MF
(1)Underhood Lamp
Figure 3:

Accessory Controls


Object Number: 491508  Size: MF
(1)Headlamp Switch
(2)Hazard Flasher Switch
(3)LH Steering Wheel Controls
(4)RH Steering Wheel Controls
(5)RH Cruise Control Switch
(6)LH Cruise Control Switch
(7)Turn Signal/Multifunction Lever
Figure 4:

I/P Compartment Lamp and Switch


Object Number: 513597  Size: MF
(1)I/P Compartment Lamp and Switch
Figure 5:

Turn Signal/Hazard Flasher Module


Object Number: 491538  Size: MF
(1)Turn Signal/Hazard Flasher Module
Figure 6:

Left Front Door Trim Panel


Object Number: 482487  Size: MF
(1)LH Front Door Power Lock Switch
(2)LH Front Door Speaker Tweeter
(3)Memory Seat Switches
(4)Heated Seat Switches
(5)Power Mirror Switch
(6)LH Front Door Power Window Switch
(7)Hood Release
(8)Trunk Lock Out Switch
(9)LH Door Speaker
(10)LH Front Door Courtesy Lamp
(11)LH Front Door Warning Lamp
Figure 7:

Right Rear Door Trim Panel


Object Number: 482489  Size: MF
(1)RH Rear Door Power Window Switch (LH Similar)
(2)RH Front Door Courtesy Lamp (LH Similar)
(3)RH Rear Door Power Lock Switch (LH Similar)
Figure 8:

Rear Compartment Courtesy Lamp


Object Number: 491505  Size: MF
(1)Rear Compartment Courtesy Lamp
Figure 9:

Right Front Door Trim Panel


Object Number: 482488  Size: MF
(1)RH Front Door Power Lock Switch
(2)RH Front Door Courtesy Lamp
(3)RH Front Door Warning Lamp
(4)RH Front Door Power Window Switch
(5)HVAC Passenger Temperature Controls
Figure 10:

Overhead Console


Object Number: 491764  Size: MF
(1)Power Sunroof Switch
(2)RH Vanity Mirror (on sunshade)
(3)RH Courtesy/Reading Lamp
(4)LH Courtesy/Reading Lamp
(5)LH Vanity Mirror (on sunshade)
(6)Universal Garage Door Opener Switches
Figure 11:

Rear Exterior Lighting Views


Object Number: 491503  Size: MF
(1)Center High Mounted Stop Lamp (CHMSL)
(2)LH Rear Side Marker Lamp (RH Similar)
(3)LH Tail/Stop/Turn Lamp
(4)LH Tail Lamps
(5)LH Backup Lamp
(6)LH License Plate Lamp
(7)RH License Plate Lamp
(8)RH Backup Lamp
(9)RH Tail Lamps
(10)RH Tail/Stop/Turn Lamp