GM Service Manual Online
For 1990-2009 cars only
Table 1: Center High Mounted Stoplamp (CHMSL)
Table 2: Courtesy Lamp W/C96
Table 3: Headlamp Switch Assembly
Table 4: IP Compartment Lamp and Switch
Table 5: LH Backup Lamp
Table 6: LH Cornering Lamp
Table 7: LH Courtesy/Reading Lamp (+C96)
Table 8: LH Footwell Courtesy Lamp
Table 9: LH Front Door Coutesy Lamp
Table 10: Left Front Side Marker Lamp
Table 11: LH High Beam Headlamp
Table 12: License Lamp
Table 13: LH Low Beam Headlamp
Table 14: LH Park/Turn Lamp
Table 15: LH Rear Door Courtesy Lamp
Table 16: LH Rear Side Marker Lamp
Table 17: LH Tail Lamp
Table 18: LH Tail/Stop/Turn Signal Lamp
Table 19: LH Vanity Mirror
Table 20: License Lamp
Table 21: Overhead Courtesy/Reading Lamp
Table 22: Rear Compartment Courtesy Lamp
Table 23: RH Backup Lamp
Table 24: RH Cornering Lamp
Table 25: RH Courtesy/Reading Lamp (+C96)
Table 26: RH Footwell Courtesy Lamp
Table 27: RH Front Door Coutesy Lamp
Table 28: Right Front Side Marker Lamp
Table 29: RH High Beam Headlamp
Table 30: RH Low Beam Headlamp
Table 31: RH Park/Turn Lamp
Table 32: RH Rear Door Courtesy Lamp
Table 33: RH Rear Side Marker Lamp
Table 34: RH Tail Lamp
Table 35: RH Tail/Stop/Turn Signal Lamp
Table 36: RH Vanity Mirror
Table 37: Sunload and Ambient Light Sensor
Table 38: Turn Signal/Hazard Lamp Control Module
Table 39: Underhood Lamp

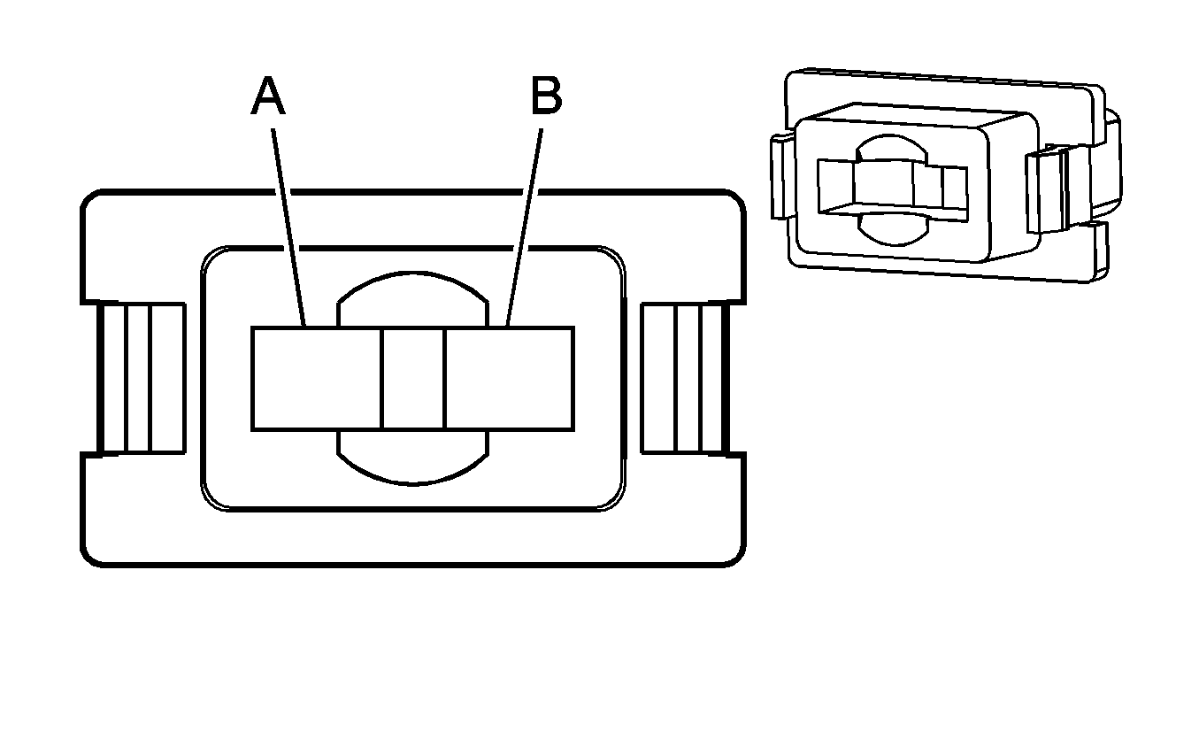
Center High Mounted Stoplamp (CHMSL)


Object Number: 62488  Size: CH

Connector Part Information

    • 12047665
    • 2 Way F Metri-pack 150.2 Series

Pin

Wire Color

Circuit No.

Function

A

WHT

17

Stoplamp Switch Output

B

BLK

1050

Ground

Courtesy Lamp W/C96


Object Number: 333035  Size: CH

Connector Part Information

    • 12047781
    • 3-Way F Metri - Pack 150 Series (BLK)

Pin

Wire Color

Circuit No.

Function

A

GRY

157

Interior Lamp Output

B

DK BLU/WHT

149

Courtesy Lamp Feed

C

BLK

850

Ground

Headlamp Switch Assembly


Object Number: 73151  Size: CH

Connector Part Information

    • 12064799
    • 12-Way F Micro - Pack 100 Series (BLK)

Pin

Wire Color

Circuit No.

Function

A

YEL

61

Outside Ambient Temperature Sensor Return

B

DK GRN

44

Instrument Panel Lamps Dimmer Switch Output

C

--

--

Not used

D

PPL/WHT

1382

LED Dimming Signal

E

PNK/BLK

1597

Ignition Lamp Output - On

F

WHT

103

Headlamp Switch Signal Headlamps On

G

BLK

350

Ground

H

ORN

440

Fuse Output - Battery - Type III Fuse

J

BRN/WHT

301

Park Lamp Switch Signal - Parklamps On

K

PPL

1783

Twilight Sentinel Delay Signal

L

YEL

1491

Dash Intergration Module Output - Backlighting Lamps

M

LT BLU/BLK

1688

Refernce Voltage - Feed 5 Volt Refence

IP Compartment Lamp and Switch


Object Number: 82383  Size: CH

Connector Part Information

    • 12047662
    • 2-Way F Metri - Pack 150 Series (BLK)

Pin

Wire Color

Circuit No.

Function

A

DK BLU/WHT

149

Courtesy Lamp Feed

B

BLK

450

Ground

LH Backup Lamp


Object Number: 82372  Size: CH

Connector Part Information

    • 12160393
    • Lamp Socket Wedge Base W3 Right Angle (GRY)

Pin

Wire Color

Circuit No.

Function

A

LT GRN

24

Backup Lamp Feed - Left

G

BLK

1050

Ground

LH Cornering Lamp


Object Number: 82372  Size: CH

Connector Part Information

    • 12160393
    • Lamp Socket Wedge Base W3 Right Angle (LT GRY)

Pin

Wire Color

Circuit No.

Function

A

ORN

57

Cornering Lamp Feed - Left

G

BLK

250

Ground

LH Courtesy/Reading Lamp (+C96)


Object Number: 333035  Size: CH

Connector Part Information

    • 12047781
    • 3 Way F Metri - Pack 150 Series (BLK)

Pin

Wire Color

Circuit No.

Function

A

GRY

157

Interior Lamp Output

B

DK BLU/WHT

149

Courtesy Lamp Feed

C

BLK

850

Ground

LH Footwell Courtesy Lamp


Object Number: 130724  Size: CH

Connector Part Information

    • 12064869
    • 2-Way F Metri - Pack 150 Series (BLU)

Pin

Wire Color

Circuit No.

Function

A

DK BLU/WHT

149

Courtesy Lamp Feed

B

GRY

157

Ignition Lamp Output

LH Front Door Coutesy Lamp


Object Number: 258679  Size: CH

Connector Part Information

    • 12124065
    • 2-Way F Metri - Pack 150 Series (BLK)

Pin

Wire Color

Circuit No.

Function

A

DK BLU/WHT

149

Courtesy Lamp Feed

B

GRY

157

Interior Lamp Output

Left Front Side Marker Lamp


Object Number: 287977  Size: CH

Connector Part Information

    • 12110053
    • Lamp Socket BB W2 (LT GRY)

Pin

Wire Color

Circuit No.

Function

A

PPL

709

Park Lamp Feed - Left

B

LT BLU

14

Turn Signal Lamp Feed - Left Front

LH High Beam Headlamp


Object Number: 35447  Size: CH

Connector Part Information

    • 12059183
    • 2 Way Metri - Pack 280 Series F (BLK)

Pin

Wire Color

Circuit No.

Function

A

DK GRN / WHT

711

High Beam Headlamp Feed - Left

B

PNK

1200

Headlamp Lamp Output - High Beam

License Lamp


Object Number: 287977  Size: CH

Connector Part Information

    • 15317651
    • Lamp Socket BB W2 (LT GRY)

Pin

Wire Color

Circuit No.

Function

A

YEL

32

Fuse Output - Instrument Panel Lamps - Type III Fuse

B

BLK

1050

Ground

LH Low Beam Headlamp


Object Number: 35444  Size: CH

Connector Part Information

    • 12059181
    • 2 Way Metri - Pack 280 Series F (GRY)

Pin

Wire Color

Circuit No.

Function

A

YEL

712

Low Beam Headlamp Feed - Left

B

BLK

250

Ground

LH Park/Turn Lamp


Object Number: 62453  Size: CH

Connector Part Information

    • 12059595
    • 3 way F Metri - Pack 150 Series (BLK)

Pin

Wire Color

Circuit No.

Function

A

LT BLU

14

Turn Signal Lamp Feed - Left Front

B

PPL

709

Park Lamp Feed - Left

C

BLK

250

Ground

LH Rear Door Courtesy Lamp


Object Number: 258679  Size: CH

Connector Part Information

    • 12124065
    • 2 way F Metri - Pack 100 Series (BLK)

Pin

Wire Color

Circuit No.

Function

A

DK BLU/WHT

149

Courtesy Lamp Feed

B

GRY

157

Interior Lamp Output

LH Rear Side Marker Lamp


Object Number: 287977  Size: CH

Connector Part Information

    • 12110053
    • Lamp Socket BB W2 (LT GRY)

Pin

Wire Color

Circuit No.

Function

A

PPL

709

Park Lamp Feed - Left

B

BLK

850

Ground

LH Tail Lamp


Object Number: 287977  Size: CH

Connector Part Information

    • 1211053
    • Lamp Socket BB W-2 (GRY)

Pin

Wire Color

Circuit No.

Function

A

PPL

709

Park Lamp Feed - Left

B

BLK

1050

Ground

LH Tail/Stop/Turn Signal Lamp


Object Number: 95769  Size: CH

Connector Part Information

    • 12160395
    • Lamp Socket Wedge Base W3 Right Angle (GRY)

Pin

Wire Color

Circuit No.

Function

A

YEL

18

Turn Stop Lamp Feed - Left Rear

B

PPL

709

Park Lamp Feed - Left

G

BLK

850

Ground

LH Vanity Mirror


Object Number: 82383  Size: CH

Connector Part Information

    • 12047662
    • 2-Way F Metri - Pack 150 Series (BLK)

Pin

Wire Color

Circuit No.

Function

A

BLK

850

Ground

B

DK BLU/WHT

149

Courtesy Lamp Feed

License Lamp


Object Number: 287977  Size: CH

Connector Part Information

    • 15317651
    • Lamp Socket BB W2 (LT GRY)

Pin

Wire Color

Circuit No.

Function

A

YEL

32

Fuse Output - Instrument Panel Lamps - Type III Fuse

B

BLK

1050

Ground

Overhead Courtesy/Reading Lamp


Object Number: 73231  Size: CH

Connector Part Information

    • 12064806
    • 6-Way F Metri - Pack 150 Series (BLK)

Pin

Wire Color

Circuit No.

Function

A

BLU/WHT

149

Courtesy Lamp Feed

B-D

--

--

Not Used

E

GRY

157

Interior Lamp Output

F

BLK

850

Ground

Rear Compartment Courtesy Lamp


Object Number: 333035  Size: CH

Connector Part Information

    • 12047781
    • 3 Way F Metri-pack 150 Series (BLK)

Pin

Wire Color

Circuit No.

Function

A

--

--

Not Used

B

BLK/WHT

737

Trunk Lamp Output

C

DK BLU/WHT

149

Courtesy Lamp Feed

RH Backup Lamp


Object Number: 82372  Size: CH

Connector Part Information

    • 12160393
    • Lamp Socket Wedge Base W3 Right Angle (GRY)

Pin

Wire Color

Circuit No.

Function

A

LT GRN

24

Backup Lamp Feed - Right

G

BLK

1050

Ground

RH Cornering Lamp


Object Number: 82372  Size: CH

Connector Part Information

    • 12160393
    • Lamp Socket Wedge Base W3 Right Angle (LT GRY)

Pin

Wire Color

Circuit No.

Function

A

BLK

58

Cornering Lamp Feed - Right

G

BLK

1050

Ground

RH Courtesy/Reading Lamp (+C96)


Object Number: 333035  Size: CH

Connector Part Information

    • 12047781
    • 3 way F Metri - Pack 150 Series (BLK)

Pin

Wire Color

Circuit No.

Function

A

GRA

157

Interior Lamp Output

B

DK BLU/WHT

149

Courtesy Lamp Feed

C

BLK

850

Ground

RH Footwell Courtesy Lamp


Object Number: 130724  Size: CH

Connector Part Information

    • 12064869
    • 2-Way F Metri - Pack 150 Series (BLU)

Pin

Wire Color

Circuit No.

Function

A

DK BLU/WHT

149

Courtesy Lamp Feed

B

GRY

157

Ignition Lamp Output

RH Front Door Coutesy Lamp


Object Number: 258679  Size: CH

Connector Part Information

    • 12124065
    • 2-Way F Metri - Pack 150 Series (BLK)

Pin

Wire Color

Circuit No.

Function

A

DK BLU/WHT

149

Courtesy Lamp Feed

B

GRY

157

Interior Lamp Output

Right Front Side Marker Lamp


Object Number: 287977  Size: CH

Connector Part Information

    • 12110053
    • Lamp Socket BB W2 (LT GRY)

Pin

Wire Color

Circuit No.

Function

A

BRN/WHT

309

Park Lamp Feed - Right

B

DK BLU

15

Turn Signal Lamp Feed - Right Front

RH High Beam Headlamp


Object Number: 35447  Size: CH

Connector Part Information

    • 12059183
    • 2 Way Metri - Pack 280 Series F (BLK)

Pin

Wire Color

Circuit No.

Function

A

LT GRN/BLK

311

High Beam Headlamp Feed - Right

B

BLK

1050

Ground

RH Low Beam Headlamp


Object Number: 35444  Size: CH

Connector Part Information

    • 12059181
    • 2 Way Metri - Pack 280 Series F (GRY)

Pin

Wire Color

Circuit No.

Function

A

TAN/WHT

312

Low Beam Headlamp Feed - Right

B

BLK

1050

Ground

RH Park/Turn Lamp


Object Number: 62453  Size: CH

Connector Part Information

    • 12059595
    • 3 Way F Metri - Pack 150 Series (BLK)

Pin

Wire Color

Circuit No.

Function

A

DK BLU

15

Turn Signal Lamp Feed - Right Front

B

BRN/WHT

309

Park Lamp Feed - Right

C

BLK

250

Ground

RH Rear Door Courtesy Lamp


Object Number: 258679  Size: CH

Connector Part Information

    • 12124065
    • 2 way F Metri - Pack 100 Series (BLK)

Pin

Wire Color

Circuit No.

Function

A

DK BLU/WHT

149

Courtesy Lamp Feed

B

GRY

157

Interior Lamp Output

RH Rear Side Marker Lamp


Object Number: 287977  Size: CH

Connector Part Information

    • 12110053
    • Lamp Socket BB W2 (LT GRY)

Pin

Wire Color

Circuit No.

Function

A

PPL

309

Park Lamp Feed - Right

B

BLK

1050

Ground

RH Tail Lamp


Object Number: 287977  Size: CH

Connector Part Information

    • 1211053
    • Lamp Socket BB W-2 (GRY)

Pin

Wire Color

Circuit No.

Function

A

BRN/WHT

309

Park Lamp Feed - Right

B

BLK

1050

Ground

RH Tail/Stop/Turn Signal Lamp


Object Number: 95769  Size: CH

Connector Part Information

    • 12160395
    • Lamp Socket Wedge Base W3 Right Angle (GRY)

Pin

Wire Color

Circuit No.

Function

A

YEL

19

Turn Stop Lamp Feed - Right Rear

B

PPL

309

Park Lamp Feed - Right

G

BLK

1050

Ground

RH Vanity Mirror


Object Number: 82383  Size: CH

Connector Part Information

    • 12047662
    • 2-Way F Metri - Pack 150 Series (BLK)

Pin

Wire Color

Circuit No.

Function

A

BLK

850

Ground

B

DK BLU/WHT

149

Courtesy Lamp Feed

Sunload and Ambient Light Sensor


Object Number: 130637  Size: CH

Connector Part Information

    • 12064760
    • 4-Way F Metri - Pack 150 Series (BLK)

Pin

Wire Color

Circuit No.

Function

A

LT BLU/BLK

590

LH Solar Sensor Signal

B

GRY

1548

RH Solar Sensor Signal

C

YEL

61

Sensor Ground

D

WHT

278

Ambient Light Sensor Signal

Turn Signal/Hazard Lamp Control Module


Object Number: 62464  Size: CH

Connector Part Information

    • 12064769
    • 10-Way F Micro - Pack 100 Series (NAT)

Pin

Wire Color

Circuit No.

Function

A

BLK

450

Ground

B

BLK

58

Corning Lamp Feed - Right

C

ORN

57

Corning Lamp Feed - Left

D

TAN

2144

Hazard Switch Signal

E

ORN

1740

Fuse Output - Battery - Type III Fuse

F

YEL

18

Stop/TurnLamp Feed - Left Rear

G

LT BLU

14

Turn Signal Lamp Feed - Left Rear

H

WHT

17

Stop Lamp Switch Output

J

DK BLU

15

Turn Signal Lamp Feed - Right Front

K

DK GRN

19

Stop/TurnLamp Feed - Right Rear

Underhood Lamp


Object Number: 35437  Size: CH

Connector Part Information

    • 12052641
    • 2 Way F Metri-pack 150 Series (BLK)

Pin

Wire Color

Circuit No.

Function

A

YEL

32

Fuse Output - Battery

B

BLK

150

Ground