GM Service Manual Online
For 1990-2009 cars only

An antenna sniffer may be used along with the vehicles radio in order to locate hot spots that may be generating radio noise interference.


Object Number: 209123  Size: SH

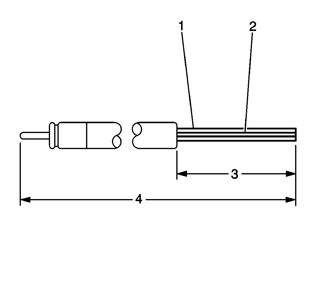
The antenna sniffer can be made from a old antenna lead in cable by cutting off the antenna base lead in. Then strip off approximately 6 cm (2 in) (3) of the outer coax shield (black insulation and braided wire) leaving the inner white insulator (1) and the center conductor wire (2). Use the longest antenna lead in as possible (4), for best results.


Object Number: 209125  Size: SH

By plugging the antenna sniffer into the radio antenna socket you may use the stripped end in order to search for hot spots.

In order to use the antenna noise sniffer, complete the following steps:

Important: When using the antenna sniffer keep your hand away from the stripped end while searching for noise.

  1. Identify the complaint noise.
  2. Disconnect the antenna lead in and plug the antenna sniffer (3) into the radio antenna socket.
  3. Turn up the radio volume.
  4. Search for the noise source (1) along the wiring harness (2).