GM Service Manual Online
For 1990-2009 cars only
Makes
🢒
Buick
🢒
2000
🢒
LeSabre
🢒
Body and Accessories
🢒
Entertainment
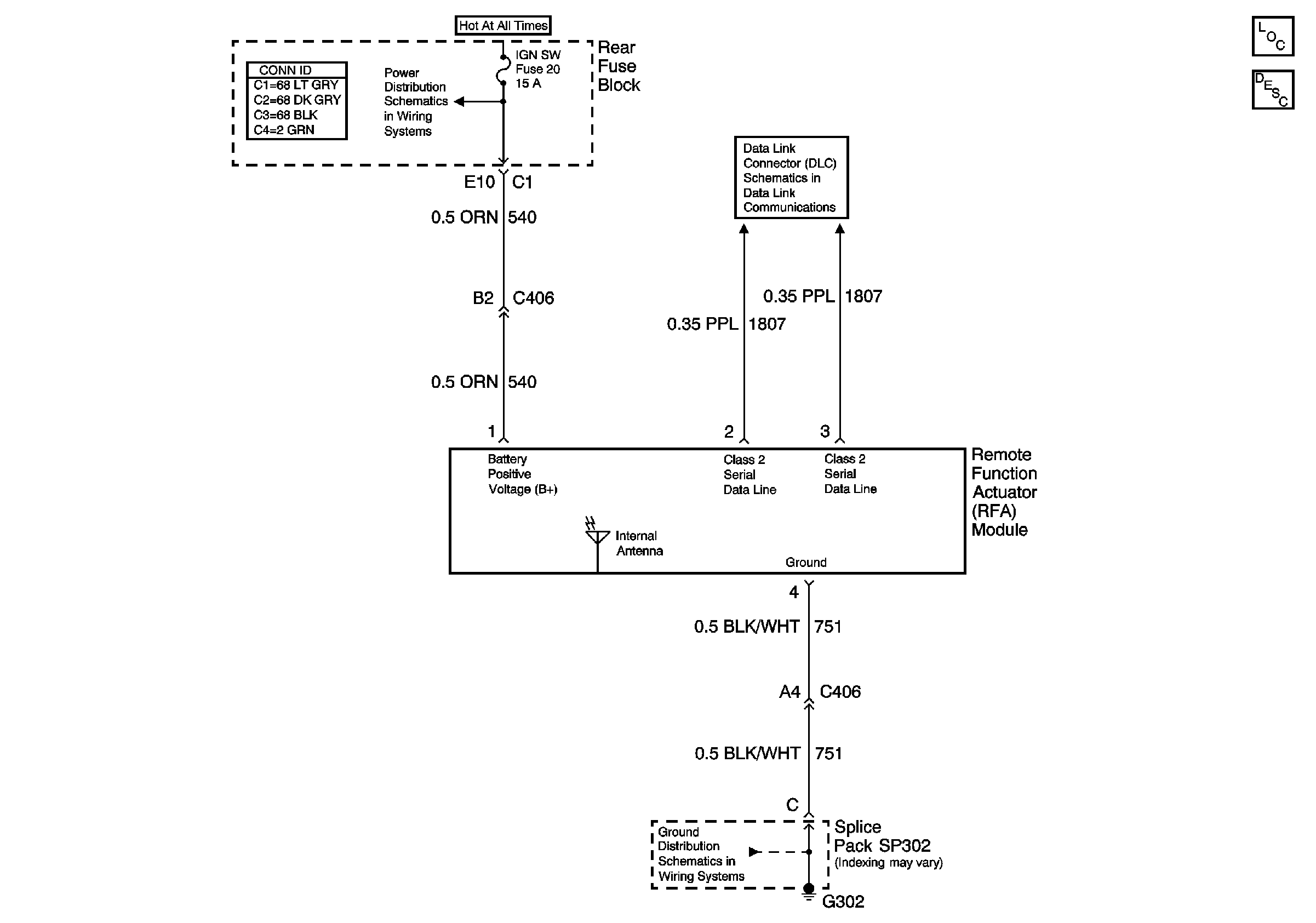
🢒 Keyless Entry Schematics
Keyless Entry Components
Keyless Entry System Description
Handling ESD Sensitive Parts Notice
G302
PARK and REVERSE Relay, NSBU and IGN SW Fuses (Rear Fuse Block)
Serial Data Class 2