GM Service Manual Online
For 1990-2009 cars only
Figure 1:

PWR, GND, Stoplamp Switch, Solenoid Valves, and Pump Motor


Object Number: 403081  Size: FS
ABS Components
ABS Description
Wheel Speed Sensors
Handling ESD Sensitive Parts Notice
Battery Feed to the Rear Fuse Block
Battery Feed to the Rear Fuse Block
Battery Feed to the Underhood Fuse Block
CCM, PCM Controls and Vehicle Speed Input
Turn Signal Switch and Hazard Flasher Module Inputs
Figure 2:

Wheel Speed Sensors


Object Number: 403170  Size: FS
ABS Components
ABS Description
Vehicle Stability Enhancement System (w/JL4)
PWR, GND, Stoplamp Switch, Solenoid Valves, and Pump Motor
Handling ESD Sensitive Parts Notice
Figure 3:

Vehicle Stability Enhancement System (w/JL4)


Object Number: 403069  Size: FS
ABS Components
ABS Description
Traction Control (w/NW9) and Variable Effort Steering (w/NV8)
Wheel Speed Sensors
Handling ESD Sensitive Parts Notice
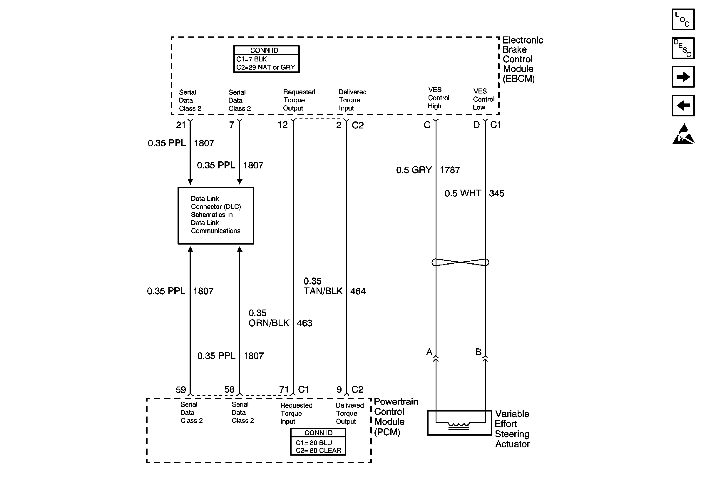
Figure 4:

Traction Control (w/NW9) and Variable Effort Steering (w/NV8)


Object Number: 618774  Size: FS
ABS Components
ABS Description
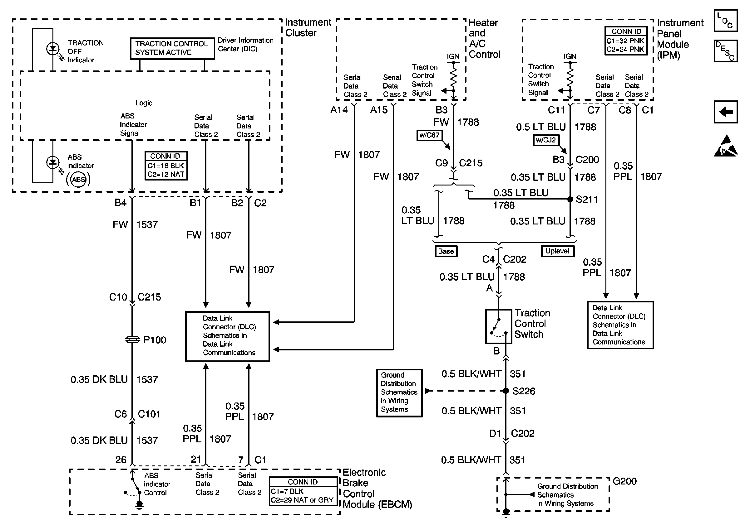
Indicators and Traction Control Switch
Vehicle Stability Enhancement System (w/JL4)
Handling ESD Sensitive Parts Notice
Serial Data Class 2
Figure 5:

Indicators and Traction Control Switch


Object Number: 403095  Size: FS
ABS Components
ABS Description
Traction Control (w/NW9) and Variable Effort Steering (w/NV8)
Handling ESD Sensitive Parts Notice
Serial Data Class 2
Serial Data Class 2
G200 (1 of 2)
G200 (1 of 2)