GM Service Manual Online
For 1990-2009 cars only
Makes
🢒
Buick
🢒
2000
🢒
LeSabre
🢒
Body and Accessories
🢒
Retained Accessory Power
🢒 Retained Accessory Power (RAP) Schematics
Figure
1:
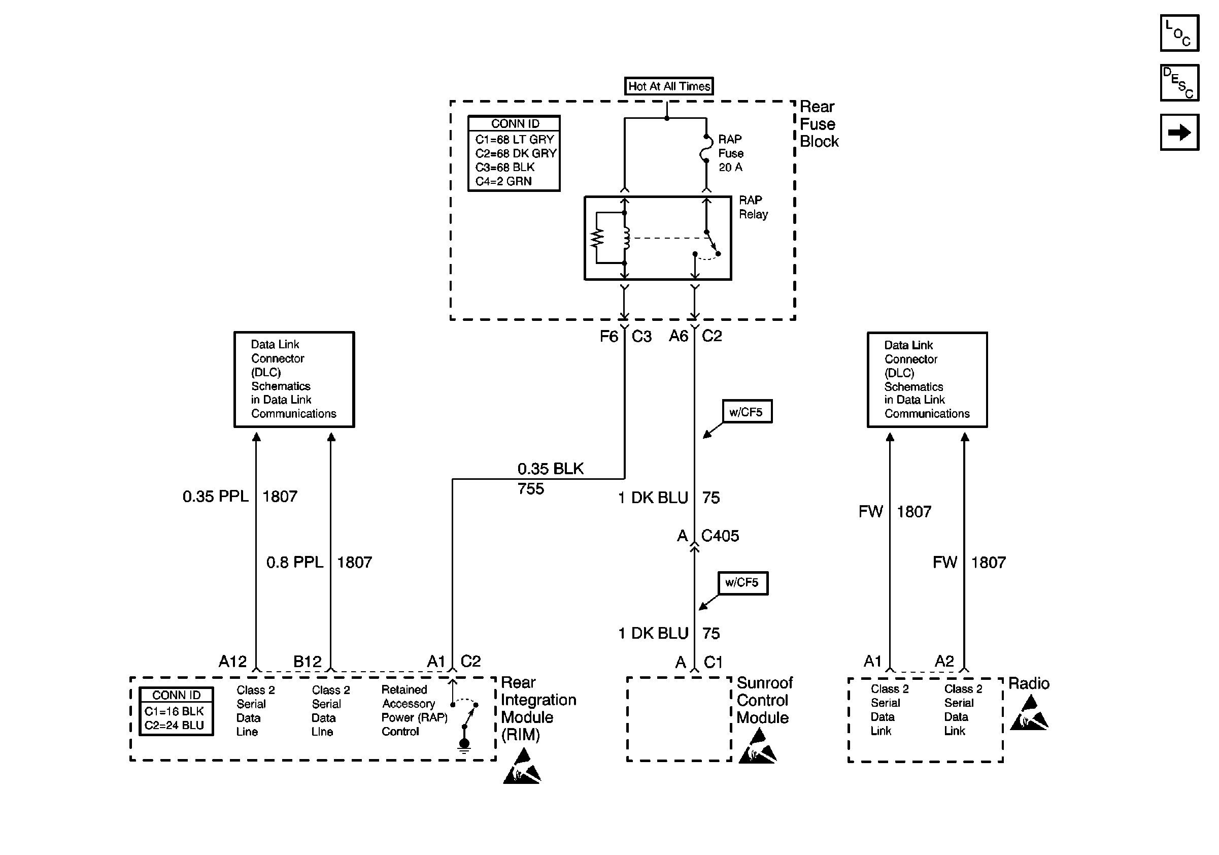
Power, Ground, and Components
Retained Accessory Power (RAP) Components
Retained Accessory Power (RAP) Circuit Description
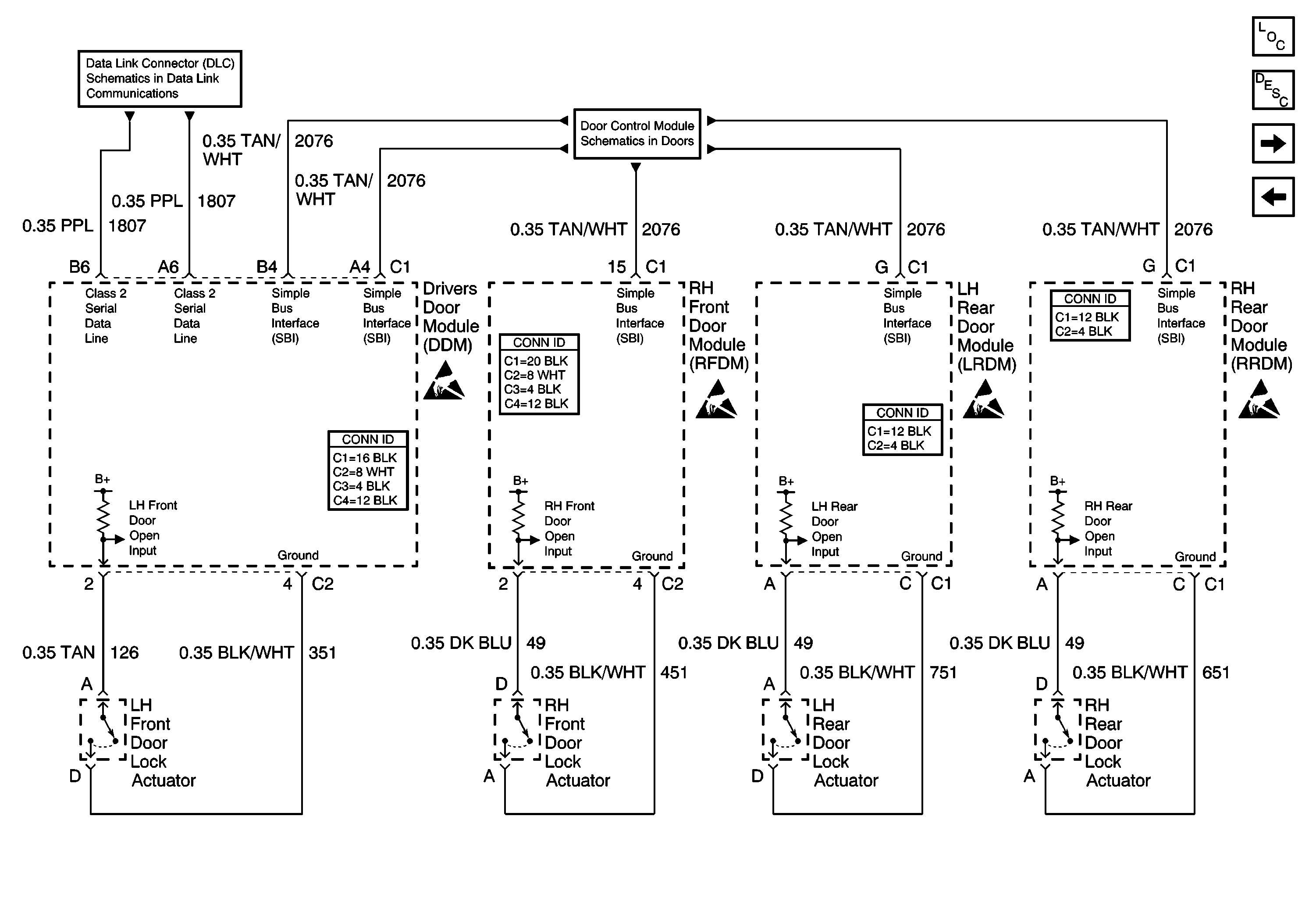
Door Jamb Switches
Handling ESD Sensitive Parts Notice
Serial Data Class 2
Serial Data Class 2
Figure
2:
Door Jamb Switches
Serial Data Class 2
Simple Bus Interface
Handling ESD Sensitive Parts Notice
Handling ESD Sensitive Parts Notice
Handling ESD Sensitive Parts Notice
Handling ESD Sensitive Parts Notice
Retained Accessory Power (RAP) Components
Retained Accessory Power (RAP) Circuit Description
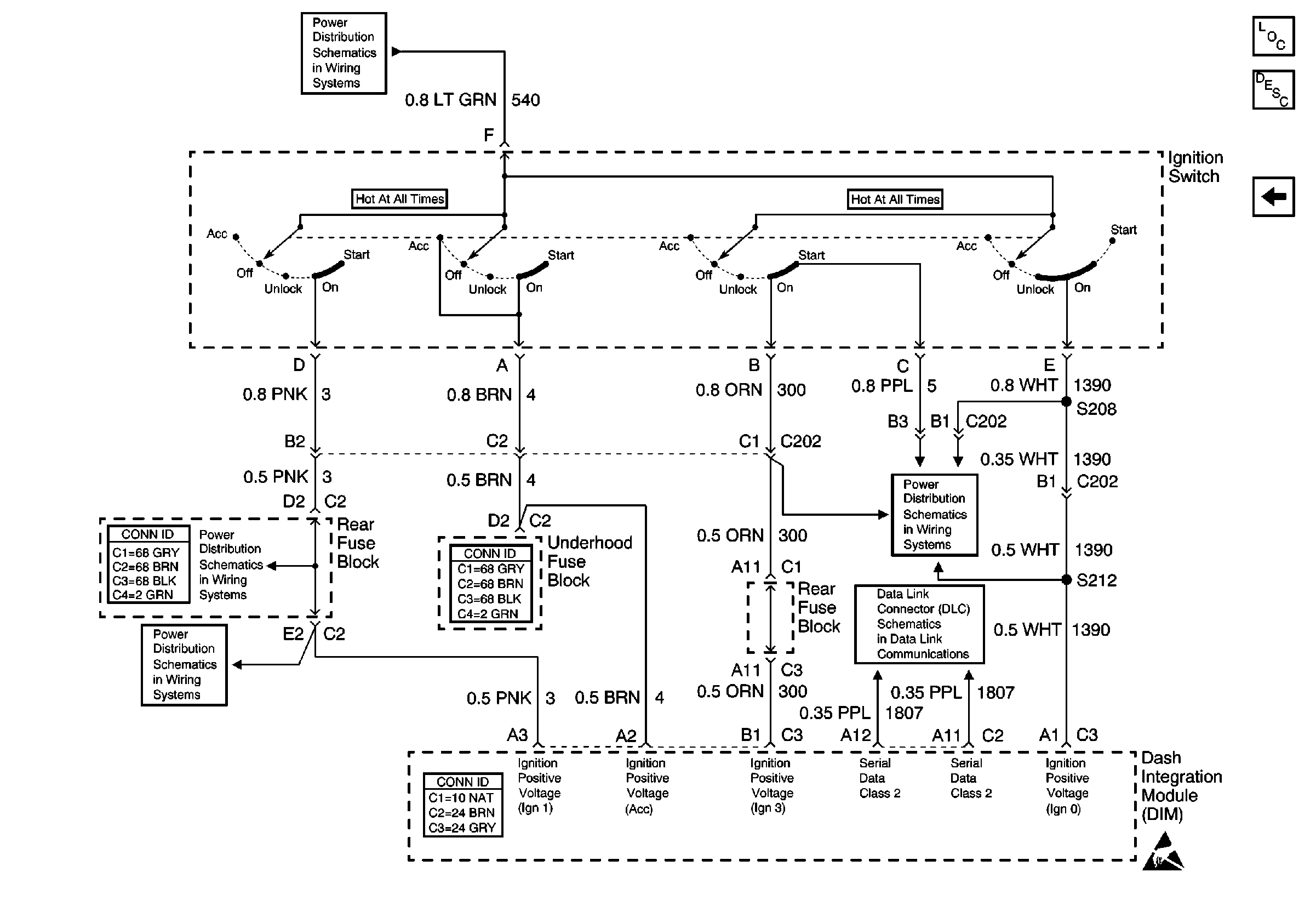
DIM Inputs
Power, Ground, and Components
Figure
3:
DIM Inputs
Retained Accessory Power (RAP) Components
Retained Accessory Power (RAP) Circuit Description
Door Jamb Switches
Handling ESD Sensitive Parts Notice
Ignition Switch (2 of 2)
Ignition Switch (2 of 2)
PARK and REVERSE Relay, NSBU and IGN SW Fuses (Rear Fuse Block)
Ignition Switch (1 of 2)
Serial Data Class 2