GM Service Manual Online
For 1990-2009 cars only

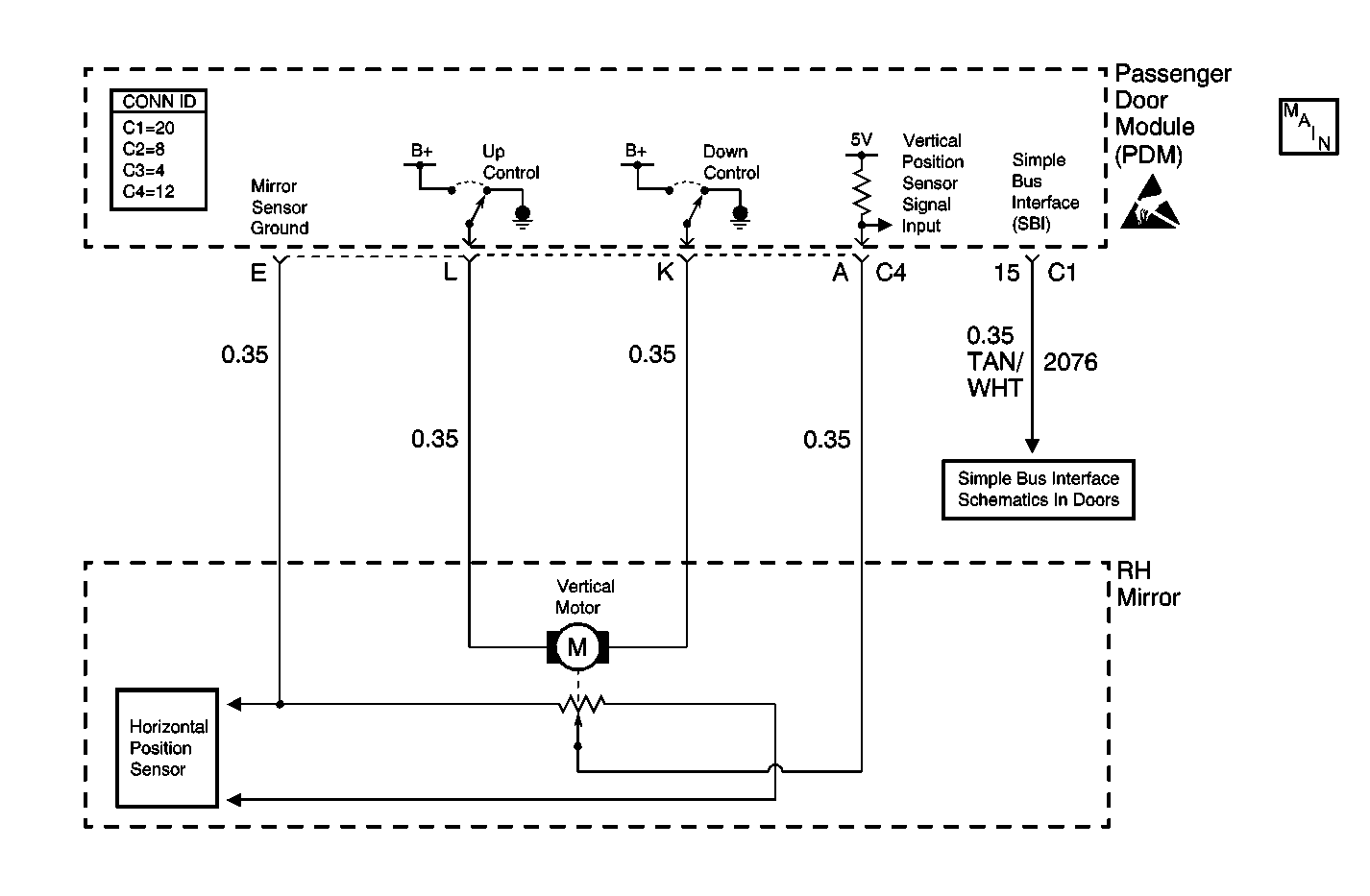
Object Number: 428880  Size: MF
RH Mirrors W/A45
Simple Bus Interface
Handling ESD Sensitive Parts Notice

Circuit Description

The passenger mirror vertical position sensor is a potentiometer. The driver door module (DDM) determines the vertical position of the mirror based on the voltage from the sensor. The sensor is powered by the right front door module (RFDM). The RFDM converts the sensor signal voltage to a simple bus digital signal and communicates it to the DDM.

Conditions for Running the DTC

The DDM and the RFDM must be powered up.

Conditions for Setting the DTC

The signal voltage is more than 4.75 V for more than 2 seconds in the requested position.

Action Taken When the DTC Sets

Memory movements on this axis are disabled. Manual movements are not disabled.

Conditions for Clearing the DTC

When the DDM no longer detects a failure.

Step

Action

Value(s)

Yes

No

1

Did you perform A Diagnostic System Check - Door Systems?

--

Go to Step 2

Go to Diagnostic System Check - Door Systems

2

  1. Install a scan tool.
  2. Turn ON the ignition leaving the engine OFF.
  3. Move the mirror to the limit of travel using the mirror control switches.
  4. Observe the Rt. Vertical Mirror Pos. parameter in the drivers door module data list using the scan tool.

Does the scan tool indicate the voltage changes and is within the specified range?

0.25-4.75 V

Go to Step 8

Go to Step 3

3

  1. Turn OFF the ignition.
  2. Disconnect the mirror harness connector from the door module.
  3. Measure the position sensor 5 volt reference circuit.
  4. Turn ON the ignition leaving the engine OFF.

Does the voltage measure near the specified value?

4.75-5.50 V

Go to Step 4

Go to Step 7

4

  1. Turn OFF the ignition.
  2. Probe the RH mirror vertical position sensor signal circuit with a fused jumper connected to the RH mirror vertical position sensor ground circuit.
  3. Turn ON the ignition leaving the engine OFF.
  4. Observe the right vertical mirror position parameter using the scan tool.

Does the scan tool indicate the voltage is near the specified value?

0-0.25 V

Go to Step 5

Go to Step 7

5

Inspect for poor connections/terminal tension at the right front door module (RFDM) harness connector. Refer to Testing for Intermittent Conditions and Poor Connections and Connector Repairs in Wiring Systems.

Did you find and correct the condition?

--

Go to Step 8

Go to Step 6

6

Replace the RH Mirror. Refer to Power Mirror Replacement .

Did you complete the replacement?

--

Go to Step 8

--

7

Replace the RFDM . Refer to Door Control Module Replacement .

Did you complete the replacement?

--

Go to Step 8

--

8

  1. Clear the DTCs using the scan tool.
  2. Operate the vehicle within the Conditions for Running the DTC as specified in the supporting text.

Does the DTC reset?

--

Go to Step 2

System OK