GM Service Manual Online
For 1990-2009 cars only

Figure 1:

LH Power Recline Switch and Motor


Object Number: 402373  Size: FS
PWR WDO and PWR SEAT Circuit Breakers (Rear Fuse Block)
G301 (1 of 3)
Power Seat Systems Components
Power Seats Circuit Description
RH Power Recline Switch and Motor
Figure 2:

RH Power Recline Switch and Motor


Object Number: 402376  Size: FS
PWR WDO and PWR SEAT Circuit Breakers (Rear Fuse Block)
Power Seat Systems Components
Power Seats Circuit Description
LH Power Recline Switch and Motor
G301 (2 of 3)
Figure 3:

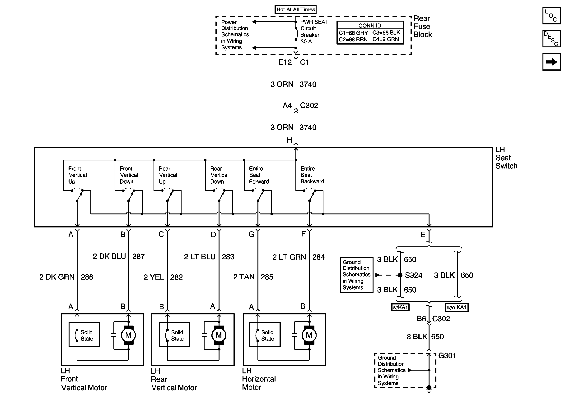
LH Seat Switch and Motors (w/AG1)


Object Number: 402380  Size: FS
PWR WDO and PWR SEAT Circuit Breakers (Rear Fuse Block)
Power Seat Systems Components
Power Seats Circuit Description
RH Seat Switch and Motors (w/AG2)
G301 (1 of 3)
G301 (1 of 3)
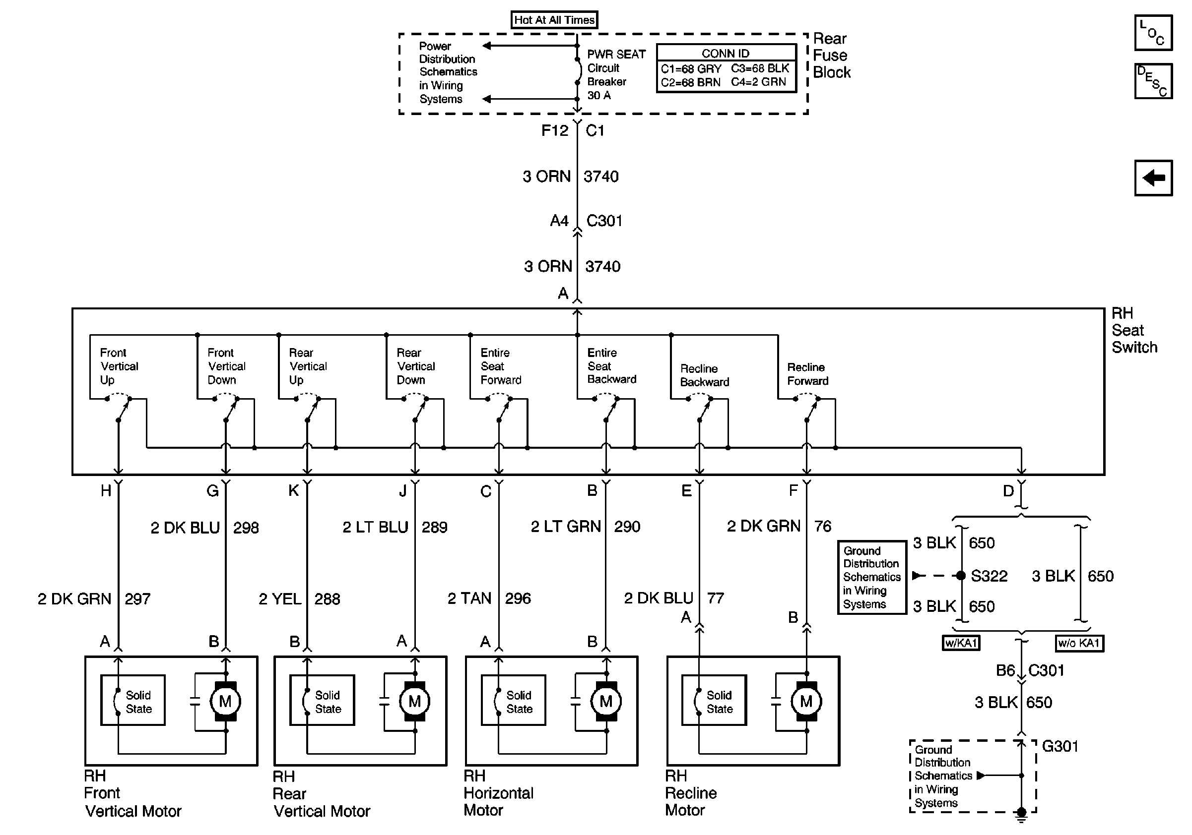
Figure 4:

RH Seat Switch and Motors (w/AG2)


Object Number: 402386  Size: FS
PWR WDO and PWR SEAT Circuit Breakers (Rear Fuse Block)
Power Seat Systems Components
Power Seats Circuit Description
LH Seat Switch and Motors (w/AG1)
G301 (2 of 3)
G301 (2 of 3)
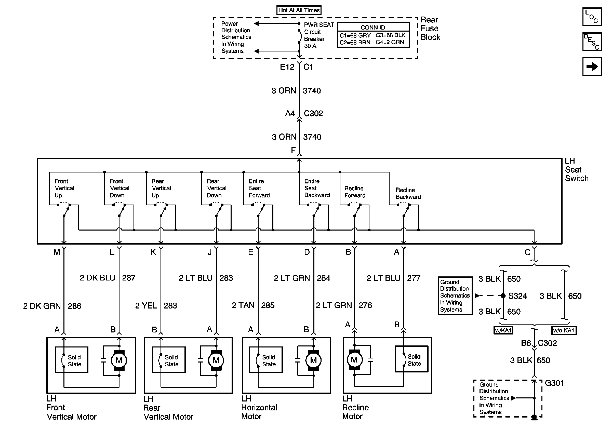
Figure 5:

LH Seat Switch and Motors (w/AG1&A80)


Object Number: 402382  Size: FS
PWR WDO and PWR SEAT Circuit Breakers (Rear Fuse Block)
Power Seat Systems Components
Power Seats Circuit Description
RH Seat Switch and Motors (AG2,A81)
G301 (1 of 3)
G301 (1 of 3)
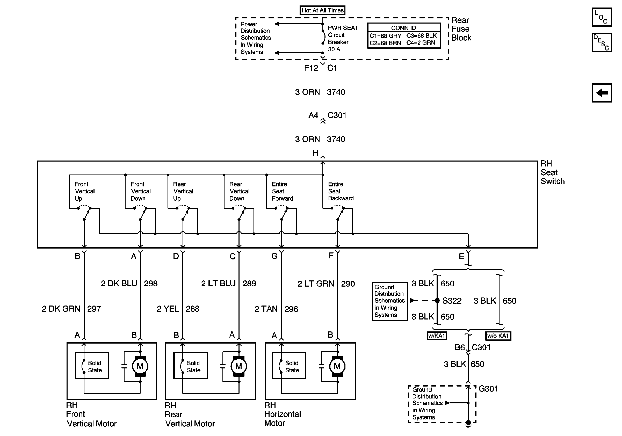
Figure 6:

RH Seat Switch and Motors (AG2,A81)


Object Number: 426307  Size: FS
PWR WDO and PWR SEAT Circuit Breakers (Rear Fuse Block)
Power Seat Systems Components
Power Seats Circuit Description
LH Seat Switch and Motors (w/AG1&A80)
G301 (2 of 3)
G301 (2 of 3)