GM Service Manual Online
For 1990-2009 cars only

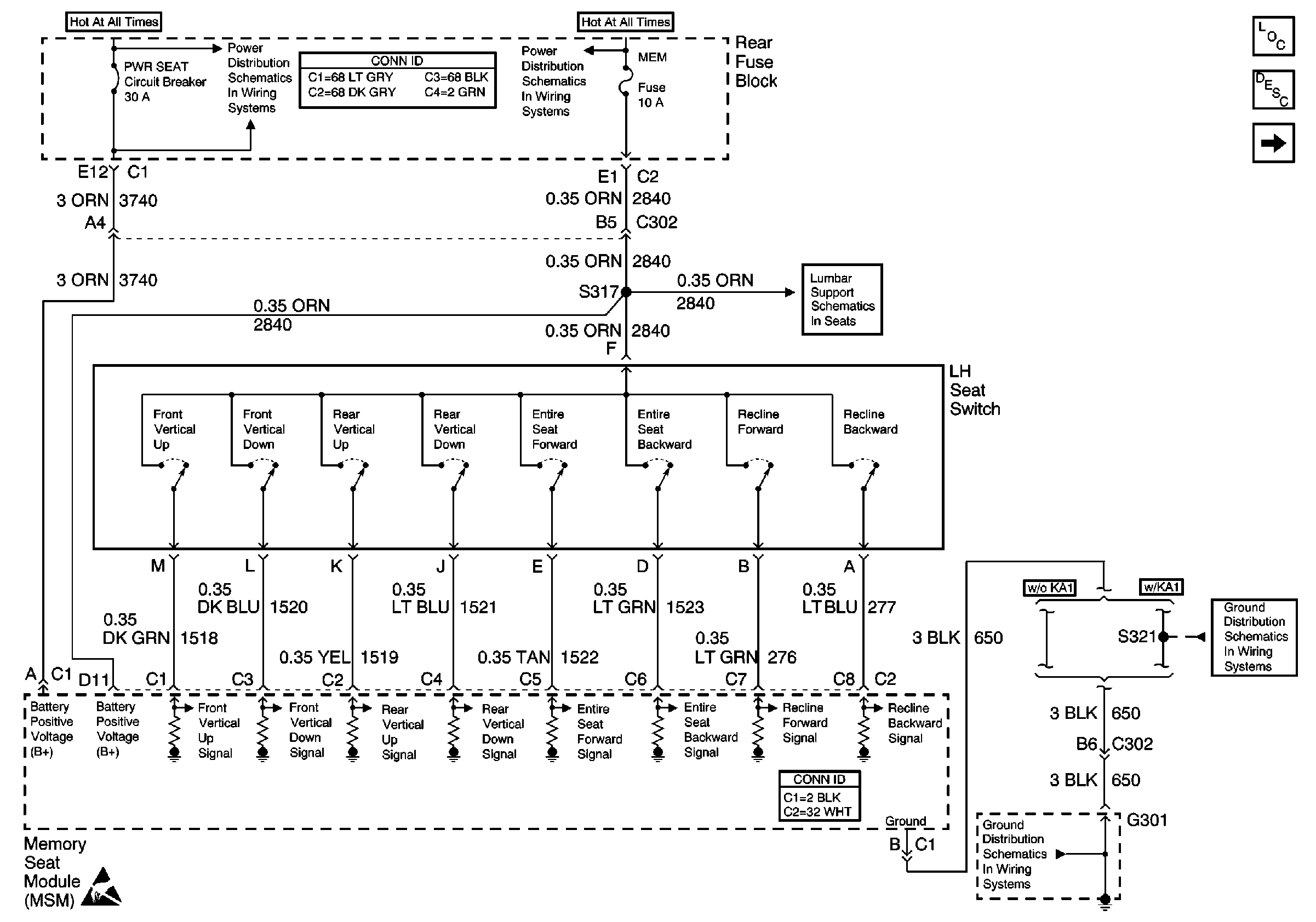
Figure 1:

Power, Ground, LH Seat Switch and MSM


Object Number: 402336  Size: FS
PWR WDO and PWR SEAT Circuit Breakers (Rear Fuse Block)
HTDST RF, HTDST LF, DIM and MEM Fuses (Rear Fuse Block)
Lumbar (w/Memory)
Handling ESD Sensitive Parts Notice
Power Seat Systems Components
Memory Seat Circuit Description
Vertical and Horizontal Motors and Sensors
Memory Function Switch
G301 (1 of 3)
G301 (1 of 3)
Figure 2:

Memory Function Switch


Object Number: 402392  Size: FS
Power Seat Systems Components
Memory Seat Circuit Description
Power, Ground, LH Seat Switch and MSM
G200 (2 of 2)
Front Door Dimming
Serial Data Class 2
Handling ESD Sensitive Parts Notice
Figure 3:

Vertical and Horizontal Motors and Sensors


Object Number: 402343  Size: FS
Handling ESD Sensitive Parts Notice
Handling ESD Sensitive Parts Notice
Power Seat Systems Components
Memory Seat Circuit Description
Recline Motor and Sensor
Power, Ground, LH Seat Switch and MSM
Figure 4:

Recline Motor and Sensor


Object Number: 402346  Size: FS
Power Seat Systems Components
Memory Seat Circuit Description
Vertical and Horizontal Motors and Sensors
Handling ESD Sensitive Parts Notice
Serial Data Class 2
Handling ESD Sensitive Parts Notice