GM Service Manual Online
For 1990-2009 cars only
  1. Park the vehicle on level ground.
  2. Inspect the tire pressure. Ensure that all tires are inflated to the proper pressure.
  3. Inspect the fuel level. Verify that the fuel tank is full.
  4. Ensure that there is no extra weight in the passenger compartment or the trunk. The trunk must be empty except for the spare tire and the jack.
  5. On vehicles equipped with electronic level control (ELC), ensure that the ELC is operating properly.
  6. Place the front seat in the rear position.
  7. Bounce the vehicle three times at the front and at the rear in order to normalize the suspension.

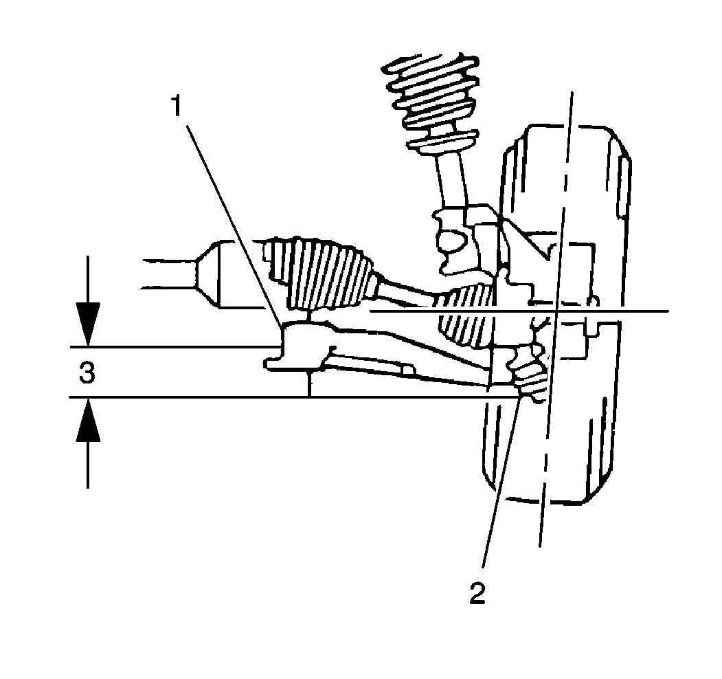
  8. Object Number: 161317  Size: SH
  9. Measure the distance between the lowest point on the ball joint housing and the centerline of the control arm bolt. This distance (3) should be 30-50 mm (1 3/16 to 2 in).

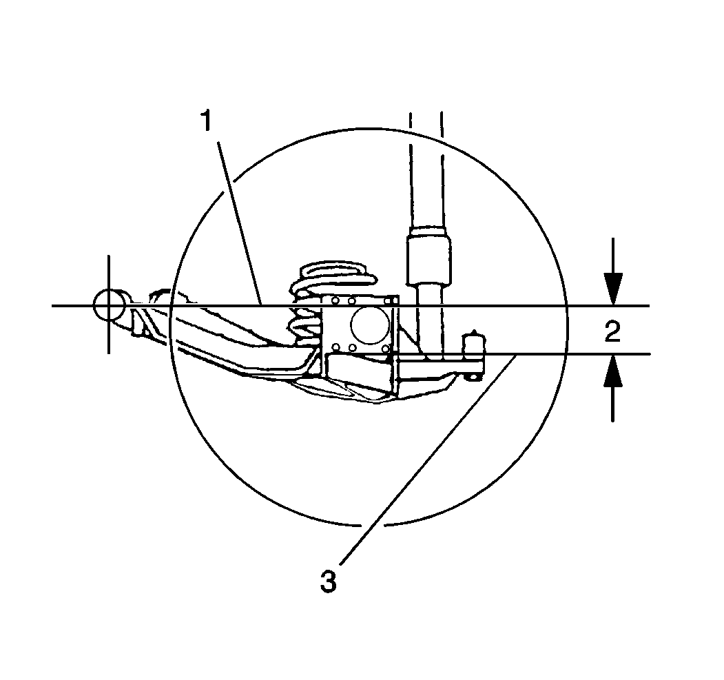
  10. Object Number: 161321  Size: SH
  11. Measure the distance from the bottom of the control arm wheel bearing face to the centerline of the outboard control arm bolt. This distance (2) should be 76-96 mm (3-3 3/4 in).

  12. Object Number: 196523  Size: MH
  13. Measure the distance (1) from the ground (2) to the front underbody points (4). This distance (1) should be 164-184 mm (6 7/16 to 7 1/4 in)

  14. Object Number: 196525  Size: MH
  15. Measure the distance (1) from the ground (2) to the rear underbody points (4). This distance (1) 213-233 mm (8 3/8 to 9 3/16 in)
  16. The maximum variation side-to-side and front-to-rear is 19 mm (3/4 in).