GM Service Manual Online
For 1990-2009 cars only

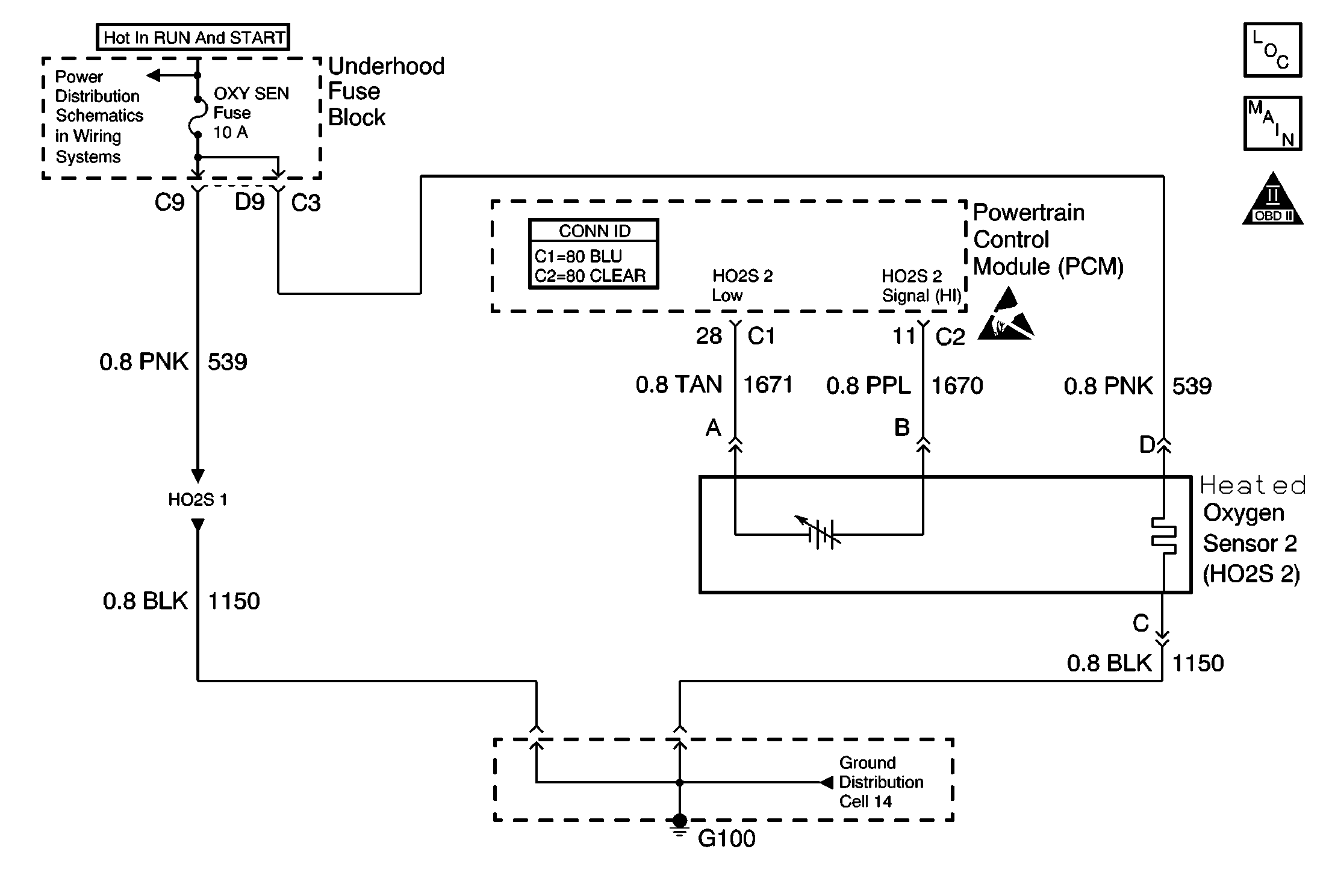
Object Number: 475492  Size: MF
Engine Controls Components
HO2S 1, HO2S 2
OBD II Symbol Description Notice
Handling ESD Sensitive Parts Notice

Circuit Description

The powertrain control module (PCM) supplies a bias voltage of about 450 mV between the HO2S signal and low circuits. When measured with a 10 megohm digital voltmeter, this may display as low as 320 mV. The oxygen sensor varies the voltage within a range of about 1000 mV when the exhaust is rich, down through about 10 mV when exhaust is lean. The PCM constantly monitors the HO2S signal during closed loop operation and compensates for a rich or lean condition by decreasing or increasing injector pulse width as necessary. If the HO2S 2 voltage remains at or near the 450 mV bias for an extended period of time, DTC P0140 will be set, indicating an open sensor signal or sensor low circuit.

Conditions for Running the DTC

    • No TP sensor, EVAP system, misfire, IAT sensor, MAP sensor, fuel trim, fuel injector circuit, EGR Pintle Position, ECT sensor, CKP sensor, or MAF sensor DTCs present.
    • Engine run time is longer than 240 seconds.

Conditions for Setting the DTC

HO2S 2 signal voltage remains between 425 mV and 475 mV for up to 90 seconds.

Action Taken When the DTC Sets

    • The PCM will illuminate the MIL during the second consecutive trip in which the diagnostic test has been run and failed.
    • The PCM will store conditions which were present when the DTC set as Freeze Frame and Fail Records data.

Conditions for Clearing the MIL/DTC

    • The PCM will turn the MIL OFF during the third consecutive trip in which the diagnostic has been run and passed.
    • The history DTC will clear after 40 consecutive warm-up cycles have occurred without a malfunction.
    • The DTC can be cleared by using the scan tool Clear Info function or by disconnecting the PCM battery feed.

Diagnostic Aids

Check for the following conditions:

    • Corroded exhaust flange bolts.
        Using a DMM, ensure that continuity exists between the engine block and the heated oxygen sensor shell. If resistance is excessively high, replace corroded exhaust flange attaching hardware as necessary. Refer to Exhaust System .
    • Poor connection or damaged harness.
        Inspect the harness connectors for backed out terminals, improper mating, broken locks, improperly formed or damaged terminals, poor terminal to wire connection, and damaged harness. Use a corresponding mating terminal to check for proper terminal tension.
    • Malfunctioning HO2S heater or heater circuit.
        With the ignition ON, engine not running the HO2S voltage displayed on a scan tool should gradually drop to below 250 mV or rise to above 600 mV. If not, disconnect the HO2S and connect a test lamp between the HO2S ignition feed and heater ground circuits. If the test lamp does not light, repair the open ignition feed or sensor ground circuit as necessary. If the test lamp lights and the HO2S signal and low circuits are OK, replace the affected HO2S. Refer to Heated Oxygen Sensor Replacement .
    • Intermittent test.
         With the ignition ON, monitor the HO2S signal voltage while moving the wiring harness and related connectors. If the malfunction is induced, the HO2S signal voltage will change. This may help isolate the location of the malfunction.

Test Description

The numbers below refer to the step numbers on the diagnostic table:

  1. If the DTC P0140 test passes while the Fail Records conditions are being duplicated, an intermittent condition is indicated.

    Reviewing the Fail Records vehicle mileage since the diagnostic test last failed may help determine how often the condition that caused the DTC to be set occurs. This may assist in diagnosing the condition.

  2. This vehicle is equipped with a PCM which utilizes an Electrically Erasable Programmable Read Only Memory (EEPROM). When the PCM is being replaced, the new PCM must be programmed.

DTC P0140 - HO2S Circuit Insufficient Activity Sensor 2

Step

Action

Value(s)

Yes

No

1

Was the Powertrain On-Board Diagnostic (OBD) System Check performed?

--

Go to Step 2

Go to the Powertrain On Board Diagnostic (OBD) System Check

2

  1. Engine at operating temperature.
  2. Operate the engine above 1200 RPM for two minutes while monitoring HO2S 2 voltage on the scan tool.

Does the scan tool indicate HO2S 2 voltage varying outside the specified values?

425-475 mV

Go to Step 3

Go to Step 4

3

  1. Turn ON the ignition.
  2. Review and record scan tool Fail Records data and note parameters.
  3. Operate the vehicle within Fail Records conditions as noted.
  4. Using a scan tool, monitor Specific DTC info for DTC P0140 until the DTC P0140 test runs.

Does the scan tool indicate DTC failed this ignition?

--

Go to Step 4

Go to Diagnostic Aids

4

  1. Turn ON the ignition.
  2. Disconnect HO2S 2 and jumper the HO2S signal and low circuits (PCM side) to ground.
  3. Using a scan tool, monitor HO2S 2 voltage.

Is HO2S 2 voltage less than the specified value?

150 mV

Go to Step 8

Go to Step 5

5

  1. Remove the jumper wire from the HO2S signal circuit (leave the HO2S low circuit jumpered to ground).
  2. Using a DMM, measure voltage between the HO2S 2 signal circuit (PCM side) and the HO2S 2 heater ground circuit.

Does HO2S 2 signal voltage measure near the specified value?

4.5 V

Go to Step 6

Go to Step 7

6

  1. Turn OFF the ignition switch.
  2. Disconnect the PCM.
  3. Check continuity of the HO2S 2 low circuit.
  4. If the HO2S 2 low circuit measures over 5 ohms, repair open or poor connection as necessary. Refer to Testing for Continuity , Testing for Intermittent Conditions and Poor Connections , Repairing Connector Terminals , Connector Repairs and Wiring Repairs in Wiring Systems .

Was a problem found?

--

Go to Step 13

Go to Step 9

7

  1. Turn OFF the ignition.
  2. Disconnect the PCM.
  3. Check continuity of the HO2S 2 signal circuit and the HO2S 2 low circuit between the PCM harness connector and the HO2S 2 harness connector.
  4. If the HO2S 2 signal circuit or the HO2S 2 low circuit circuit measures over 5 ohms, repair open or poor connection as necessary. Refer to Testing for Continuity , Testing for Intermittent Conditions and Poor Connections , Repairing Connector Terminals , Connector Repairs and Wiring Repairs in Wiring Systems .

Was a problem found?

--

Go to Step 13

Go to Step 10

8

  1. Check for a poor HO2S 2 signal or low circuit terminal connection at the HO2S 2 harness connector.
  2. If a problem is found, replace terminals as necessary. Refer to the following procedures:
  3. •  Wiring Repairs in Wiring Systems.

Was a problem found?

--

Go to Step 13

Go to Step 11

9

  1. Check for poor HO2S 2 low circuit terminal connection at the PCM.
  2. If a problem is found, replace terminal as necessary. Refer to the following procedures:
  3. •  Wiring Repairs in Wiring Systems.

Was a problem found?

--

Go to Step 13

Go to Step 12

10

  1. Check for a poor HO2S 2 signal circuit or HO2S low circuit terminal connection at the PCM.
  2. If a problem is found, replace terminals as necessary. Refer to the following procedures:
  3. •  Wiring Repairs in Wiring Systems.

Was a problem found?

--

Go to Step 13

Go to Step 12

11

Replace HO2S 2. Refer to Heated Oxygen Sensor Replacement

Is the action complete?

--

Go to Step 13

--

12

Important: The replacement PCM must be programmed.

Replace the PCM. Refer to Powertrain Control Module Replacement/Programming .

Is the action complete?

--

Go to Step 13

--

13

  1. Turn ON the ignition.
  2. Review and record scan tool Fail Records data.
  3. Clear the DTCs.
  4. Operate the vehicle within Fail Records conditions as noted.
  5. Using a scan tool, monitor Specific DTC info for DTC P0140 until the DTC P0140 test runs.

Does the scan tool indicate DTC failed this ignition?

--

Go to Step 2

System OK