GM Service Manual Online
For 1990-2009 cars only

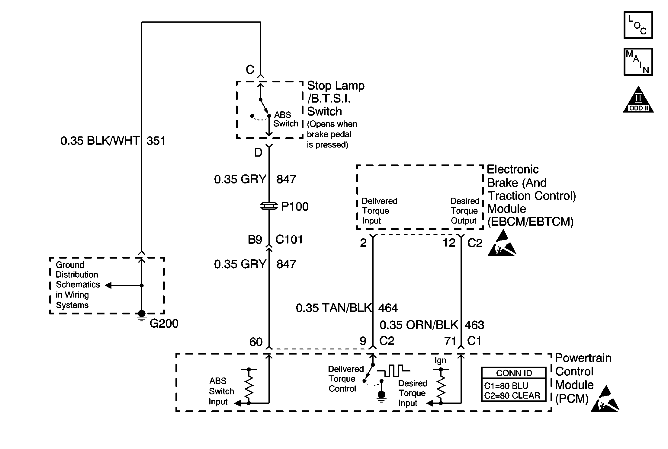
Object Number: 476642  Size: MF
Engine Controls Components
Generator, EBCM, Oil level and Auto Trans Shift Lock Control Switches
OBD II Symbol Description Notice
Handling ESD Sensitive Parts Notice

Circuit Description

The electronic brake and traction control module (EBTCM) controls the PWM signal on the desired torque circuit while monitoring the wheel speed sensors to detect slippage. The PCM monitors the PWM signal and reduces engine torque as needed by retarding ignition timing, decreasing boost duty cycle, increasing air/fuel ratio, or, in severe cases, shutting OFF up to three fuel injectors. The PCM sends a PWM signal to the electronic brake and traction control module (EBTCM) on the delivered torque circuit informing the EBTCM of response made to the desired torque signal. A problem with the delivered torque circuit should cause DTC P1689 to set and traction control to be disabled. An ABS/TCS DTC may also be set. For further ABS/TCS DTC information, refer to Diagnostic System Check - ABS .

Conditions for Running the DTC

The ignition is ON.

Conditions for Setting the DTC

    • An improper voltage level has been detected on output circuit for the traction control delivered torque output circuit.
    • The above conditions are present for at least 30 seconds.

Action Taken When the DTC Sets

    • The PCM does not illuminate the malfunction indicator lamp (MIL).
    • The PCM stores the conditions that were present when the DTC set as Fail Records data only. This information is not stored as Freeze Frame data.

Conditions for Clearing the MIL/DTC

    • A history DTC will clear after 40 consecutive warm-up cycles have occurred without a malfunction.
    • The DTC can be cleared by using the scan tool Clear Info function or by disconnecting the PCM battery feed.

Diagnostic Aids

Check for the following conditions:

    • A faulty connection at the PCM--Inspect harness connectors for backed out terminals, improper mating, broken locks, improperly formed or damaged terminals, and poor terminal to wire connection. Use a corresponding mating terminal to test for proper terminal tension.
    • A damaged harness--Inspect the wiring harness for damage. If the harness appears to be OK, disconnect the PCM, turn the ignition ON and observe a DMM connected between the Traction Control Delivered Torque control circuit and ground at the PCM harness connector while moving connectors and wiring harnesses related to the EBTCM. A change in voltage will indicate the location of the malfunction.

Reviewing the Fail Records vehicle mileage since the diagnostic test last failed may help determine how often the condition that caused the DTC to be set occurs. This may assist in diagnosing the condition.

Test Description

The numbers below refer to the step number(s) on the Diagnostic Table.

  1. Normally, ignition feed voltage should be present on the control circuit with the PCM disconnected and the ignition turned ON.

  2. Checks for a shorted component or a short to B+ on the control circuit. Either condition would result in a measured current of over 500 milliamps. Also checks for a component that is going open while being operated, resulting in a measured current of 0 milliamps.

  3. Checks for a short to voltage on the control circuit.

  4. This vehicle is equipped with a PCM which utilizes an Electrically Erasable Programmable Read Only Memory (EEPROM). When the PCM is being replaced, the new PCM must be programmed.

DTC P1689 -- TCS Delivered Torque Control Circuit

Step

Action

Value(s)

Yes

No

1

Was the Powertrain On-Board Diagnostic (OBD) System Check performed?

--

Go to Step 2

Go to the Powertrain On Board Diagnostic (OBD) System Check

2

  1. Turn OFF the ignition switch.
  2. Disconnect the PCM.
  3. Turn ON the ignition switch.
  4. Using a DMM, measure voltage between the delivered torque control circuit at the PCM harness connector and ground.

Is the voltage near the specified value?

B+

Go to Step 3

Go to Step 6

3

  1. Connect the DMM to measure the current between the delivered torque control circuit at the PCM harness connector and ground.
  2. Monitor the current reading on the DMM for at least 2 minutes.

Does the current reading remain between the specified values?

0.001-0.5 Amp

(1-500 mA)

Go to Step 11

Go to Step 4

4

  1. Turn OFF the ignition switch.
  2. Disconnect the EBTCM, and leave the PCM disconnected.
  3. Turn ON the ignition switch.
  4. Using the DMM, measure voltage between the delivered torque control circuit and ground.

Is voltage at the specified value?

0 V

Go to Step 10

Go to Step 5

5

Locate and repair the short to voltage in the delivered torque control circuit. Refer to Wiring Repairs in Wiring Systems.

Is the action complete?

--

Go to Step 16

--

6

  1. Turn OFF the ignition switch.
  2. Check the ignition feed fuse for the EBTCM.

Is the fuse blown?

--

Go to Step 7

Go to Step 8

7

  1. Locate and repair the short to ground in the ignition feed circuit for the EBTCM. Refer to Wiring Repairs in Wiring Systems.
  2. Replace the fuse.

Is the action complete?

--

Go to Step 16

--

8

  1. Disconnect the EBTCM.
  2. Turn ON the ignition switch.
  3. Measure the voltage between the ignition feed circuit for the EBTCM and ground.

Is the voltage near the specified value?

B+

Go to Step 9

Go to Step 13

9

  1. Check the delivered torque control circuit for an open or a short to ground.
  2. If a problem is found, repair the delivered torque control circuit. Refer to Wiring Repairs in Wiring Systems.

Was a problem found?

--

Go to Step 16

Go to Step 10

10

  1. Check for the following conditions:
  2. • The delivered torque control circuit for a poor connection at the PCM.
    • The delivered torque control circuit for a poor connection at the EBTCM.
    • The EBTCM ignition feed circuit for a poor connection at the EBTCM.
  3. If a problem is found, replace any loose terminals as necessary. Refer to Testing for Continuity , Repairing Connector Terminals and Connector Repairs in Wiring Systems.

Was a problem found?

--

Go to Step 16

Go to Step 14

11

  1. Turn OFF the ignition switch.
  2. Reconnect the PCM.
  3. Disconnect the EBTCM.
  4. Turn ON the ignition switch.
  5. Connect a test lamp between the delivered torque control circuit and the ignition feed circuit at the EBTCM harness connector.
  6. Using the scan tool outputs test function, cycle the delivered torque output ON and OFF.

Does the test lamp flash ON and OFF?

--

Go to Diagnostic Aids

Go to Step 12

12

  1. Check the delivered torque control circuit for a poor connection at the PCM.
  2. If a problem is found, replace the loose terminal. Refer to Testing for Continuity , Repairing Connector Terminals and Connector Repairs in Wiring Systems.

Was a problem found?

--

Go to Step 16

Go to Step 15

13

Locate and repair the open in the ignition feed circuit to the EBTCM. Refer to Wiring Repairs in Wiring Systems.

Is the action complete?

--

Go to Step 16

--

14

Replace the EBTCM. Refer to Electronic Brake Control Module Replacement .

Is the action complete?

--

Go to Step 16

--

15

Important:: The replacement PCM must be programmed.

Replace the PCM. Refer to Powertrain Control Module Replacement/Programming

Is the action complete?

--

Go to Step 16

--

16

  1. Review and record the scan tool Fail Records data.
  2. Clear the DTCs.
  3. Operate the vehicle within the Fail Records conditions.
  4. Using a scan tool, monitor the Specific DTC info for DTC P1689 until the DTC P1689 test runs.

Does the scan tool indicate DTC P1689 failed this ignition?

--

Go to Step 2

System OK