GM Service Manual Online
For 1990-2009 cars only

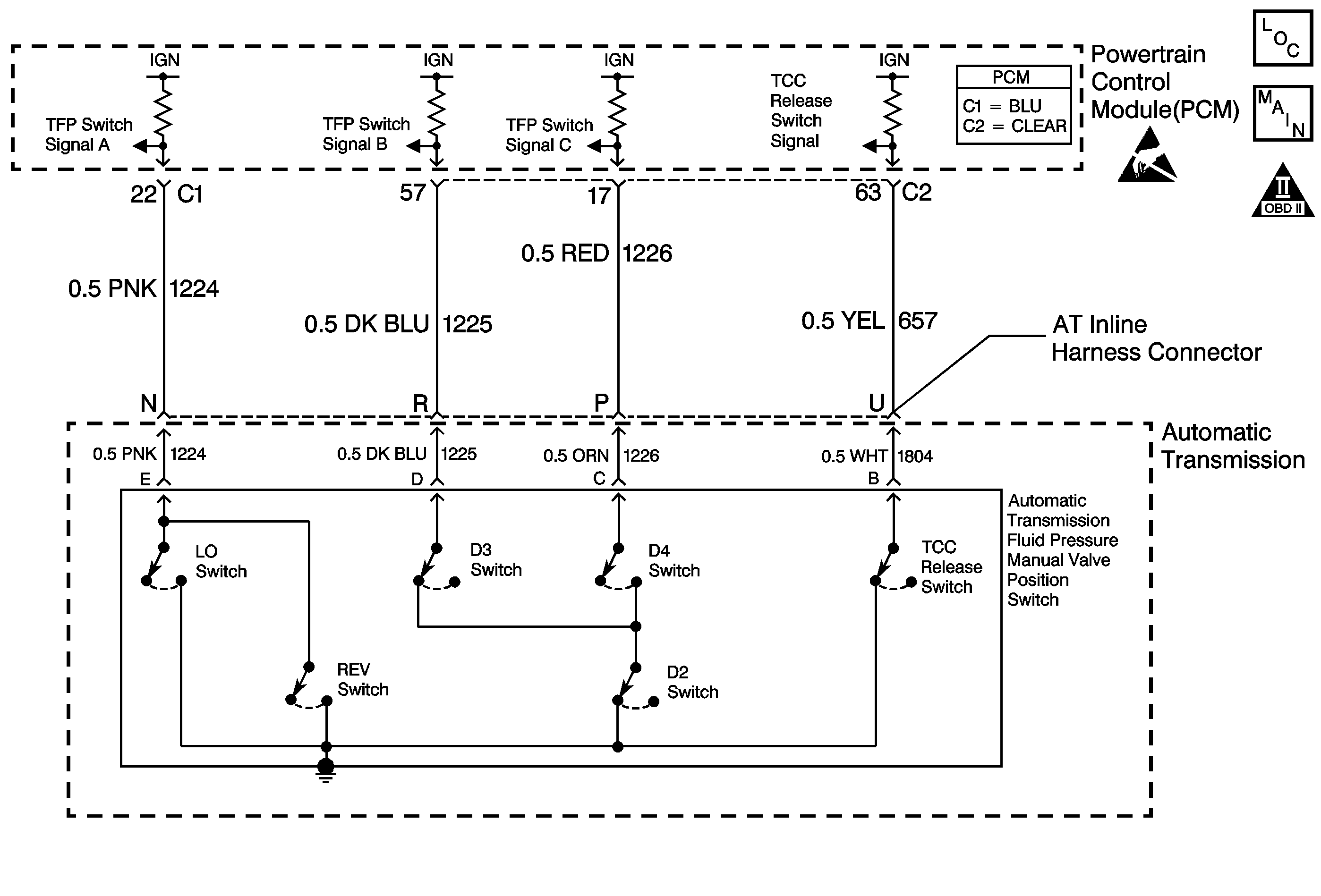
Object Number: 423313  Size: MF
Automatic Transmission Components
Automatic Transmission Controls Schematics
OBD II Symbol Description Notice
Handling ESD Sensitive Parts Notice

Circuit Description

The TCC release switch is part of the transmission fluid pressure (TFP) manual valve position switch. The TFP manual valve position switch is mounted to the transmission valve body. The TCC release switch is normally-closed.

The switch signals the PCM that the TCC is released. This is accomplished by torque converter release fluid pressure acting on the switch contact which opens the circuit. When the circuit voltage is high, the PCM recognizes that the TCC is no longer engaged.

If the PCM determines that the TCC release switch is open (indicating that the TCC is not applied) and the TCC slip speed indicates that the TCC is applied, then DTC P1887 sets. DTC P1887 is a type B DTC.

Conditions for Running the DTC

    • No AT ISS sensor DTC P0716 or P0717.
    • No TCC PWM solenoid valve DTC P0741, P0742 or P1860.
    • No TFP manual valve position switch DTC P1810.
    • The engine speed is greater than 500 RPM for 5 seconds and not in fuel shut off.
    • The transmission range selector is in D4.
    • The TCC is commanded ON.
    • The TCC pressure is 138-827 kPa (20-120 psi).
    • The TCC slip speed is -20 to +60 RPM.
    • The engine torque is 41-339 N·m (30-250 lb ft).

Conditions for Setting the DTC

DTC P1887 sets when the following condition occurs twice in a single trip:

The TCC release pressure switch is open (indicating release pressure present) for 8 seconds continuous.

Action Taken When the DTC Sets

    • The PCM illuminates the malfunction indicator lamp (MIL) during the second consecutive trip in which the Conditions for Setting the DTC are met.
    • The PCM inhibits TCC.
    • The PCM inhibits 4th gear if the transmission is in Hot Mode.
    • The PCM freezes shift adapts.
    • The PCM records the operating conditions when the Conditions for Setting the DTC are met. The PCM stores this information as Freeze Frame and Failure Records.
    • The PCM stores DTC P1887 in PCM history.

Conditions for Clearing the MIL/DTC

    • The PCM turns OFF the MIL during the third consecutive trip in which the diagnostic test runs and passes.
    • A scan tool can clear the MIL/DTC.
    • The PCM clears the DTC from the PCM history if the vehicle completes 40 consecutive warm-up cycles without an emission-related diagnostic fault occurring.
    • The PCM cancels the DTC default actions when the fault no longer exists and the ignition switch is OFF long enough in order to power down the PCM.

Diagnostic Aids

    • Inspect the connectors at the controller, the component and all other circuit connecting points for an intermittent condition. Refer to Testing for Intermittent Conditions and Poor Connections in Wiring Systems.
    • Inspect the circuit wiring for an intermittent condition. Refer to Testing for Electrical Intermittents in Wiring Systems.
    • Ensure the wiring harness is not stretched too tightly or other components are pressing on the A/T inline 20-way connector body. Also inspect for proper clearance to any other components and wiring. Refer to Intermittent Conditions in Engine Controls - 3.8L.

Test Description

The numbers below refer to the step numbers on the diagnostic table.

  1. This step tests the PCMs ability to recognize a grounded circuit.

  2. A short to ground in this circuit would set DTC P0742.

  3. A short to ground in this circuit would set DTC P0742.

DTC P1887 TCC Release Switch Circuit

Step

Action

Value(s)

Yes

No

1

Did you perform the Powertrain Diagnostic System Check?

--

Go to Step 2

Go to Powertrain On Board Diagnostic (OBD) System Check in Engine Controls

2

  1. Install a Scan Tool .
  2. Turn ON the ignition with the engine OFF.
  3. Important: Before clearing the DTCs, use the Scan Tool in order to record the Freeze Frame and Failure Records for reference. Using the Clear Info function will erase the stored Freeze Frame and Failure Records from the PCM.

  4. Record the Freeze Frame and Failure Records.
  5. Clear the DTC.
  6. Using the Scan Tool , observe TCC release pressure.

Does the Scan Tool indicate that TCC release pressure is present?

--

Go to Step 3

Go to Step 6

3

  1. Turn OFF the ignition.
  2. Disconnect the AT inline 20-way connector (additional DTCs may set).
  3. Connect the J 44152 jumper harness on the engine side of the 20-way connector.
  4. Using the J 35616 connector test adapter kit, connect a fused jumper wire from terminal U to a good ground.
  5. Refer to Automatic Transmission Inline Harness Connector End View .

  6. Turn ON the ignition with the engine OFF.

Does the Scan Tool indicate that TCC release pressure is present?

--

Go to Step 4

Go to Step 5

4

Test the signal circuit (CKT 657) of the TCC release switch for an open between the PCM connector and the AT inline 20-way connector.

Refer to Circuit Testing and Wiring Repairs in Wiring Systems.

Did you find and correct a condition?

--

Go to Step 11

Go to Step 10

5

Test the signal circuit (CKT 1804) of the TCC release switch for an open between the AT inline 20-way connector and the TFP manual valve position switch.

Refer to Automatic Transmission Inline Harness Connector End View .

Refer to Circuit Testing and Wiring Repairs in Wiring Systems.

Did you find a condition?

--

Go to Step 8

Go to Step 9

6

  1. Using the Scan Tool , observe TCC Slip Speed and TCC Release Pressure.
  2. Drive the vehicle with the range selector in D4 until the TCC is applied and slip speed is below 50 RPM.

Does the Scan Tool indicate that TCC release pressure is present?

--

Go to Step 7

Go to Diagnostic Aids

7

Inspect the following mechanical components and hydraulic circuits that could cause TCC release pressure at the TCC Release Switch when the TCC is applied:

    • Turbine shaft O-ring seal leaking.
    • Turbine shaft oil seal rings missing or damaged.
    • TCC control valve damaged.
    • #1 checkball damaged.
    • Spacer plate release exhaust blocked with debris.
    • Case cover or spacer plate gaskets improperly installed.

Refer to Transmission Overhaul in the 4T65-E Section of the Transmission Unit Repair Manual.

Did you complete the repair?

--

Go to Step 11

--

8

Replace the AT wiring harness assembly.

Refer to Solenoids and Wiring Harness Replacement .

Did you complete the replacement?

--

Go to Step 11

--

9

Replace the TFP manual valve position switch.

Refer to Transmission Fluid Pressure Manual Valve Position Switch Replacement .

Did you complete the replacement?

--

Go to Step 11

--

10

Replace the PCM.

Refer to Powertrain Control Module Replacement/Programming in Engine Controls.

Did you complete the replacement?

--

Go to Step 11

--

11

Perform the following procedure in order to verify the repair:

  1. Select DTC.
  2. Select Clear Info.
  3. Drive the vehicle in D4 until the transmission shifts to fourth gear and the TCC is commanded ON.
  4. Using the Scan Tool , observe TCC duty cycle and TCC release pressure. Ensure that the TCC release pressure status is NO for at least 5 seconds.
  5. Select Specific DTC.
  6. Enter DTC P1887.

Has the test run and passed?

--

System OK

Go to Step 1