GM Service Manual Online
For 1990-2009 cars only

Removal Procedure

  1. Remove the intake duct. Refer to Air Cleaner Inlet Duct Replacement .

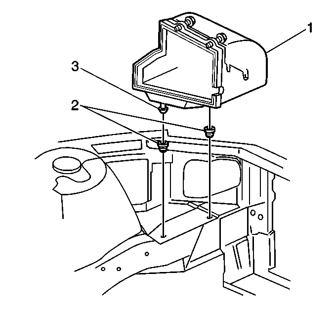
  2. Object Number: 444496  Size: SH
  3. Remove the 2 screws (2) from the upper and lower air cleaner assembly sections.
  4. Remove the upper air cleaner housing assembly (1).
  5. Important: When removing or installing the Powertrain Control Module (PCM) the ignition must be turned off.

  6. Turn the ignition OFF.
  7. Notice: Refer to Handling Electrostatic Discharge Sensitive Parts Notice in the Preface section.

    Notice: Refer to Powertrain Control Module and Electrostatic Discharge Notice in the Preface section.

  8. Without disconnecting the PCM electrical connectors, release the 2 tabs at the sides of the PCM and carefully remove the PCM (4) and the electrical harness from the lower air cleaner assembly (3).
  9. Carefully position the PCM (4) aside protecting the PCM from electrostatic discharge and/or impact.

  10. Object Number: 444479  Size: SH
  11. Remove the lower the air cleaner assembly (1) by pulling the assembly from the 2 rubber grommets (2) in the engine compartment.
  12. Inspect the air cleaner assembly for signs of damage and replace if required.

Installation Procedure


    Object Number: 444479  Size: SH
  1. Install the lower air cleaner assembly (1) into the 2 rubber grommets (2) in the engine compartment.

  2. Object Number: 444496  Size: SH
  3. Carefully install the PCM (4) and the harness into the lower air cleaner housing (3).
  4. Install the upper air cleaner housing assembly (1).
  5. Notice: Use the correct fastener in the correct location. Replacement fasteners must be the correct part number for that application. Fasteners requiring replacement or fasteners requiring the use of thread locking compound or sealant are identified in the service procedure. Do not use paints, lubricants, or corrosion inhibitors on fasteners or fastener joint surfaces unless specified. These coatings affect fastener torque and joint clamping force and may damage the fastener. Use the correct tightening sequence and specifications when installing fasteners in order to avoid damage to parts and systems.

  6. Install the 2 screws (2) into the upper and lower air cleaner assembly sections.
  7. Tighten
    Tighten the screws to 4 N·m (35 lb in).

  8. Install the intake duct. Refer to Air Cleaner Inlet Duct Replacement .