GM Service Manual Online
For 1990-2009 cars only

Purpose

To control spark knock (detonation), a knock sensor (KS) system is used. This system is designed to retard spark timing when excessive spark knock is detected in the engine. The KS system allows the engine to use maximum spark advance for optimal driveability and fuel economy under all operating conditions.

Operation

The PCM uses a knock sensor(s) to detect abnormal vibration in the engine (detonation/spark knock). Mounted on the engine block, the knock sensor(s) produces an AC voltage signal at all engine speeds and loads. The PCM then adjusts the spark timing based on the amplitude and frequency of the KS signal. The PCM uses the KS signal to calculate an average voltage. Then, the PCM assigns a voltage range above and below the average voltage value. The PCM checks the KS and related wiring by comparing the actual knock signal to the assigned voltage range. A normal KS signal should vary outside the assigned voltage range as shown in the NORMAL KS figure, If the PCM detects a KS signal within the assigned voltage range as shown in the ABNORMAL figure the applicable DTC will be set.

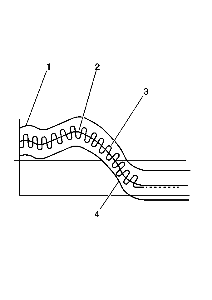
Normal Knock Sensor Signal


Object Number: 245253  Size: MH

Abnormal Knock Sensor Signal


Object Number: 245257  Size: MH

Legend

  1. Upper fail region
  2. Knock sensor calculated average
  3. Knock sensor signal
  4. Lower fail region

Diagnosis

A diagnostic trouble code (DTC) may set for the following conditions or faults:

    • The PCM malfunctions in a manner which will not allow the PCM to run a diagnostic of the KS circuit.
    • The KS signal is within the assigned voltage range.
    • The KS signal is not present.
    • The PCM is unable to eliminate the knocking condition using the maximum spark retard.