GM Service Manual Online
For 1990-2009 cars only
Figure 1:

PWR, GND, Stoplamp Switch, Solenoid Valves, and Pump Motor


Object Number: 685041  Size: FS
Master Electrical Component List
ABS Description and Operation
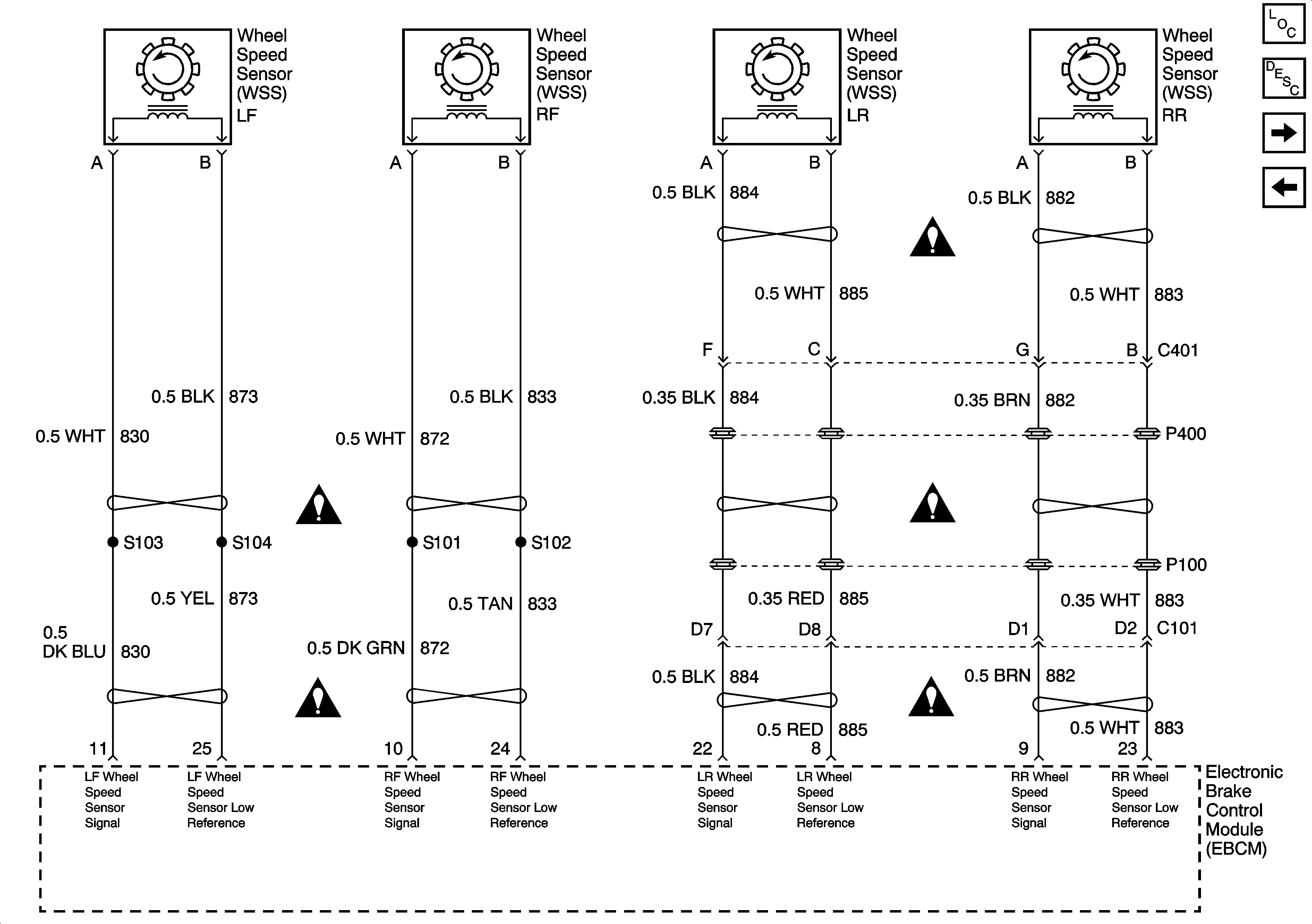
Wheel Speed Sensors
Turn Signal Switch and Hazard Flasher Module Inputs
CCM, PCM Controls and Vehicle Speed Input
TSIG/HAZ, STOP LP, AUDIO and CD Fuses (Rear Fuse Block)
IGN 3 and ABS Fuses (Rear Fuse Block)
High Beam and Low Beam Relays, ABS, PCM Batt, High Beam and Low Beam Fuses (Underhood Fuse Block)
Figure 2:

Wheel Speed Sensors


Object Number: 685048  Size: FS
Master Electrical Component List
ABS Description and Operation
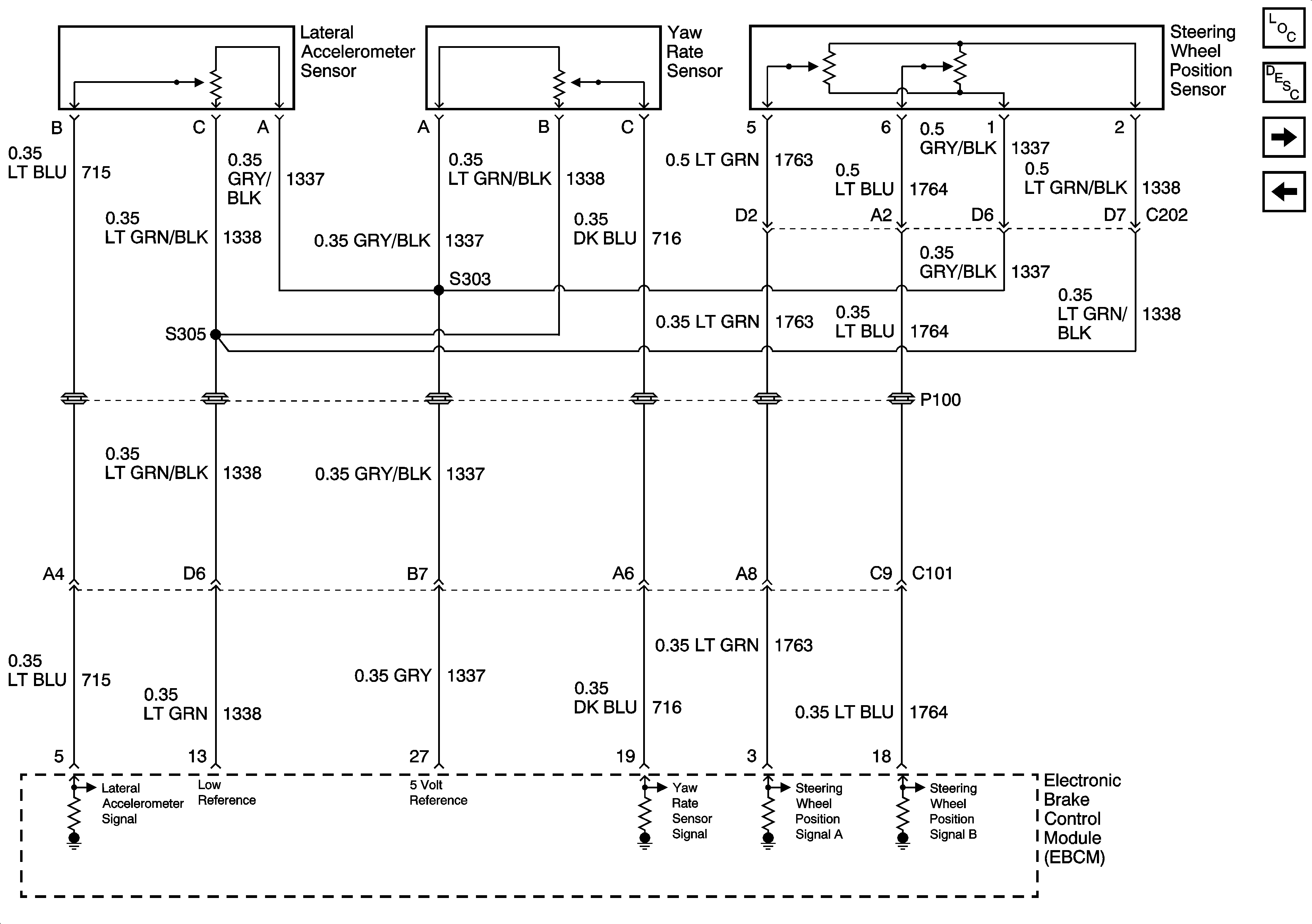
Vehicle Stability Enhancement System (w/JL4)
PWR, GND, Stoplamp Switch, Solenoid Valves, and Pump Motor
Figure 3:

Vehicle Stability Enhancement System (w/JL4)


Object Number: 685050  Size: FS
Master Electrical Component List
ABS Description and Operation
Indicators and Traction Control Switch
Wheel Speed Sensors
Figure 4:

Traction Control (w/NW9)


Object Number: 685056  Size: FS
Figure 5:

Indicators and Traction Control Switch


Object Number: 685061  Size: FS
Master Electrical Component List
ABS Description and Operation
Vehicle Stability Enhancement System (w/JL4)
Serial Data Class 2
G200 (1 of 2)
G200 (1 of 2)
Serial Data Class 2