GM Service Manual Online
For 1990-2009 cars only
Table 1: Shift Control Assembly C1
Table 2: Shift Control Assembly C2
Table 3: TCC/Cruise Release Switch

Shift Control Assembly C1


Object Number: 130637  Size: CH

Connector Part Information

    • 12064760
    • 4-Way F Metri-Pack 280 Series (BLK)

Pin

Wire Color

Circuit No.

Function

A

LT GRN

1652

Reverse Lockout Solenoid Control

B

BRN

41

Ignition 3 Voltage

C

YEL

1491

Backlight Lamps Control

D

BLK

450

Ground

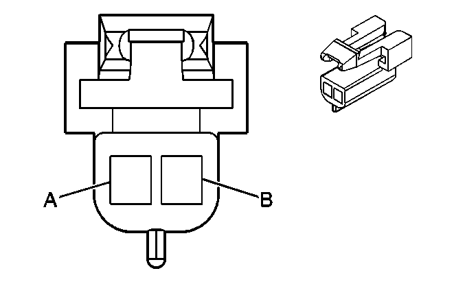
Shift Control Assembly C2


Object Number: 280768  Size: CH

Connector Part Information

    • 12052832
    • 2-Way F Metri-Pack 150 Series (BLK)

Pin

Wire Color

Circuit No.

Function

A

DK GRN/WHT

1135

A/T Shift Lock Control Solenoid Supply Voltage

B

BLK

450

Ground

TCC/Cruise Release Switch


Object Number: 258178  Size: CH

Connector Part Information

    • 12033705
    • 4-Way F Metri-Pack 280 Series (NAT)

Pin

Wire Color

Circuit No.

Function

A

PNK

1039

Ignition 1 Voltage

B

PPL

420

TCC Brake Switch Signal

C

BLK/WHT

1551

Ground

D

GRY

847

Extended Travel Brake Switch Signal