GM Service Manual Online
For 1990-2009 cars only

Removal Procedure

  1. Remove the drive belt. Refer to Drive Belt Replacement in Engine Mechanical - 3.8 L.
  2. Raise and support the vehicle. Refer to Lifting and Jacking the Vehicle in General Information.
  3. Install a drain pan under the vehicle.

  4. Object Number: 254768  Size: SH
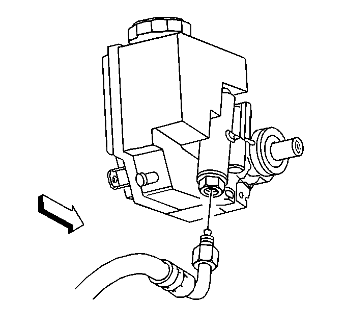
  5. Disconnect the power steering pressure hose from the power steering pump.

  6. Object Number: 183669  Size: SH
  7. Disconnect the power steering return hose from the power steering pump .
  8. Disconnect the wiring harness from the power steering pump.
  9. Lower the vehicle.
  10. Remove the coolant recovery reservoir. Refer to Coolant Recovery Reservoir Replacement in Engine Cooling.

  11. Object Number: 464479  Size: SH
  12. Remove the power steering pump retaining bolts.
  13. Remove the power steering pump.
  14. Transfer the power steering pulley as needed. Refer to Power Steering Pump Pulley Replacement .

Installation Procedure


    Object Number: 464479  Size: SH
  1. Install the power steering pump to the engine.
  2. Notice: Use the correct fastener in the correct location. Replacement fasteners must be the correct part number for that application. Fasteners requiring replacement or fasteners requiring the use of thread locking compound or sealant are identified in the service procedure. Do not use paints, lubricants, or corrosion inhibitors on fasteners or fastener joint surfaces unless specified. These coatings affect fastener torque and joint clamping force and may damage the fastener. Use the correct tightening sequence and specifications when installing fasteners in order to avoid damage to parts and systems.

  3. Install the power steering pump retaining bolts.
  4. Tighten
    Tighten the power steering pump retaining bolts to 25 N·m (18 lb ft).

  5. Install the coolant recovery reservoir. Refer to Coolant Recovery Reservoir Replacement in Engine Cooling.
  6. Raise the vehicle.
  7. Connect the wiring harness to the power steering pump.

  8. Object Number: 254768  Size: SH
  9. Connect the power steering pressure hose to the power steering pump.
  10. Tighten
    Tighten the power steering pressure hose to 30 N·m (22 lb ft).


    Object Number: 183669  Size: SH
  11. Connect the power steering return hose to the power steering pump.
  12. Lower the vehicle.
  13. Install the drive belt. Refer to Drive Belt Replacement in Engine Mechanical - 3.8 L.
  14. Bleed the power steering system. Refer to Power Steering System Bleeding .
  15. Inspect the power steering system for leaks.