GM Service Manual Online
For 1990-2009 cars only

Tools Required

    • J 25034-C Pulley Remover
    • J 25033-C Pulley Installer

Removal Procedure


    Object Number: 649303  Size: SH
  1. Remove the drive belt(s). Refer to Drive Belt Replacement in Engine Mechanical - 3.8L.
  2. Remove the power steering pump. Refer to Power Steering Pump Replacement .
  3. Using J 25034-C remove the power steering pulley from the power steering pump.

Installation Procedure


    Object Number: 643361  Size: SH
  1. Using J 25033-C install the power steering pulley to the power steering pump.

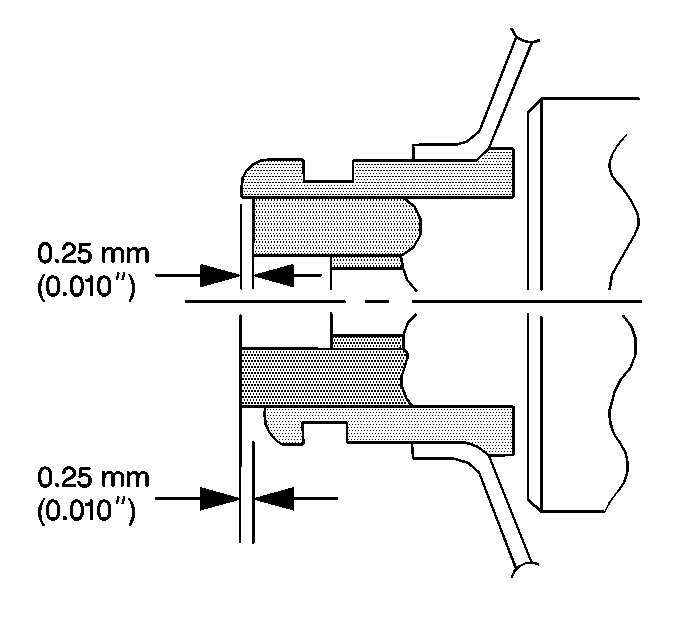
  2. Object Number: 254752  Size: SH
  3. Ensure that the axial tolerance of the power steering pulley on the power steering pump is within 0.25 mm (0.010 in).
  4. Install the power steering pump to the engine. Refer to Power Steering Pump Replacement .
  5. Install the pump drive belt. Refer to Drive Belt Replacement in Engine Mechanical - 3.8L.
  6. Bleed the power steering system. Refer to Power Steering System Bleeding .
  7. Inspect the system for leaks.