GM Service Manual Online
For 1990-2009 cars only
Figure 1:

Audio Systems Power and Grounds


Object Number: 685308  Size: FS
Master Electrical Component List
Radio/Audio System Description and Operation
Compact Disc (CD) Changer
Instrument Panel And Console Dimming
G200 (2 of 2)
G300 and G302
Power and Ground
Serial Data Class 2
Dimming Control
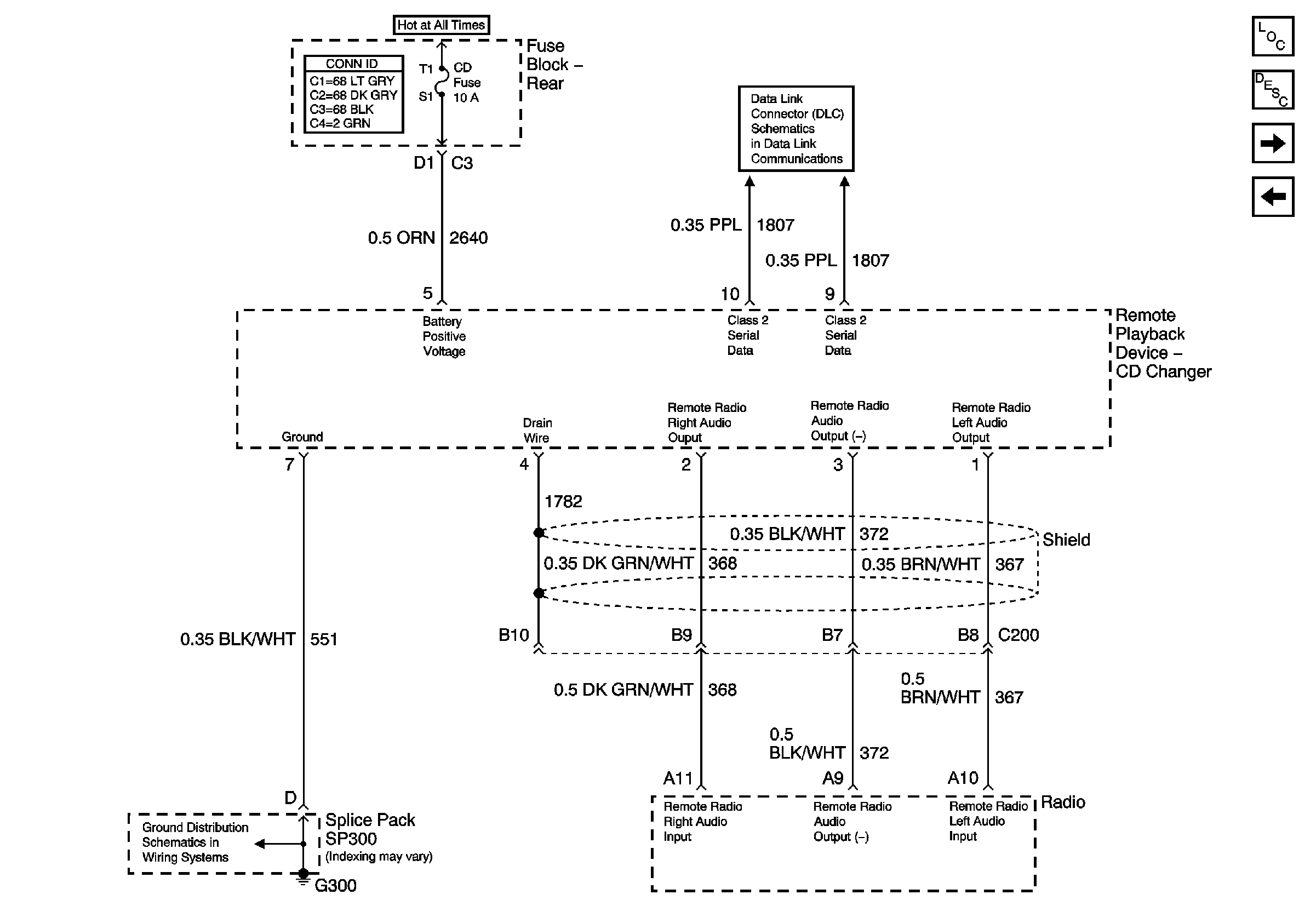
Figure 2:

Compact Disc (CD) Changer


Object Number: 685316  Size: FS
Master Electrical Component List
Radio/Audio System Description and Operation
Radio Speaker Output
Audio Systems Power and Grounds
G300 and G302
Serial Data Class 2
Figure 3:

Radio Speaker Output


Object Number: 685321  Size: FS
Master Electrical Component List
Radio/Audio System Description and Operation
Antenna Module
Compact Disc (CD) Changer
Figure 4:

Antenna Module


Object Number: 685327  Size: FS