GM Service Manual Online
For 1990-2009 cars only
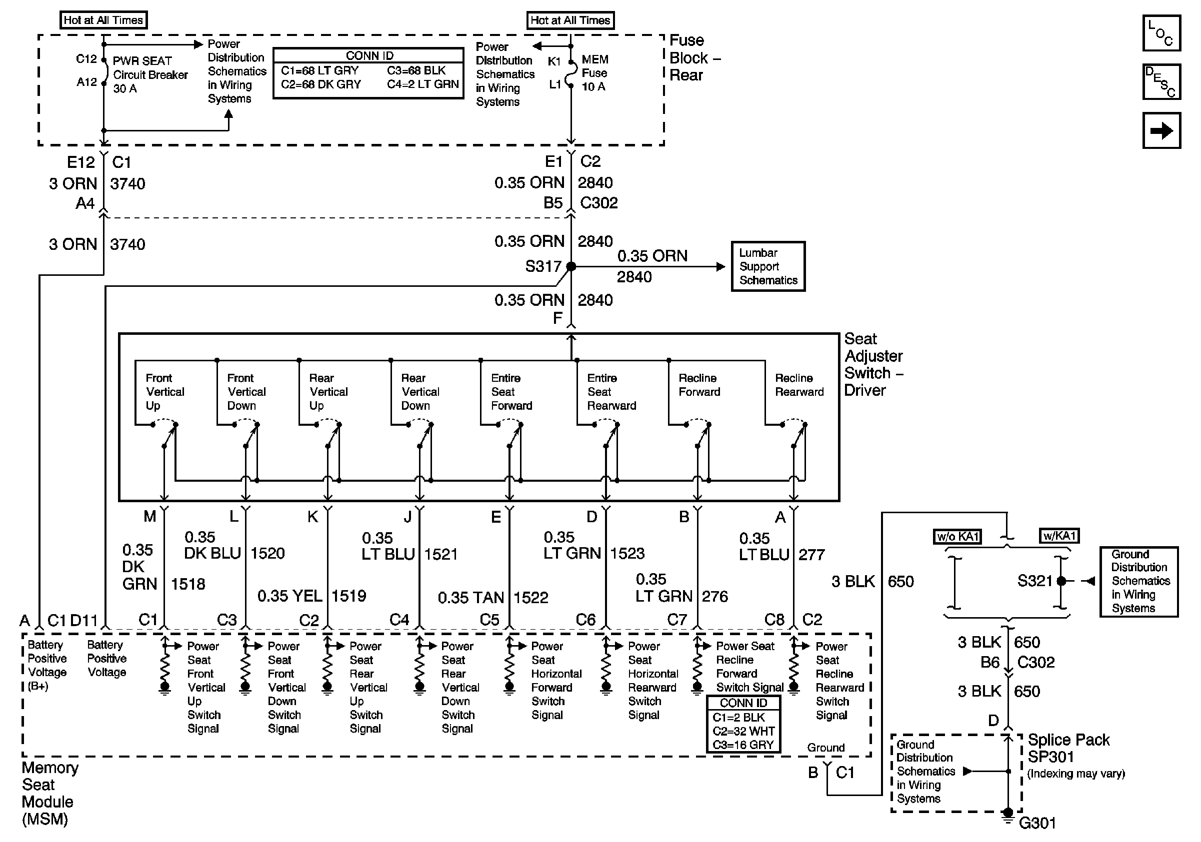
Figure 1:

Power, Ground, LH Seat Switch and MSM


Object Number: 690988  Size: FS
Master Electrical Component List
Memory Seats Description and Operation
Memory Function Switch
G301 (1 of 2)
G301 (1 of 2)
Lumbar (w/ Memory)
HTDST RF, HTDST LF DIM and MEM fuses (Rear Fuse Block)
PWR WDO and PWR SEAT Circuit Breakers (Rear Fuse Block)
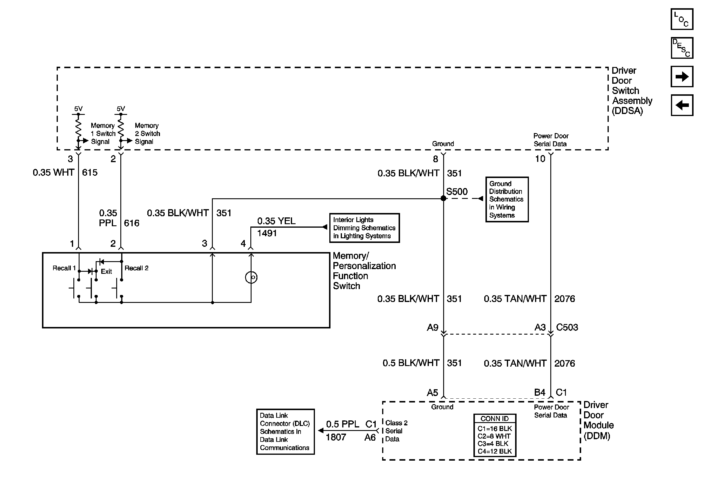
Figure 2:

Memory Function Switch


Object Number: 690995  Size: FS
Figure 3:

Verticle and Horizontal Motors and Sensors


Object Number: 691002  Size: FS
Master Electrical Component List
Memory Seats Description and Operation
Recline Motor and Sensor
Power, Ground, LH Seat Switch and MSM
Lumbar (w/ Memory)
Figure 4:

Recline Motor and Sensor


Object Number: 691012  Size: FS
Master Electrical Component List
Memory Seats Description and Operation
Vertical and Horizontal Motors and Sensors
Serial Data Class 2
Lumbar (w/ Memory)