GM Service Manual Online
For 1990-2009 cars only

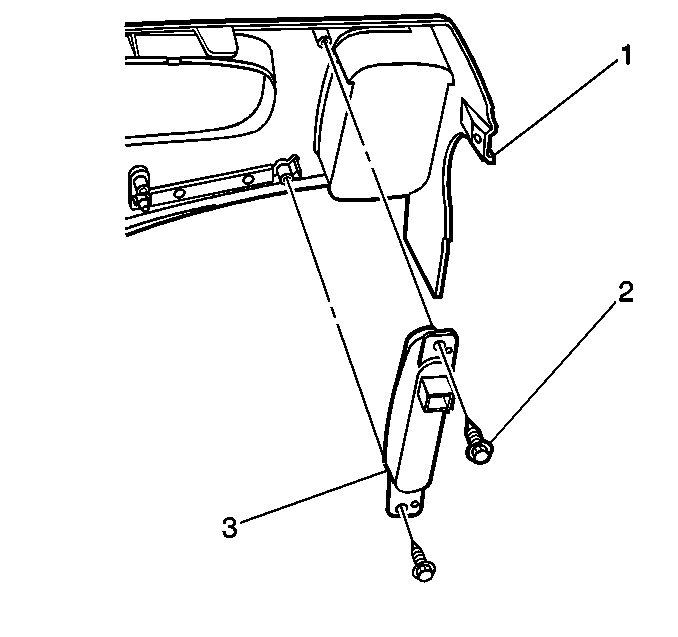
Removal Procedure


    Object Number: 262567  Size: SH
  1. Remove the IP cluster trim plate (1). Refer to Instrument Panel Cluster Trim Plate Bezel Replacement .
  2. Disconnect the electrical connector.
  3. Remove the fasteners (2) from the driver information switch.
  4. Remove the driver information center switch (3).

Installation Procedure


    Object Number: 262567  Size: SH
  1. Install the driver information center switch (3) to the IP cluster trim plate (1).
  2. Notice: Use the correct fastener in the correct location. Replacement fasteners must be the correct part number for that application. Fasteners requiring replacement or fasteners requiring the use of thread locking compound or sealant are identified in the service procedure. Do not use paints, lubricants, or corrosion inhibitors on fasteners or fastener joint surfaces unless specified. These coatings affect fastener torque and joint clamping force and may damage the fastener. Use the correct tightening sequence and specifications when installing fasteners in order to avoid damage to parts and systems.

  3. Install the fasteners (2).
  4. Tighten
    Tighten the fasteners to 2 N·m (18 lb in).

  5. Connect the electrical connector.
  6. Install the IP cluster trim plate (1). Refer to Instrument Panel Cluster Trim Plate Bezel Replacement .