GM Service Manual Online
For 1990-2009 cars only

    Important: Do not remove the lock.


    Object Number: 662893  Size: SH
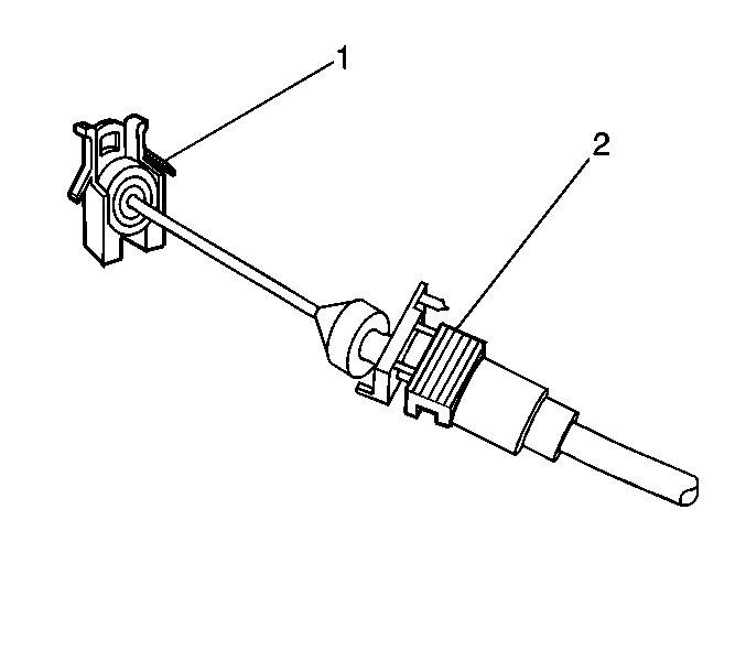
  1. Disengage the adjustment lock (1) on the cruise control cable (2) by pulling the button wings rearward. The cable will move freely in and out of the adjuster body when the lock is disengaged.

  2. Object Number: 289630  Size: SH
  3. Ensure that the throttle body is in the closed position.
  4. Ensure that the cable moves freely in the adjuster body (1). Take the slack out of the cable while the throttle body is in the closed position.

  5. Object Number: 662893  Size: SH
  6. Firmly press the adjustment lock (1) until the lock is fully seated.