GM Service Manual Online
For 1990-2009 cars only

Removal Procedure


    Object Number: 608027  Size: SH

    Caution: When working with any type of glass or sheet metal with exposed or rough edges, wear approved safety glasses and gloves in order to reduce the chance of personal injury.

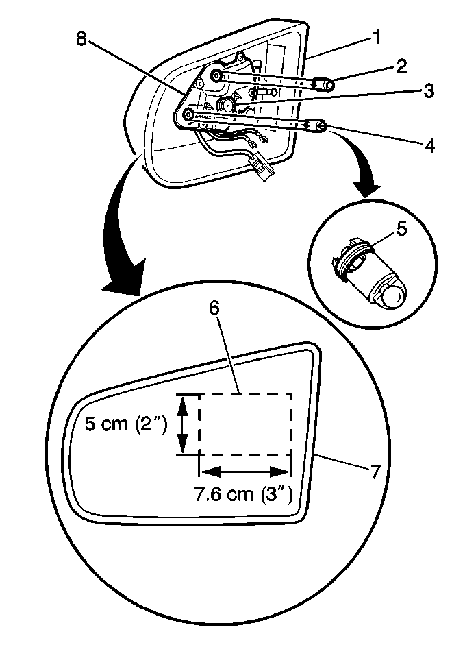
  1. Remove the mirror and plastic backing plate assembly from the mirror housing (1).
  2. 1.1. Manually tilt the mirror glass inboard towards the vehicle.
    1.2. Insert fingers behind the mirror glass assembly.
    1.3. Gently pull the assembly from the housing.
  3. Disconnect the electrical connectors.

  4. Object Number: 607958  Size: SH
  5. If one or both of the actuator shaft(s) (2) come off with the mirror glass assembly, push the actuator in the direction of one of the two slots of the molded ring where the actuator ball attaches to and disengage it from the mirror glass assembly.

  6. Object Number: 608027  Size: SH
  7. Verify that the springs (7) on the actuator shafts (8) are not pushed down on the shafts.
  8. Ensure that the springs (5) are seated in the grooves.

Installation Procedure


    Object Number: 284162  Size: MH
  1. Snap the actuator shafts into the power drive unit (8).
  2. Connect the electrical connectors.
  3. Rotate the actuator shafts in order to align the ears with the corresponding slots in the back side of the mirror face (7).
  4. Align the swivel (3) on the power drive unit (8) to the pivot points on the mirror backing plate.
  5. Notice: To avoid damaging electrochromic mirrors, yellowing and/or silver delamination, pressure must not be applied to the center of the mirror. Place a 6 x 9 cm (2 x 3 in) block of wood in the indicated target area. This will distribute pressure evenly.

  6. Hold a block against the mirror face while you perform the following procedure:
  7. 5.1. Push in on the block (6) until you hear a snap.
    5.2. Tilt the mirror (7) toward the upper actuator shaft (2).

    Apply pressure on the block until the ratchet sound stops.

    5.3. Tilt the mirror (7) toward the outside actuator shaft (4).

    Apply pressure on the block until the ratchet sound stops.

  8. Inspect the mirror for proper operation.
  9. If the mirror is not operating properly, inspect the actuator shaft alignments again.