GM Service Manual Online
For 1990-2009 cars only
Makes
🢒
Buick
🢒
2001
🢒
LeSabre
🢒
Body and Accessories
🢒
Retained Accessory Power
🢒 Retained Accessory Power (RAP) Schematics
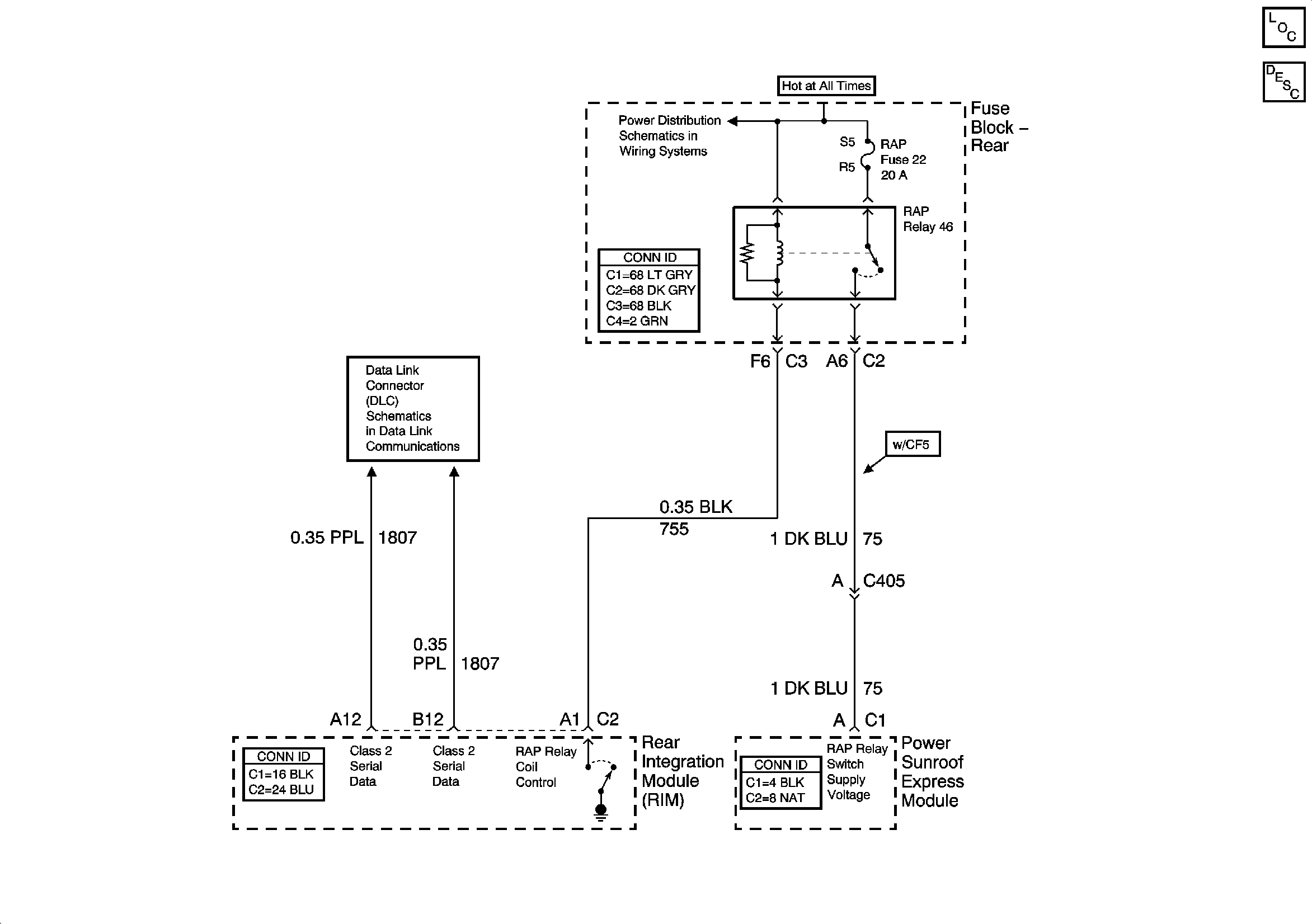
Figure
1:
Power, Ground, and Components
Master Electrical Component List
Retained Accessory Power (RAP) Description and Operation
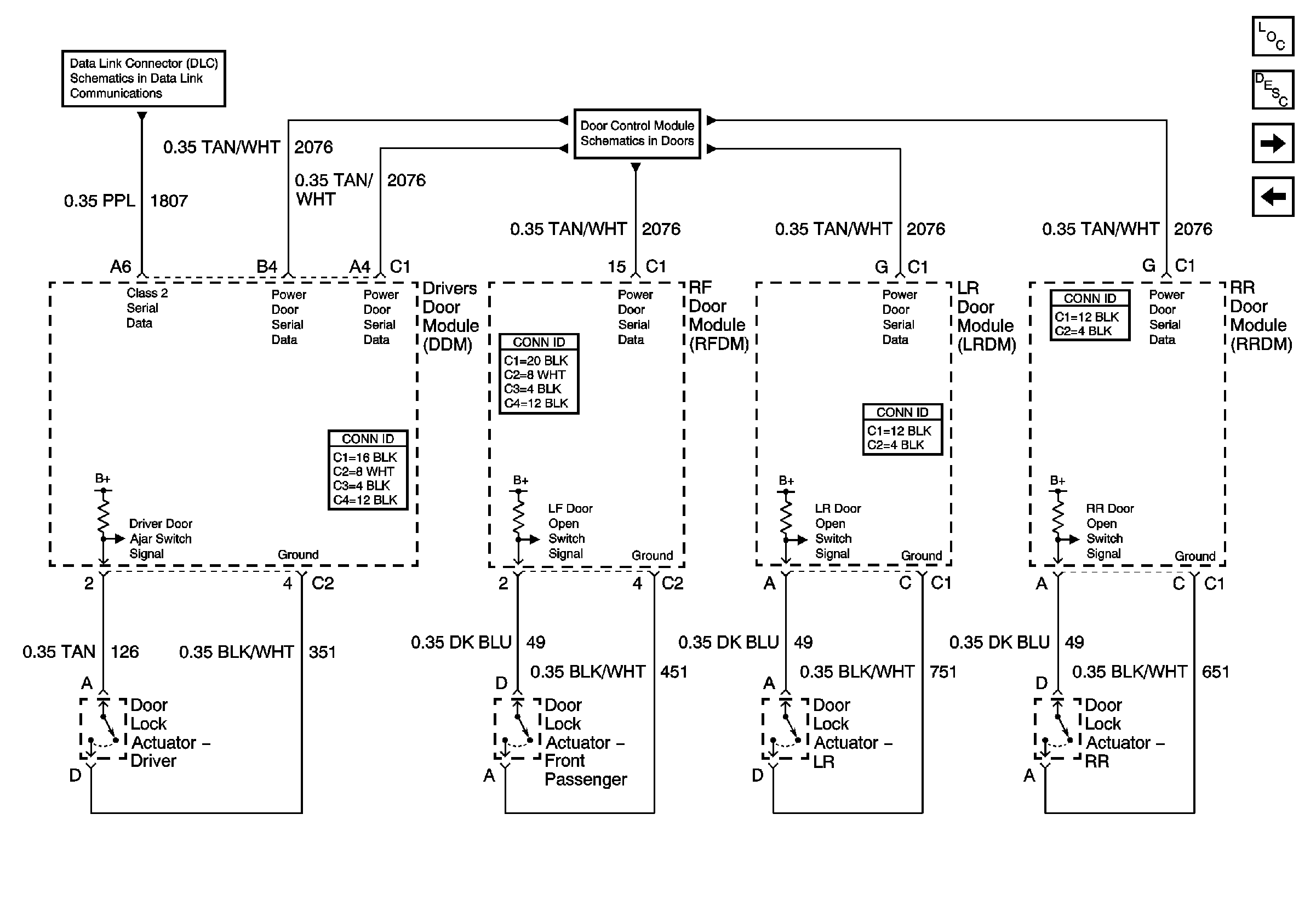
Door Jamb Switches
Serial Data Class 2
Serial Data Class 2
Figure
2:
Door Jamb Switches
Master Electrical Component List
Retained Accessory Power (RAP) Description and Operation
Dim Inputs
Power, Ground, and Components
Simple Buss Interface
Serial Data Class 2
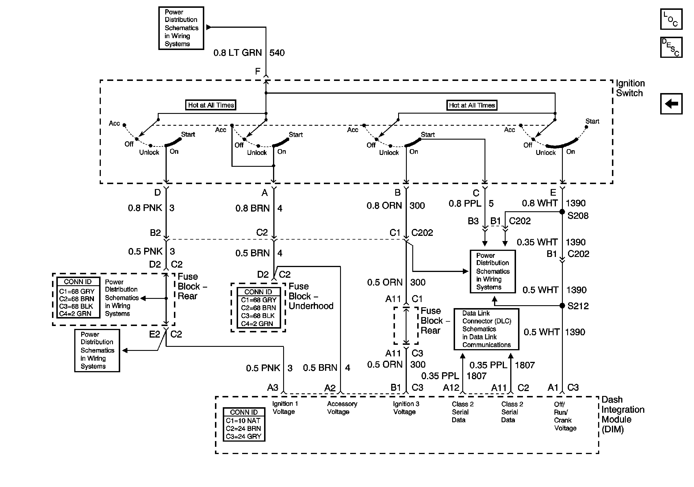
Figure
3:
Dim Inputs
Master Electrical Component List
Retained Accessory Power (RAP) Description and Operation
Door Jamb Switches
Serial Data Class 2
Ignition Switch (2 of 2)
Ignition Switch (2 of 2)
Ignition Switch (2 of 2)
IGN SW and NSBU Fuses (Rear Fuse Block)