GM Service Manual Online
For 1990-2009 cars only
Figure 1:

Lower Front of Engine


Object Number: 616308  Size: LF
(1)Knock Sensor (KS)
(2)Starter Solenoid
(3)Engine Oil Level Switch
(4)A/C Refrigerant Pressure Sensor
(5)A/C Compressor Clutch
Figure 2:

Instrument Panel


Object Number: 482167  Size: MF
(1)Instrument Panel Integration Module (IPM)
(2)Instrument Panel Integration Module (IPM) C1
(3)Instrument Panel Integration Module (IPM) C2
(4)C201
Figure 3:

Right Side of HVAC Housing


Object Number: 482181  Size: MF
(1)Blower Motor Control Processor
(2)Air Temperature Actuator - Right
(3)Recirculation Actuator
(4)Blower Motor
Figure 4:

Left Side of HVAC Housing


Object Number: 482177  Size: MF
(1)Air Temperature Actuator - Left
(2)Mode Actuator
Figure 5:

Left Side of HVAC Module


Object Number: 527043  Size: MF
(1)Aspirator
Figure 6:

Instrument Panel


Object Number: 482149  Size: MF
(1)Sunload Sensor Assembly
(2)Air Temperature Sensor - Upper Right (Behind vent in duct)
(3)HVAC Control Module
(4)Air Temperature Sensor - Inside
(5)Head Up Display (HUD) Switch
(6)Driver Information Center (DIC) Switch
(7)Headlamp Switch
(8)Hood Release
(9)Air Temperature Sensor - Lower Left (Behind the vent in the duct)
(10)Head Up Display (HUD)
(11)Instrument Panel Cluster (IPC)
Figure 7:

Left Side Foot Well


Object Number: 501982  Size: MF
(1)Air Temperature Sensor - Lower Left
(2)Footwell Courtesy Lamp - Left
Figure 8:

Right Front Door Trim Panel


Object Number: 482488  Size: MF
(1)Door Lock - Front Passenger
(2)Courtesy Lamp - Left Front Door
(3)Door Courtesy Lamp - RF
(4)Window Switch - Front Passenger
(5)HVAC Air Temperature Switch Assembly - Right
Figure 9:

Right Side Foot Well


Object Number: 501981  Size: MF
(1)Air Temperature Sensor - Lower Right
(2)Footwell Courtesy Lamp - Right
Figure 10:

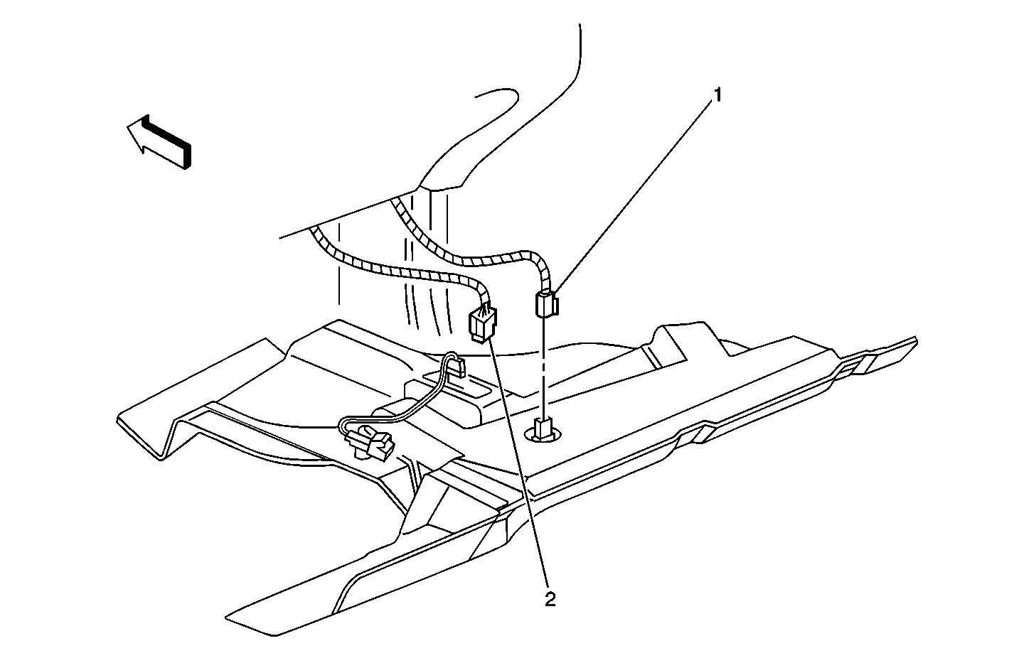
Ambient Air Temperature Sensor


Object Number: 482168  Size: MF
(1)Air Temperature Sensor - Outside