GM Service Manual Online
For 1990-2009 cars only

    Object Number: 663817  Size: SH
  1. Install NEW valve rocker arm cover grommets and use NEW valve rocker arm cover bolts if they are serviced with the grommet.
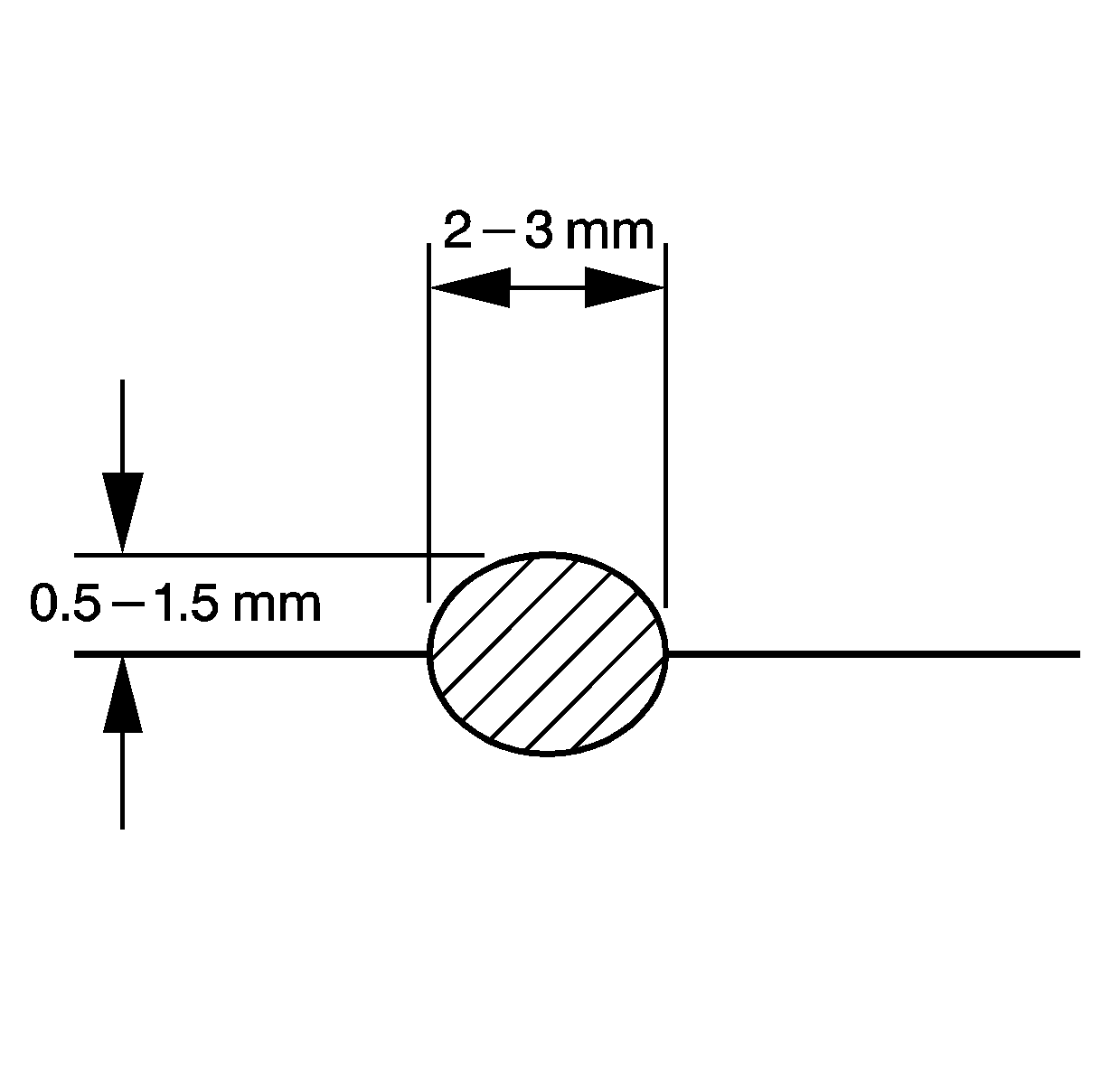
  2. Apply a 2-3 mm wide by 0.5-1.5 mm high bead of P/N 97720043 sealant to the mating surface of the upper valve rocker arm cover.

  3. Object Number: 660471  Size: SH
  4. Install the upper valve rocker arm cover.

  5. Object Number: 663904  Size: SH

    Notice: Use the correct fastener in the correct location. Replacement fasteners must be the correct part number for that application. Fasteners requiring replacement or fasteners requiring the use of thread locking compound or sealant are identified in the service procedure. Do not use paints, lubricants, or corrosion inhibitors on fasteners or fastener joint surfaces unless specified. These coatings affect fastener torque and joint clamping force and may damage the fastener. Use the correct tightening sequence and specifications when installing fasteners in order to avoid damage to parts and systems.

  6. Install the upper valve rocker arm cover screws.
  7. Tighten
    Tighten the upper valve rocker arm cover screws in the proper sequence to 8 N·m (71 lb in).