GM Service Manual Online
For 1990-2009 cars only

    Object Number: 49390  Size: SH
  1. Install the 2-3 accumulator valve (344), the 2-3 accumulator valve spring (346) and the 2-3 accumulator valve bore plug (343) into the 2-3 accumulator valve bushing (345).
  2. Install the 2-3 accumulator valve bore plug retainer (342) in the 2-3 accumulator valve bushing (345), into the slot indicated.
  3. Install the 3-4 accumulator valve spring (340), the 3-4 accumulator valve (341) and the 2-3 accumulator valve bushing (345) into the control valve body (301).
  4. Hold the 2-3 accumulator valve bushing assembly (345) in the control valve body (301). Install the 2-3 accumulator valve bushing assembly retainer (385) into the slot indicated.

  5. Object Number: 49388  Size: SH
  6. Install the 1-2 accumulator valve spring (351), the 1-2 accumulator valve (350) and the 1-2 accumulator valve bore plug (339) into the control valve body (301).
  7. Hold the 1-2 accumulator valve bore plug (339) in the control valve body (301). Install the 1-2 accumulator valve retainer (314A) into the control valve body (301).

  8. Object Number: 49387  Size: SH
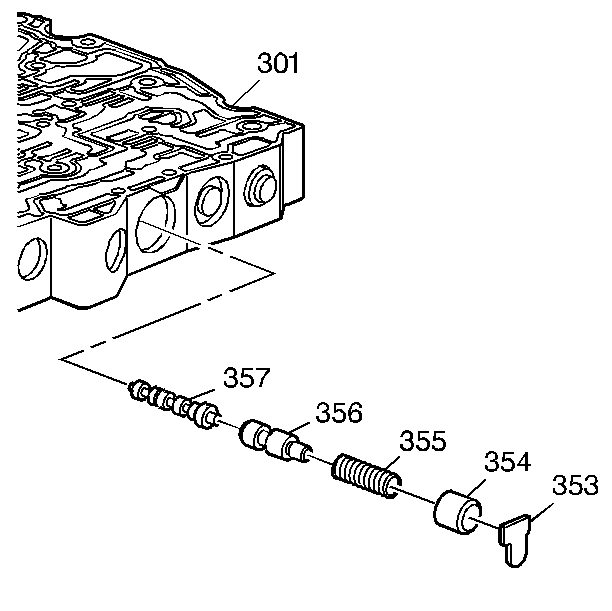
  9. Install the 2-3 shift valve (357), the 3-2 manual downshift valve (356), the 3-2 manual downshift valve spring (355) and the 3-2 manual downshift valve bore plug (354) into the control valve body (301).
  10. Hold the 3-2 manual downshift valve bore plug (354) in the control valve body (301). Install the 3-2 manual downshift valve retainer (353) into the control valve body (301).

  11. Object Number: 49386  Size: SH
  12. Install the 3-4 shift valve (362), the 4-3 manual downshift valve spring (361), the 4-3 manual downshift valve (360) and the 4-3 manual downshift valve bore plug (359) into the control valve body (301).
  13. Hold the 4-3 manual downshift valve bore plug (359) in the control valve body (301). Install the 4-3 manual downshift valve retainer (314B) into the control valve body (301).

  14. Object Number: 49385  Size: SH
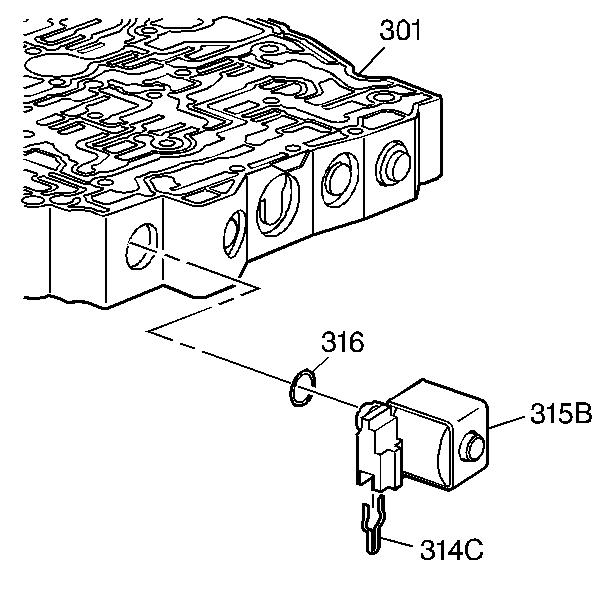
  15. Install a new O-ring seal (316) onto the 2-3 shift solenoid (SS) valve (315B), if it was removed.
  16. Install the 2-3 SS valve (315B) into the control valve body (301).
  17. Install the 2-3 shift solenoid valve retainer (314C) into the control valve body (301).

  18. Object Number: 49383  Size: SH
  19. Install the reverse and forward servo boost valves (367A/B) and springs (366A/B) into the control valve body (301).
  20. Compress the springs (366A/B) and install the bore pins (363A/B) into their holes in the control valve body (301).
  21. Using a pin punch and a hammer, drive the reverse and forward servo boost valve bore pins (363A/B) into the control valve body (301).

  22. Object Number: 49381  Size: SH
  23. Install the TCC regulator apply valve bore plug O-ring seal (328) onto the TCC regulator apply valve bore plug (329).
  24. Install the TCC regulator apply valve spring (326), the TCC regulator apply valve (327) and the TCC regulator apply valve bore plug (329) into the control valve body (301).
  25. Hold the TCC regulator apply valve bore plug (329) in the control valve body (301). Install the TCC regulator apply valve bore plug retainer (314G) into the control valve body (301).

  26. Object Number: 49380  Size: SH
  27. Install new O-ring seals (305, 306) onto the TCC PWM solenoid valve (334) if they had been removed.
  28. Install the TCC control valve spring (336), the TCC control valve (335) and the TCC PWM solenoid valve (334) into the control valve body (301).
  29. Hold the TCC PWM solenoid valve (334) in the control valve body (301). Install the TCC PWM solenoid valve retainer (314F) into the control valve body (301).

  30. Object Number: 49379  Size: SH
  31. Install the line pressure relief valve (324) and the line pressure relief valve spring (323) into the control valve body (301).
  32. Compress the line pressure relief valve spring (323) into the control valve body (301). Install the line pressure relief valve spring retainer (325) into the control valve body (301).

  33. Object Number: 49378  Size: SH
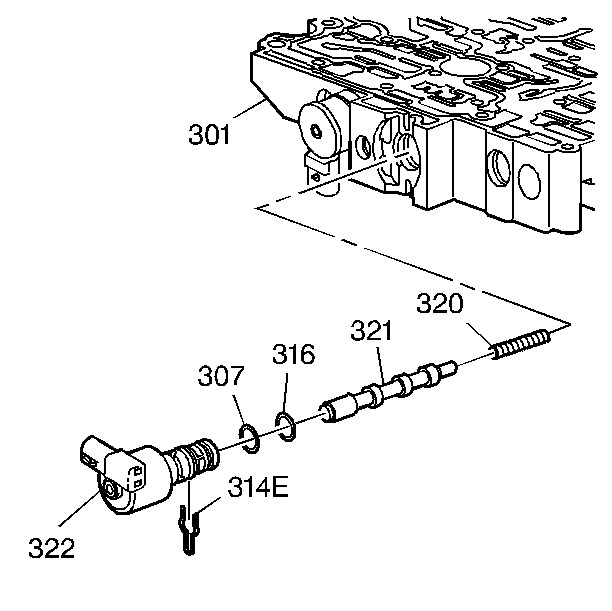
  34. Install new O-ring seals (307, 316) onto the pressure control (PC) solenoid valve  (322), if they had been removed.
  35. Install the torque signal regulator valve spring (320), the torque signal regulator valve (321) and the PC solenoid valve (322) into the control valve body (301).
  36. Hold the PC solenoid valve (322) in the control valve body (301). Install the pressure control solenoid valve retainer (314E) into the control valve body (301).

  37. Object Number: 49377  Size: SH
  38. Install a new O-ring seal (316) onto the 1-2, 3-4 shift solenoid (SS) valve (315A), if it was removed.
  39. Install the 1-2 shift valve spring (317), the 1-2 shift valve (318) and the 1-2, 3-4 SS valve (315A) into the control valve body (301).
  40. Hold the 1-2, 3-4 SS valve (315A) in the control valve body (301). Install the 1-2, 3-4 shift solenoid valve retainer (314D) into the control valve body (301).

  41. Object Number: 49376  Size: SH
  42. Install the reverse boost valve (310), the line boost valve (304) and the line boost valve bore plug (303) into the reverse boost valve bushing (309).
  43. Install the pressure regulator valve (313), the pressure regulator valve outer and inner springs (311, 312) and the reverse boost valve bushing assembly (309) into the control valve body (301).
  44. Hold the reverse boost valve bushing assembly (309) in the control valve body (301). Install the line boost valve and bushing retainer (302) into the control valve body (301).